PRODUCTS
- 首頁
- 產品介紹
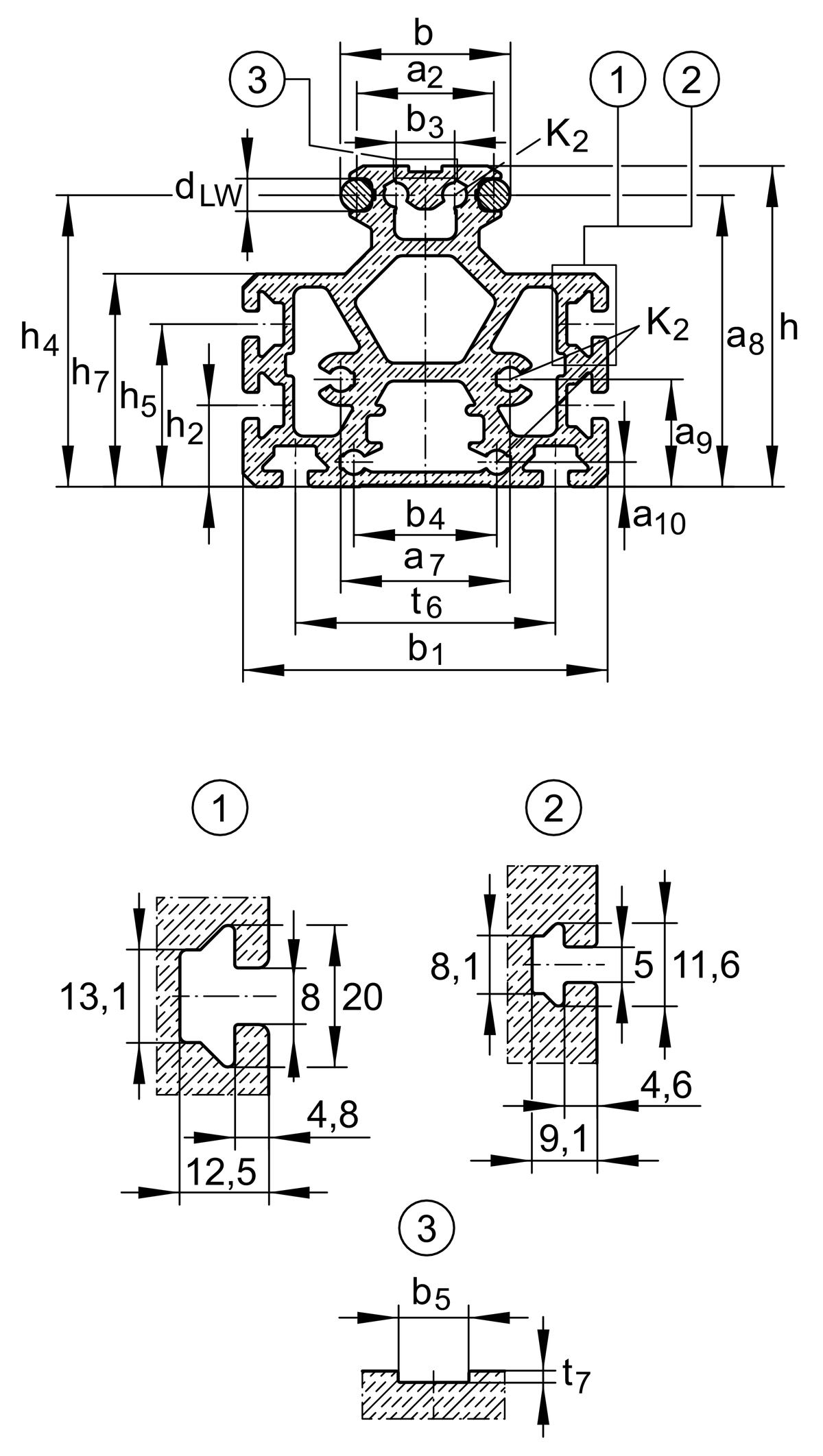
| h | 46 mm | 高度 |
| b | 25 mm | 寬度 |
| lmax | 4,000 mm | Length maximum 1 |
| ly | 314,429 mm⁴ | Second moment of area |
| lz | 186,693 mm⁴ | Second moment of area |
| LFQ | 1,156 mm² | Cross-sectional area 2 |
| Wy | 11,230 mm³ | Wider resistance torque |
| Wz | 9,623 mm³ | Wider resistance torque |
| a2 | 19 mm | Distance |
| b1 | 56 mm | 寬度 |
| b5 | 5.2 mm | 寬度 |
| dLW | 6 mm | Diameter |
| eZ | 19.4 mm | Distance |
| h2 | 22 mm | 高度 |
| h4 | 41.6 mm | 高度 |
| h7 | 31.5 mm | 高度 |
| K2 | 4.65 mm | Diameter |
| t6 | 30 mm | 深度 |
| t7 | 1.6 mm | 深度 |
| Size code | 25 | |
| Design | M | hollow section profile, with fixing slots |