PRODUCTS


INA
RUDS45X225-D-H
Damping carriage for linear recirculationg roller bearing and guideway assembly RUDS45X225-D-H
加入詢價
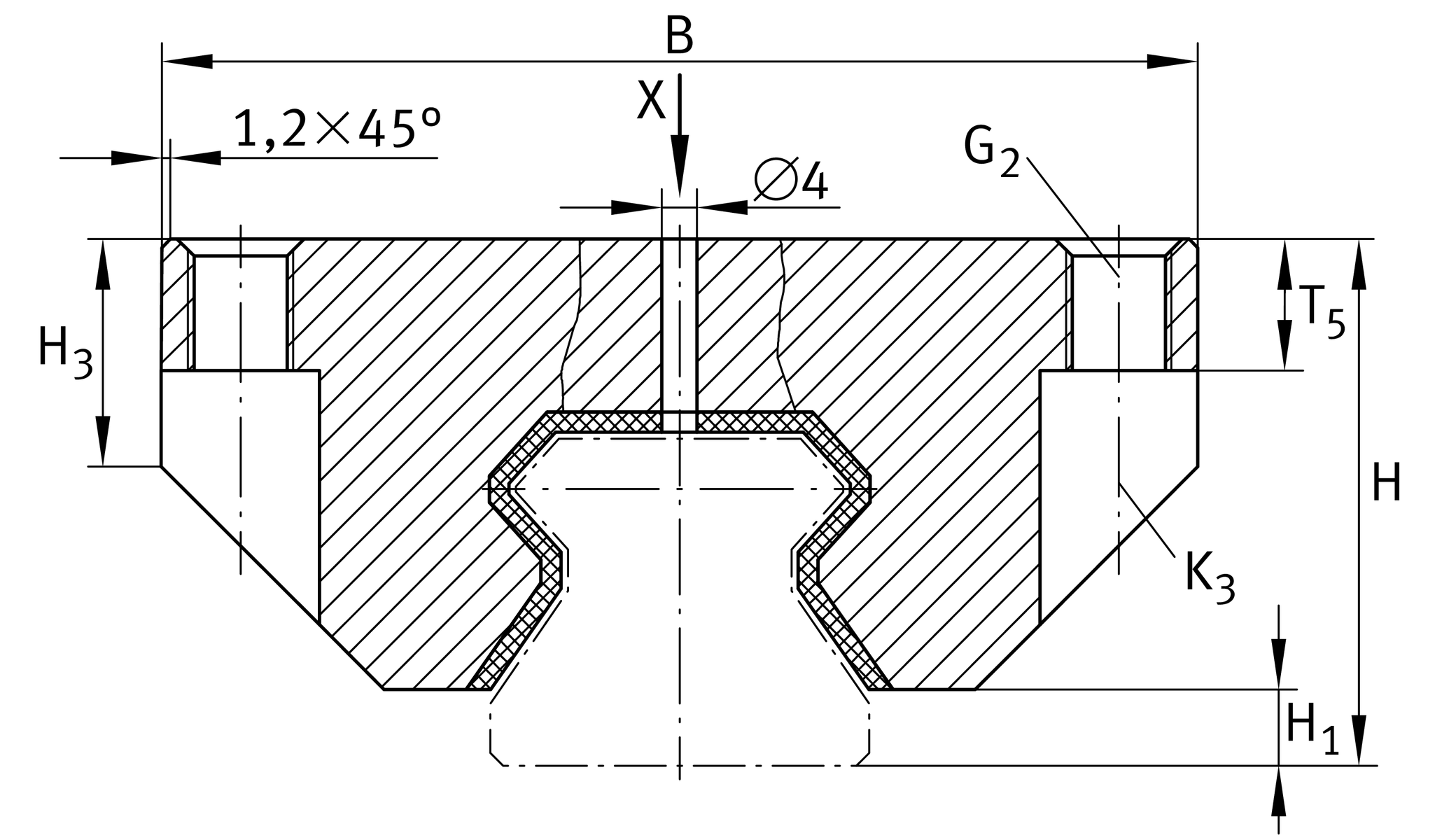
主要尺寸與性能資料
H
70 mm
高度
B
84 mm
寬度
L2
225
standard length 2 1
≈m
6.76 kg
重量

安裝尺寸
H1
10.7 mm
T5
12 mm
H3
53 mm
JB
60 mm
A1
37.5 mm
A2
75 mm
JL
75 mm
G2
M10
fixing screws 2
G2 MA
83 Nm
tightening torque 3
n
6
number of fixing threads

Related products
RUE45-E-H, RUE45-E-HL, RUE45-F-H, RUE45-F-HL
suitable linear guidances

您目前的產品型號
Size code45
Length225standardlength 2
SuffixD
VersionHhigh version
加入詢價