PRODUCTS


INA
RUDS35X150-D-H
Damping carriage for linear recirculationg roller bearing and guideway assembly RUDS35X150-D-H
加入詢價
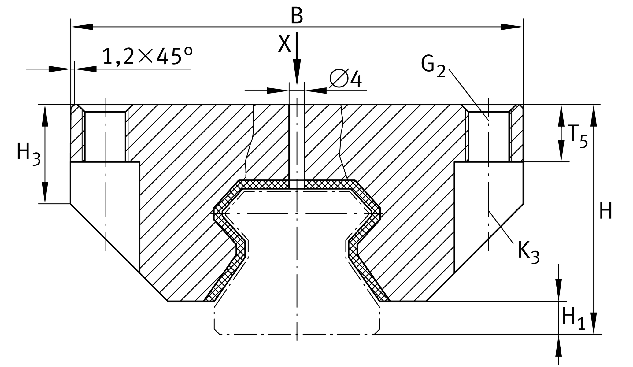
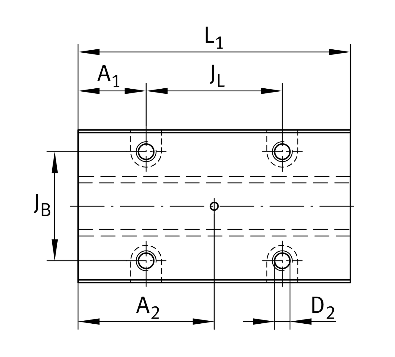
主要尺寸與性能資料
H
55 mm
高度
B
68 mm
寬度
L1
150
standard length 1 1
≈m
2.796 kg
重量

安裝尺寸
H1
8.8 mm
T5
12 mm
H3
41 mm
JB
50 mm
A1
37.5 mm
A2
75 mm
JL
75 mm
G2
M8
fixing screws 2
G2 MA
42.2 Nm
tightening torque 3
n
4
number of fixing threads

Related products
RUE35-E-H, RUE35-E-HL, RUE35-F-H, RUE35-F-HL
suitable linear guidances

您目前的產品型號
Size code35
Length150standardlength 1
SuffixD
VersionHhigh version
加入詢價