PRODUCTS


INA
RUDS25X225-D-H
Damping carriage for linear recirculationg roller bearing and guideway assembly RUDS25X225-D-H
加入詢價
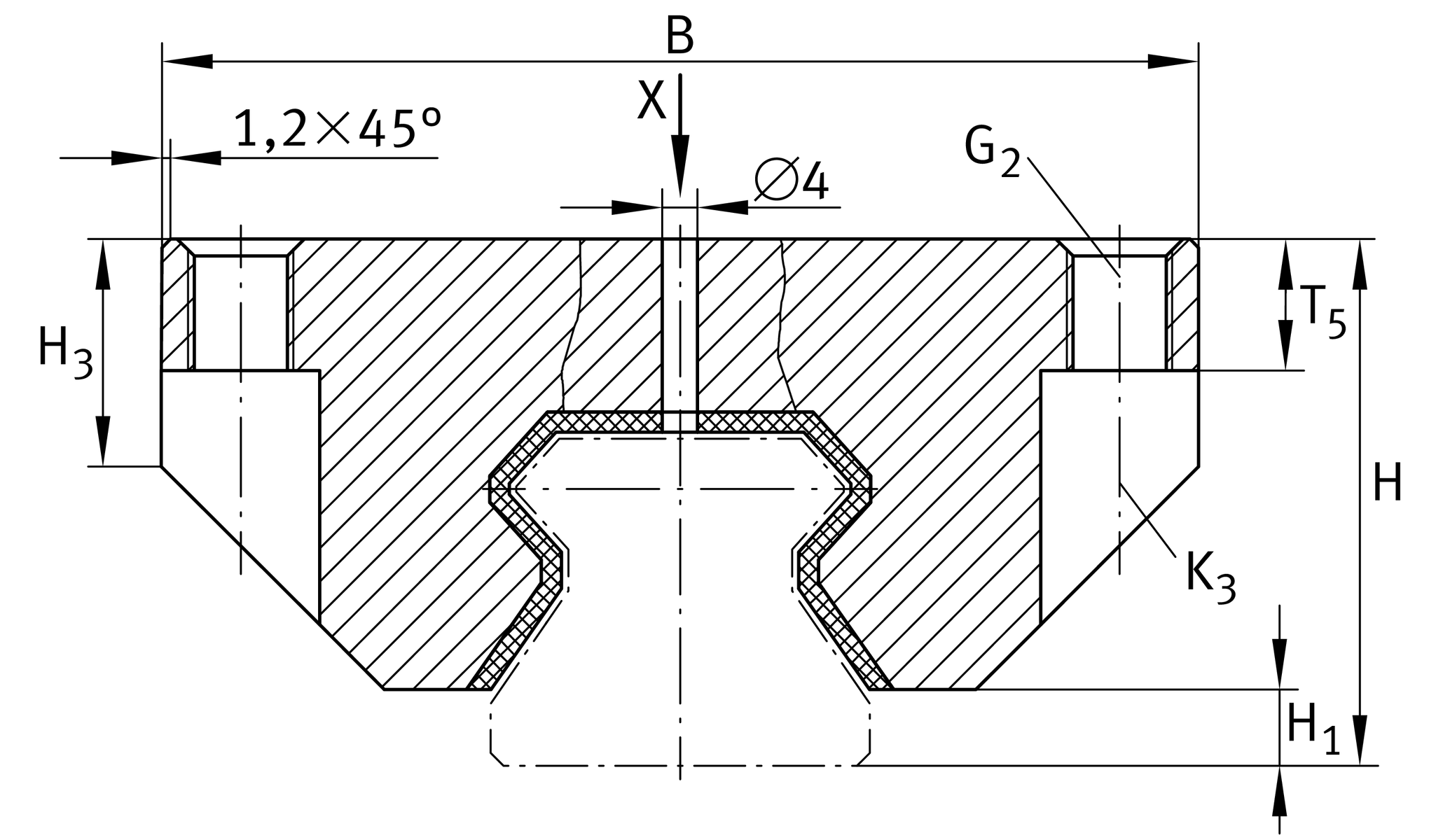
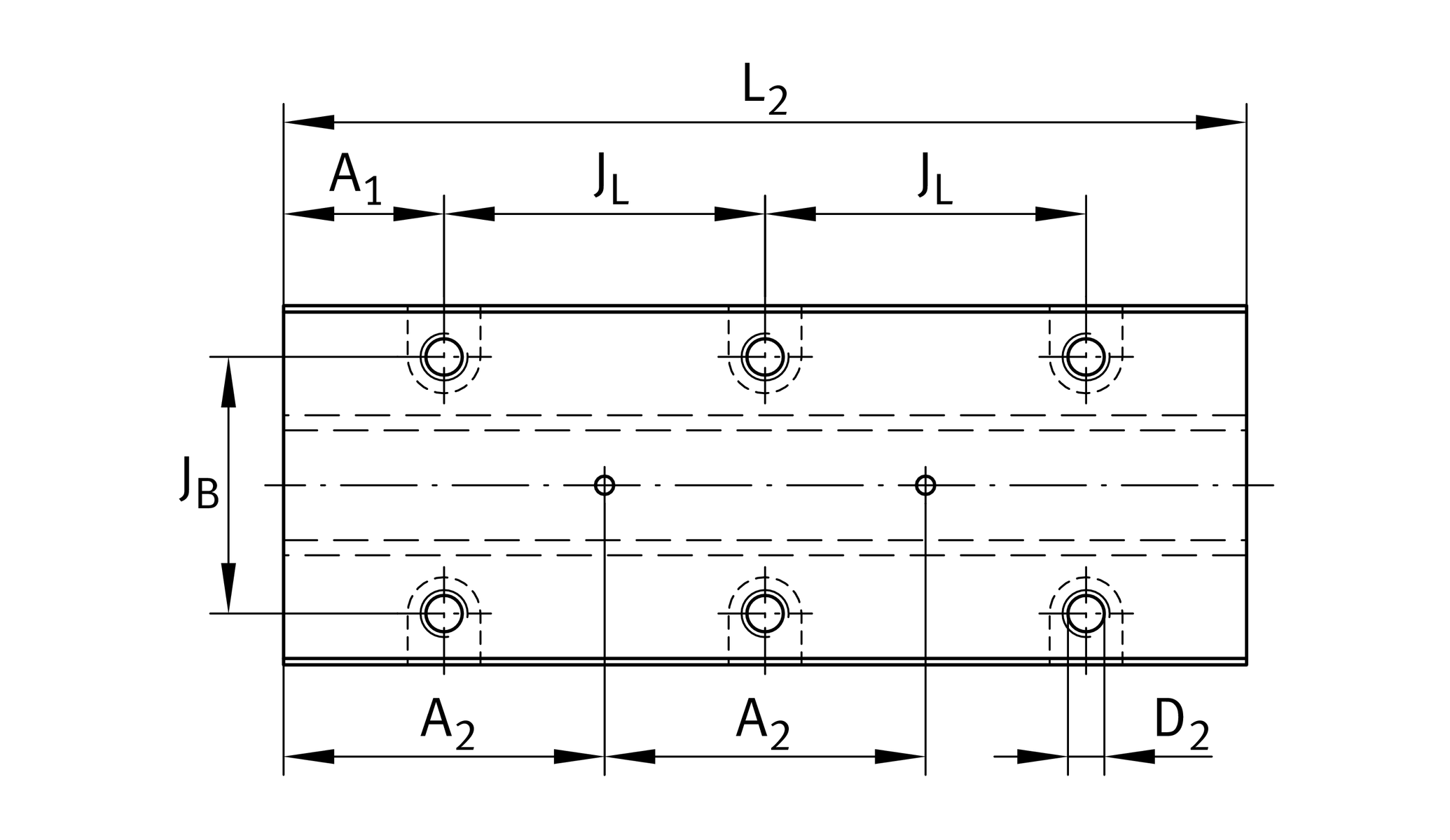
主要尺寸與性能資料
H
40 mm
高度
B
47 mm
寬度
L2
225
standard length 2 1
≈m
2 kg
重量

安裝尺寸
H1
7.2 mm
T5
9 mm
H3
29.5 mm
JB
35 mm
A1
37.5 mm
A2
75 mm
JL
75 mm
G2
M6
fixing screws 2
G2 MA
17.4 Nm
tightening torque 3
n
6
number of fixing threads

Related products
RUE25-E-H, RUE25-E-HL, RUE25-F-H, RUE25-F-HL
suitable linear guidances

您目前的產品型號
Size code25
Length225standardlength 2
SuffixD
VersionHhigh version
加入詢價