PRODUCTS
- 首頁
- 產品介紹
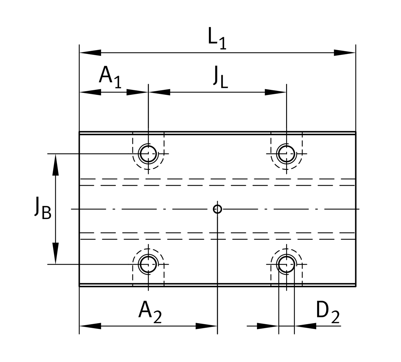
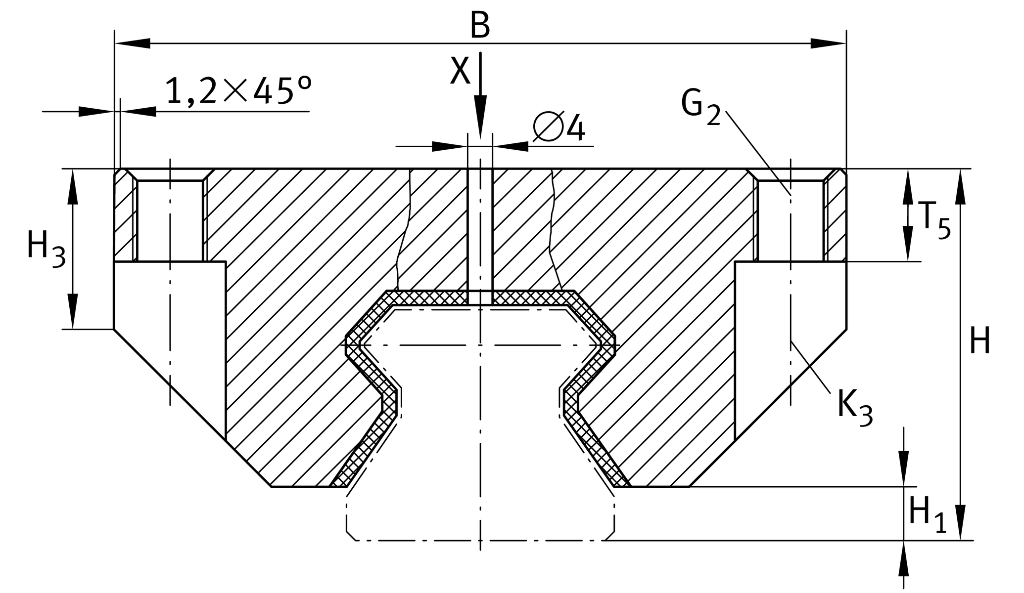
| H | 36 mm | 高度 |
| B | 68 mm | 寬度 |
| L1 | 150 | standard length 1 1 |
| ≈m | 1.15 kg | 重量 |
| H1 | 7.2 mm | |
| T5 | 10 mm | |
| H3 | 18 mm | |
| JB | 57 mm | |
| A1 | 37.5 mm | |
| A2 | 75 mm | |
| JL | 75 mm | |
| G2 | M8 | fixing screws 2 |
| G2 MA | 42.2 Nm | tightening torque 3 |
| K3 | M6 | fixing screws 4 |
| K3 MA | 17.4 Nm | tightening torque 3 |
| n | 4 | number of fixing threads |
| D2 | 6.7 mm |
RUE25-E, RUE25-E-L, RUE25-F, RUE25-F-L | suitable linear guidances |
| Size code | 25 | |
| Length | 150 | standardlength 1 |
| Suffix | D |