PRODUCTS


FAG
BND3284-Z-Y-BF-D
Housing body BND3284-Z-Y-BF-D
加入詢價
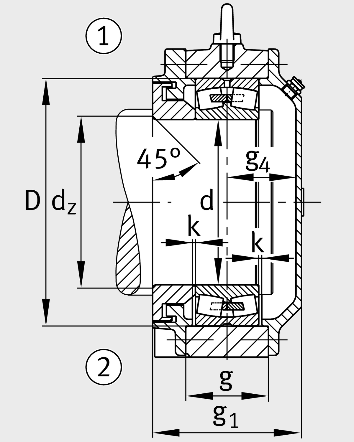
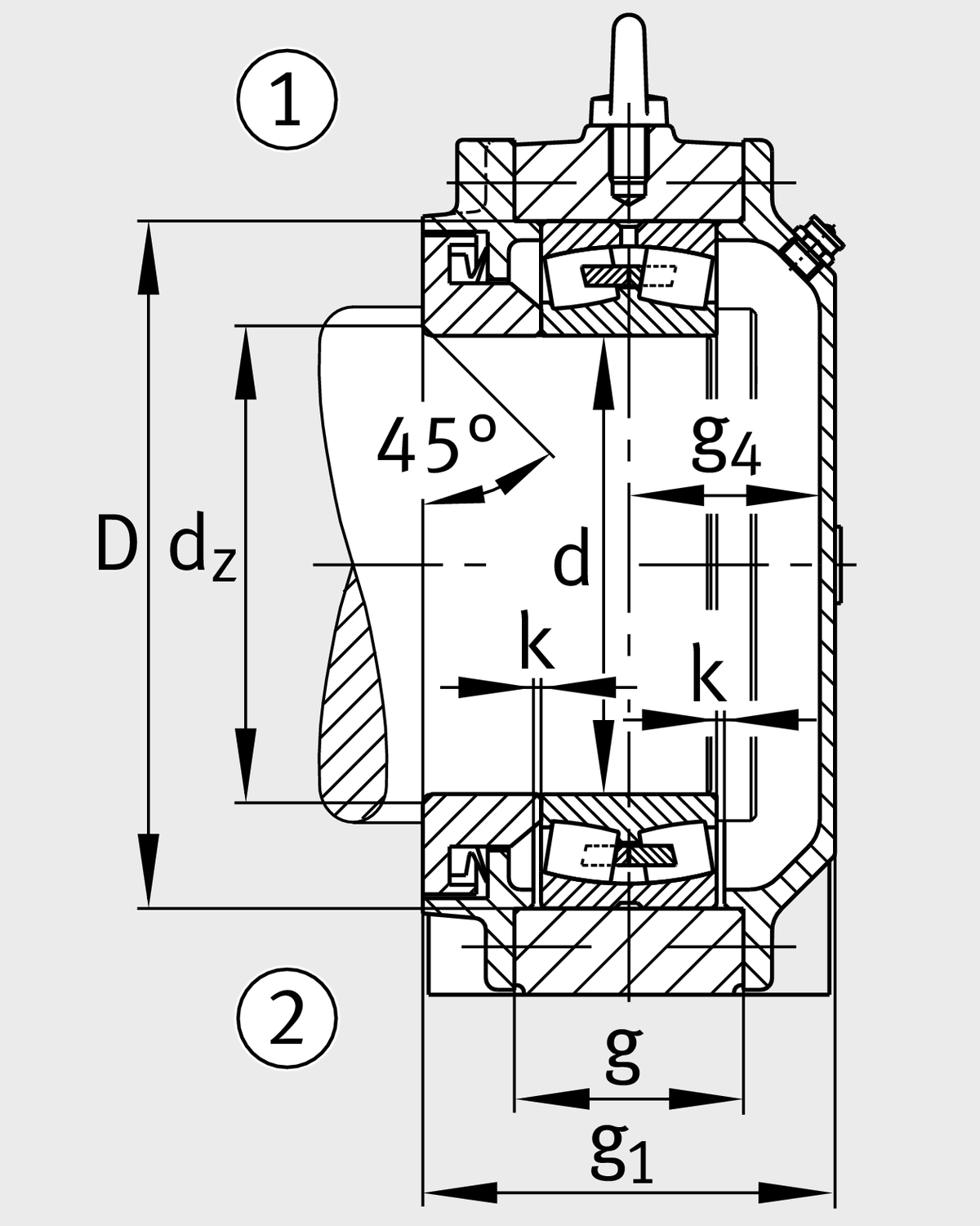
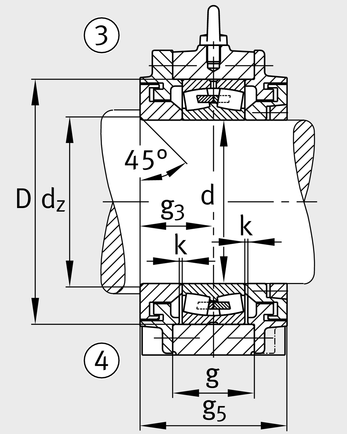
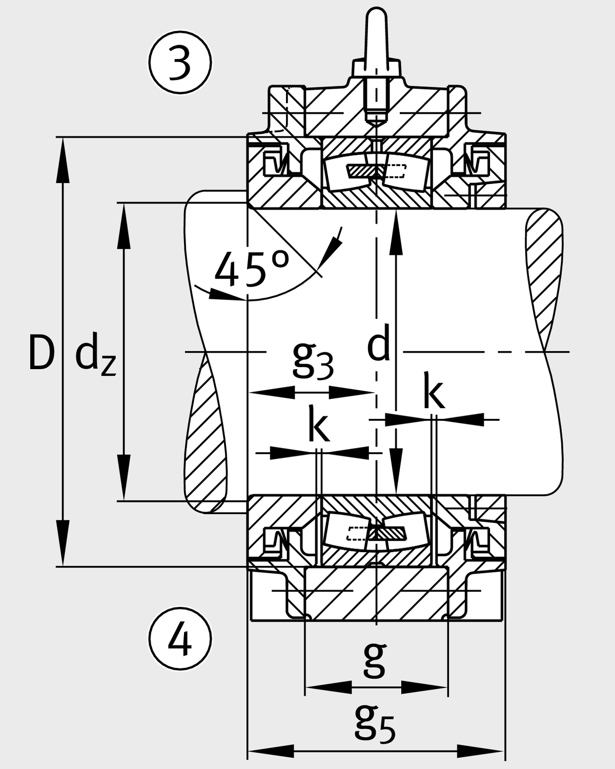
主要尺寸與性能資料
d1
420 mm
Shaft diameter
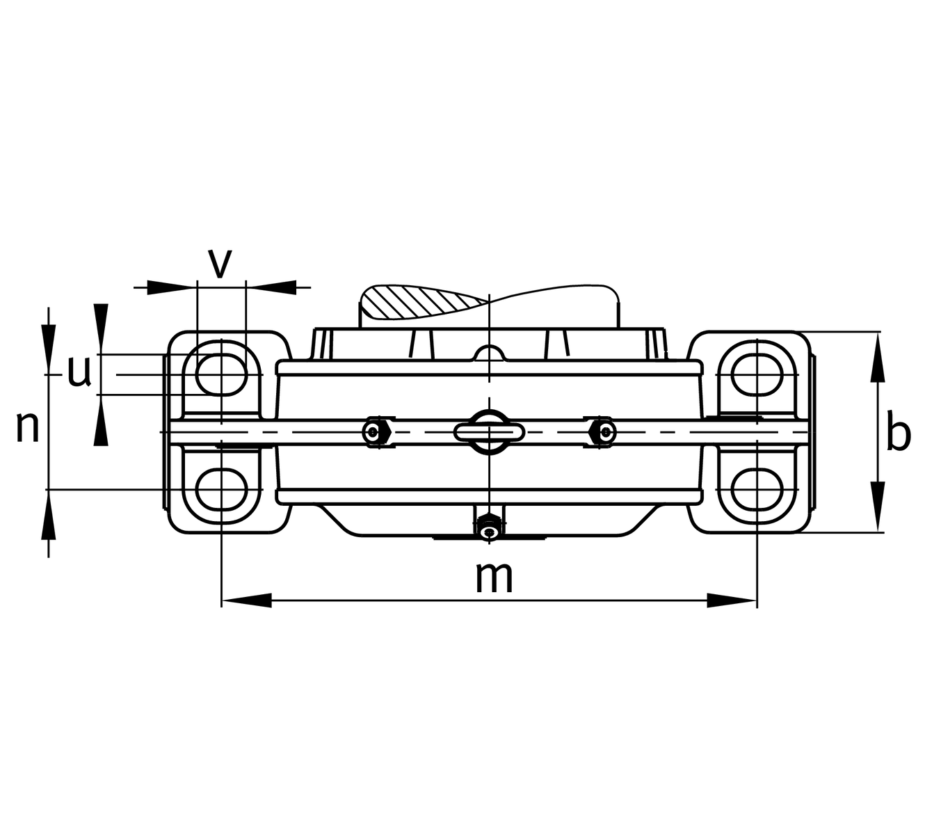
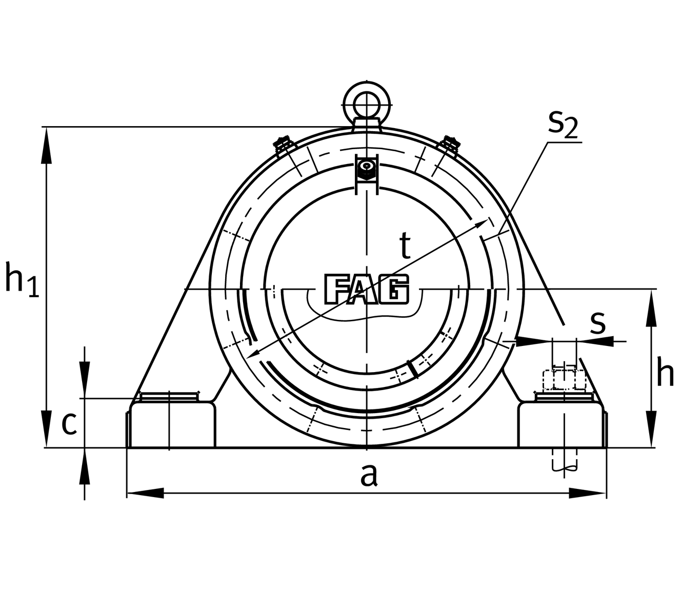
a
1,500 mm
Length base
h1
950 mm
Total height
g1
510 mm
Total width with lid g1
g5
510 mm
Total width with lid g5
≈m
1,240 kg
重量

尺寸
45 °
Champfer angle
b
470 mm
Width base
c
150 mm
Height base foot
D
760 mm
外徑
dc
450 mm
Champfer diameter c
g
315 mm
Width 軸承座 body
g3
255 mm
Locking collar width g3
g4
240 mm
Locking collar width g4
h
470 mm
Distance shaft axis
k
5 mm
軸向位移
m
1,220 mm
固定內孔距離
n
255 mm
Bore distance width
s
M64
Size of fixing screws
s2
M30
Thread 固定內徑
s2
8
螺絲孔數
t
835 mm
Pitch circle dia fixing holes
u
72 mm
Width oblong holes
v
90 mm
Lenght oblong hole

附加資訊
23284
軸承型號

溫度範圍
Tmin
-20 °C
最低工作溫度
Tmax
100 °C
最高操作溫度
加入詢價