PRODUCTS
- 首頁
- 產品介紹
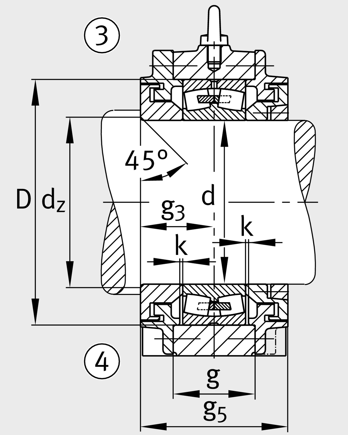
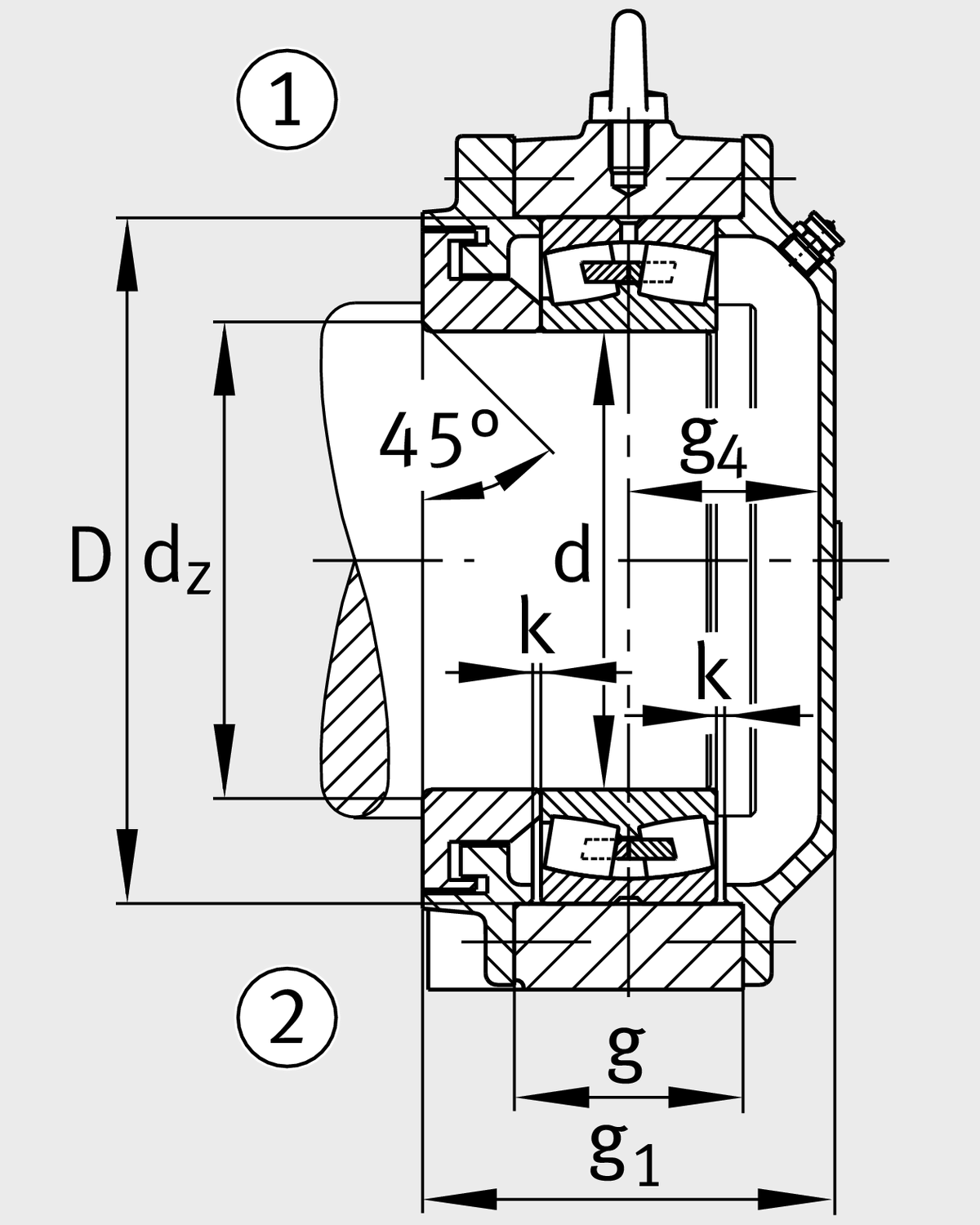
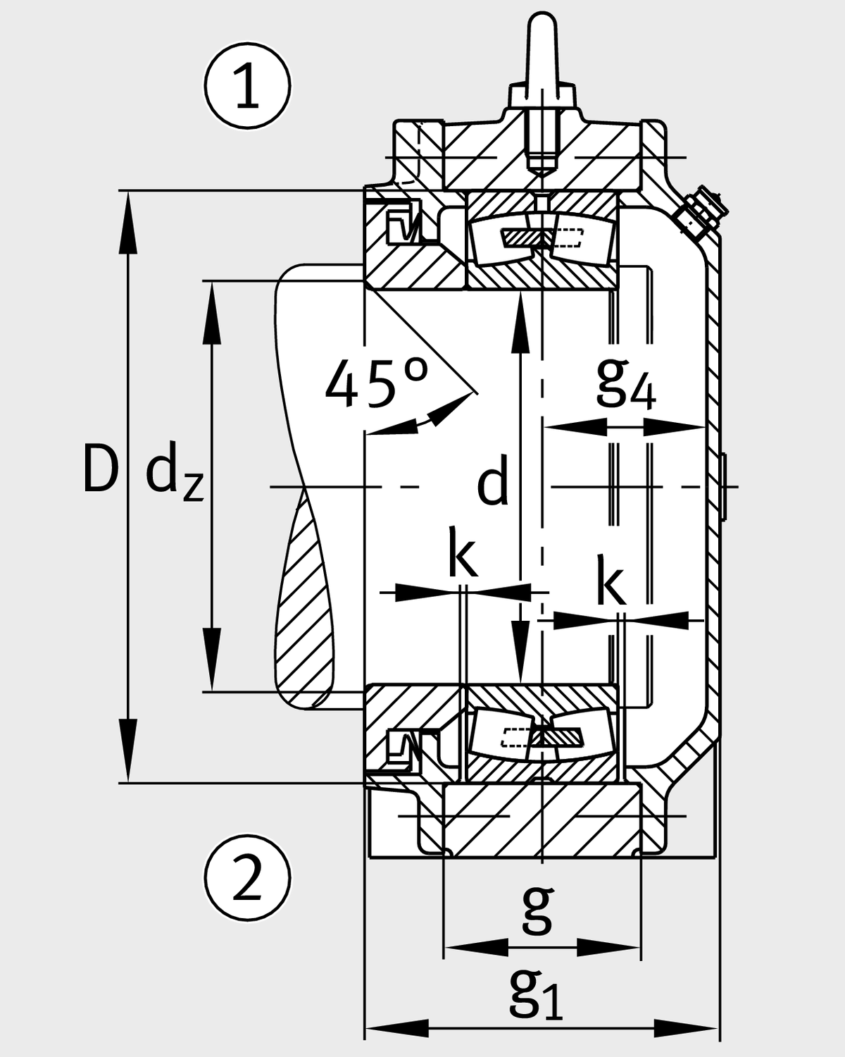
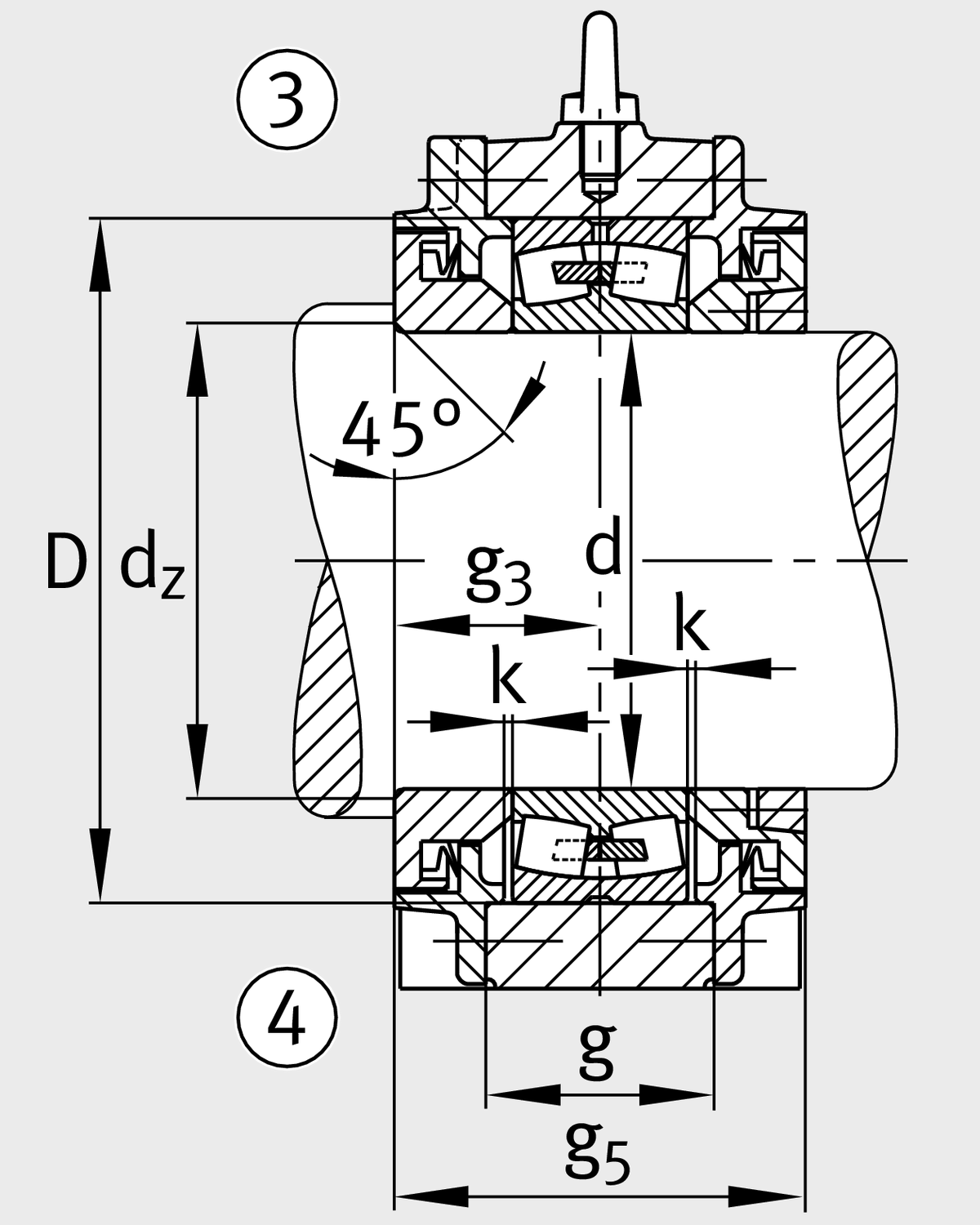
| d1 | 420 mm | Shaft diameter |
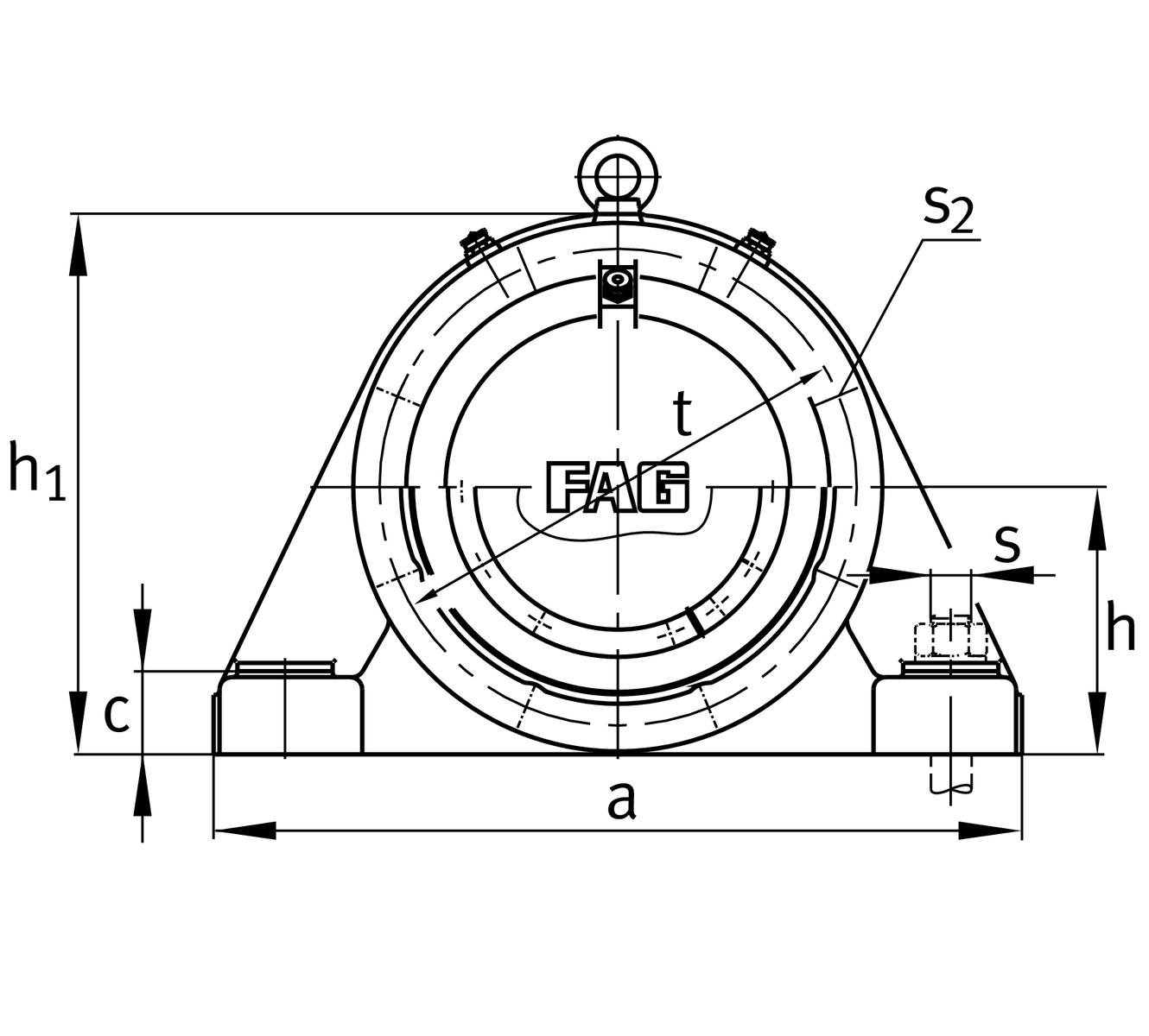
| a | 1,500 mm | Length base |
| h1 | 950 mm | Total height |
| g1 | 510 mm | Total width with lid g1 |
| g5 | 510 mm | Total width with lid g5 |
| ≈m | 1,240 kg | 重量 |
45 ° | Champfer angle | |
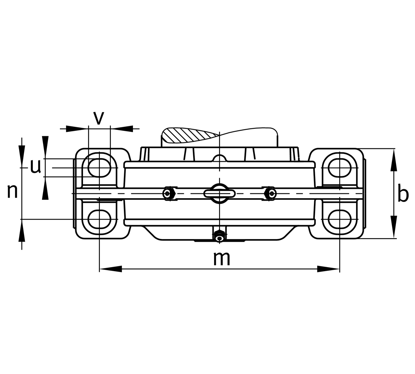
| b | 470 mm | Width base |
| c | 150 mm | Height base foot |
| D | 760 mm | 外徑 |
| dc | 450 mm | Champfer diameter c |
| g | 315 mm | Width 軸承座 body |
| g3 | 255 mm | Locking collar width g3 |
| g4 | 240 mm | Locking collar width g4 |
| h | 470 mm | Distance shaft axis |
| k | 5 mm | 軸向位移 |
| m | 1,220 mm | 固定內孔距離 |
| n | 255 mm | Bore distance width |
| s | M64 | Size of fixing screws |
| s2 | M30 | Thread 固定內徑 |
| s2 | 8 | 螺絲孔數 |
| t | 835 mm | Pitch circle dia fixing holes |
| u | 72 mm | Width oblong holes |
| v | 90 mm | Lenght oblong hole |
23284 | 軸承型號 |
| Tmin | -20 °C | 最低工作溫度 |
| Tmax | 100 °C | 最高操作溫度 |