PRODUCTS
- 首頁
- 產品介紹
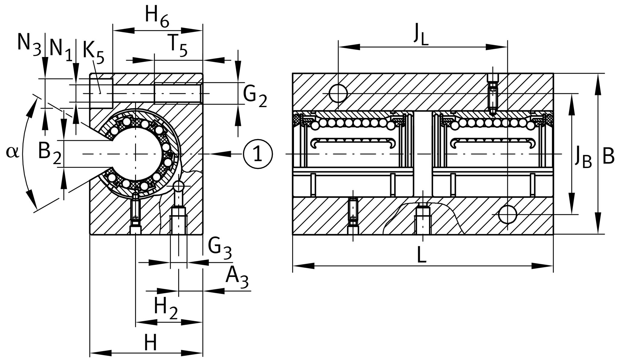
| FW | 50 mm | Diameter of ball complement |
| H | 88 mm | heigth |
| L | 224 mm | 長度 |
| B | 130 mm | 寬度 |
| C | 13,200 N | load capacity dyn. C 1 |
| C0 | 14,500 N | load capacity stat. C0 1 |
| ≈m | 5.95 kg | 重量 |
| JB | 100 mm | |
| Tol JB | +0,15 | 公差上限 |
| Tol JB | -0,15 | 較低的公差 |
| B2 | 22.7 mm | 2 |
| JL | 125 mm | 3 |
| Tol JL | +0,15 | 公差上限 |
| Tol JL | -0,15 | 較低的公差 |
| H2 | 50 mm | Center Height |
| Tol H2 | +0,015 | 公差上限 |
| Tol H2 | -0,015 | 較低的公差 |
| A3 | 14 mm | |
| T5 | 34 mm | |
| H6 | 77 mm | |
| N1 | 13 mm | |
| N3 | 20 mm | |
| G2 | M16 | 螺紋尺寸 |
| G3 | M8x1 | 螺紋尺寸 |
| α | 54 ° | Angle |
| K5 | M12 | Screw DIN 6912 |
| Size code | 50 | |
| Seal | PP | |
| Relubrication feature | AS |