PRODUCTS
- 首頁
- 產品介紹
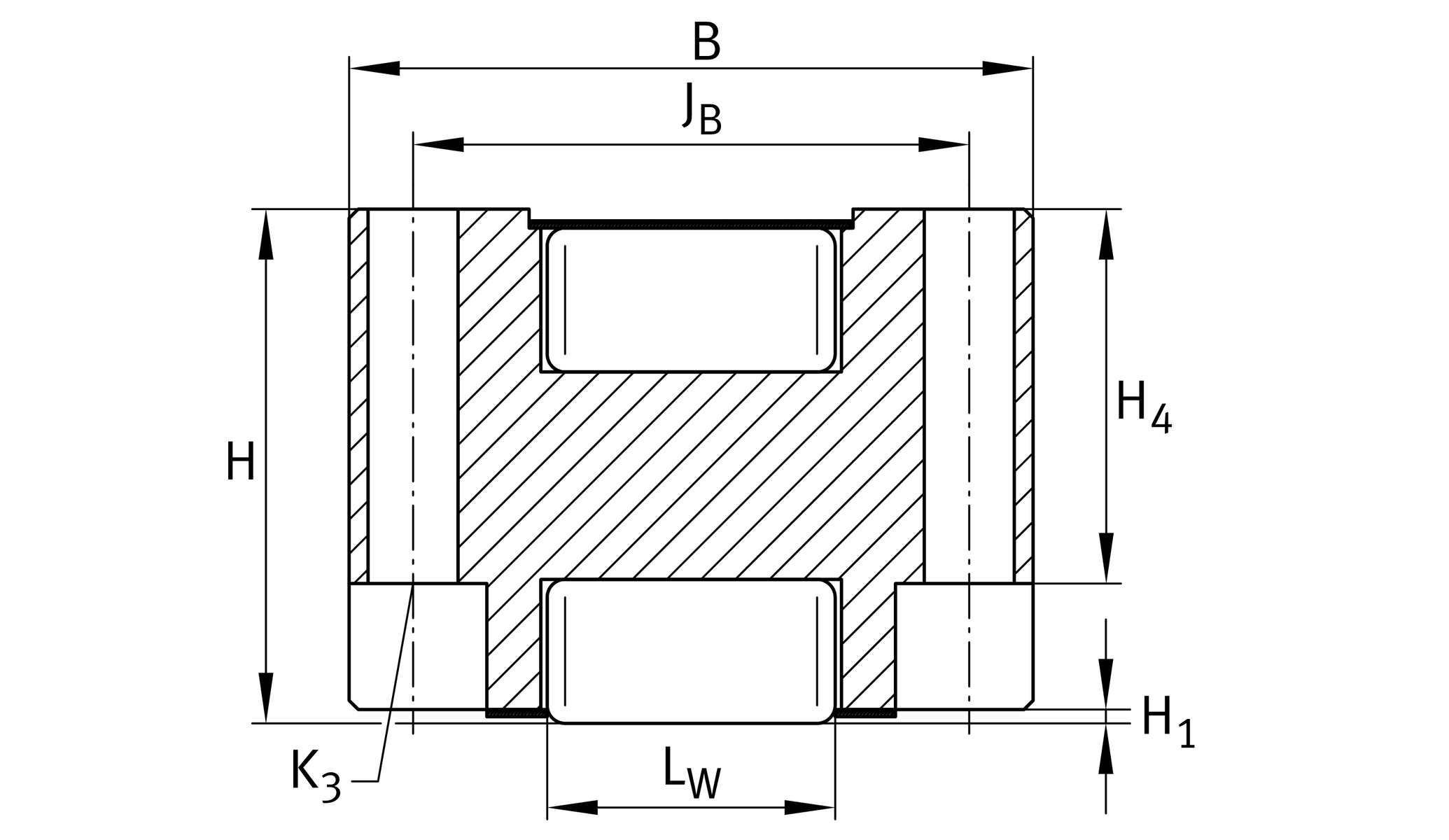
| L | 96.4 mm | |
| B | 38.1 mm | 寬度 |
| H | 28.6 mm | 高度 |
| C | 107,000 N | Load capacity Dynamic |
| C0 | 175,000 N | Load capacity static |
| ≈m | 0.631 kg | 重量 |
| L1 | 77.5 mm | |
| JB | 31 mm | Mounting Dimension |
| Tol JB | ±0,1 | Tolerance |
| JL | 38 mm | Mounting Dimension |
| Tol JL | ±0,1 | Tolerance |
| H1 | 0.1 mm | |
| L2 | 58.5 mm | |
| LW | 16 mm | |
| H4 | 20.8 mm | |
| K3 | M4 | Size thread K3 1 |
| K3 MA | 5 Nm | Tightening Torque fixing screws |
| D2 | 5 mm |
VUSZ18059-A | Adjustment gib | |
UG9741, UGN9741-A, UZ9741, UZN9741-A, UFK4710, UFB6412 | suitable Guide Rail |
| Size code | 14061 |