PRODUCTS
- Home
- Giới thiệu sản phẩm
| B1 | 180 mm | Total Width |
| L | 180 mm | Length of Carriage |
| B3B | 180 mm | Width of Shaft Support Blocks |
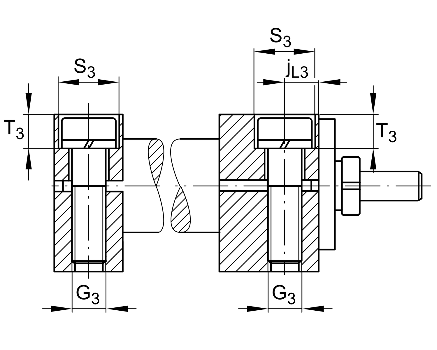
| G3 | M12 | Thread |
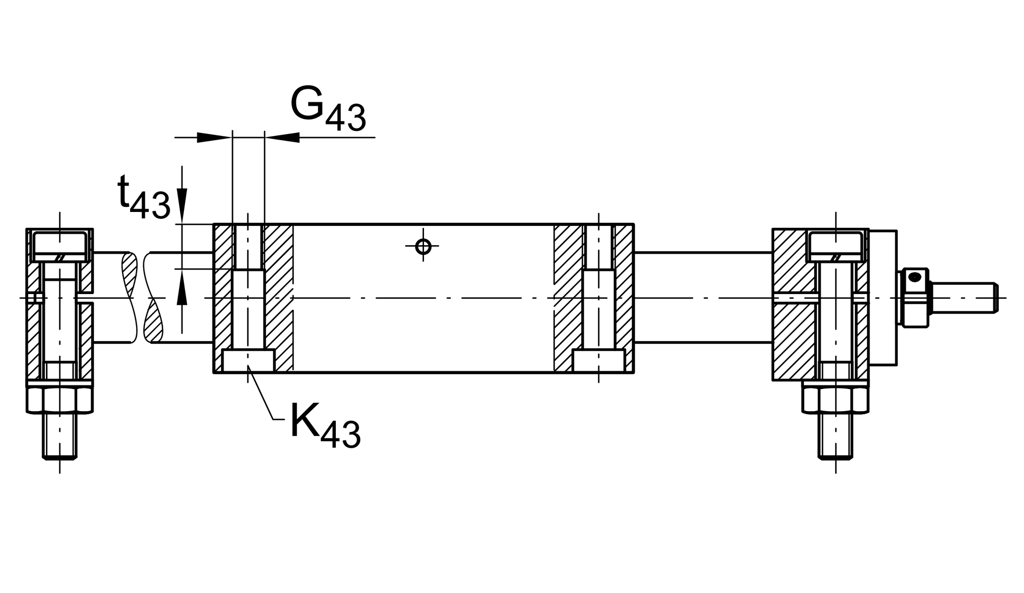
| G43 | M12 | Thread |
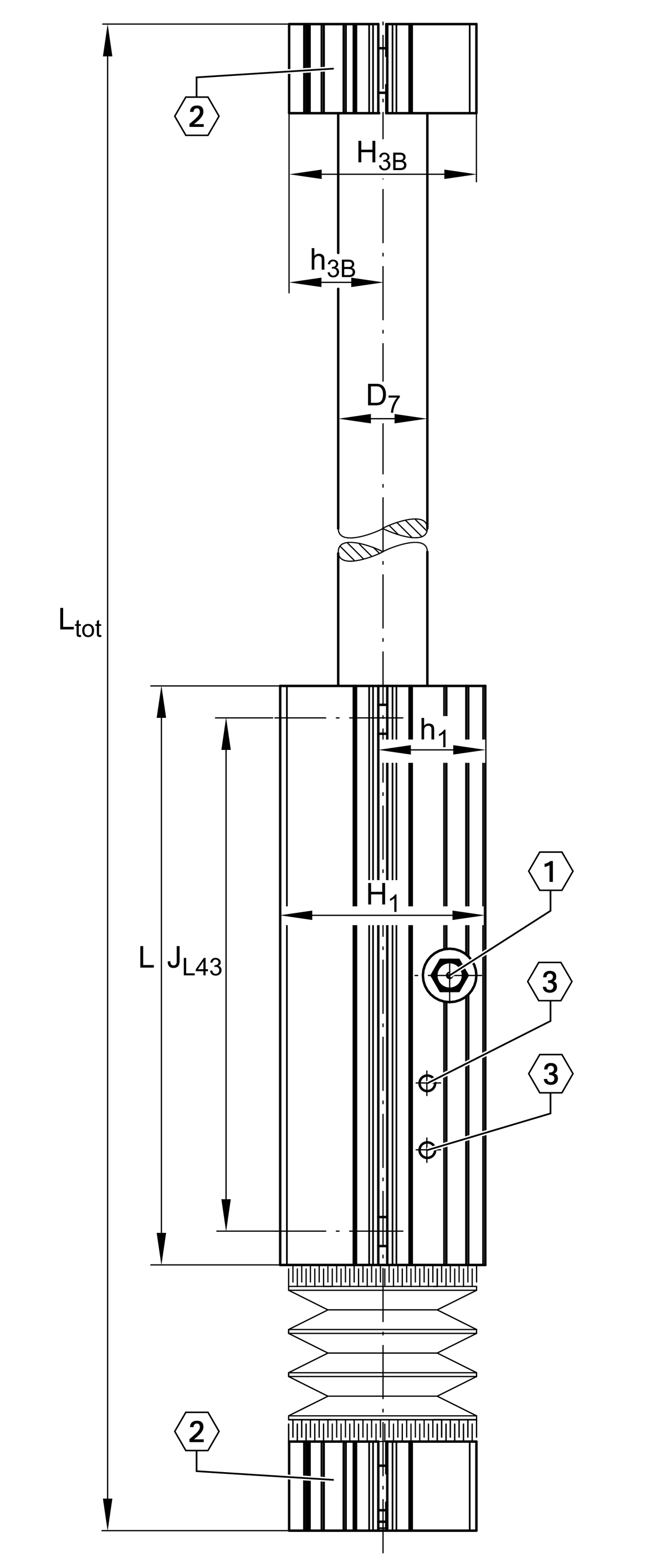
| JB43 | 158 mm | |
| JL43 | 158 mm | |
| jB3 | 150 mm | |
| jL3 | 12.5 mm | |
| K43 | M10 | Thread |
| S3 | 20 mm | |
| T3 | 15.5 mm | |
| t43 | 26 mm | Depth of Thread |
| BB | 21 mm | Length of Bellows Fastener |
| FBL | 1.27 | Effective length factor of bellow |
| H1 | 64 mm | Height of Carriage |
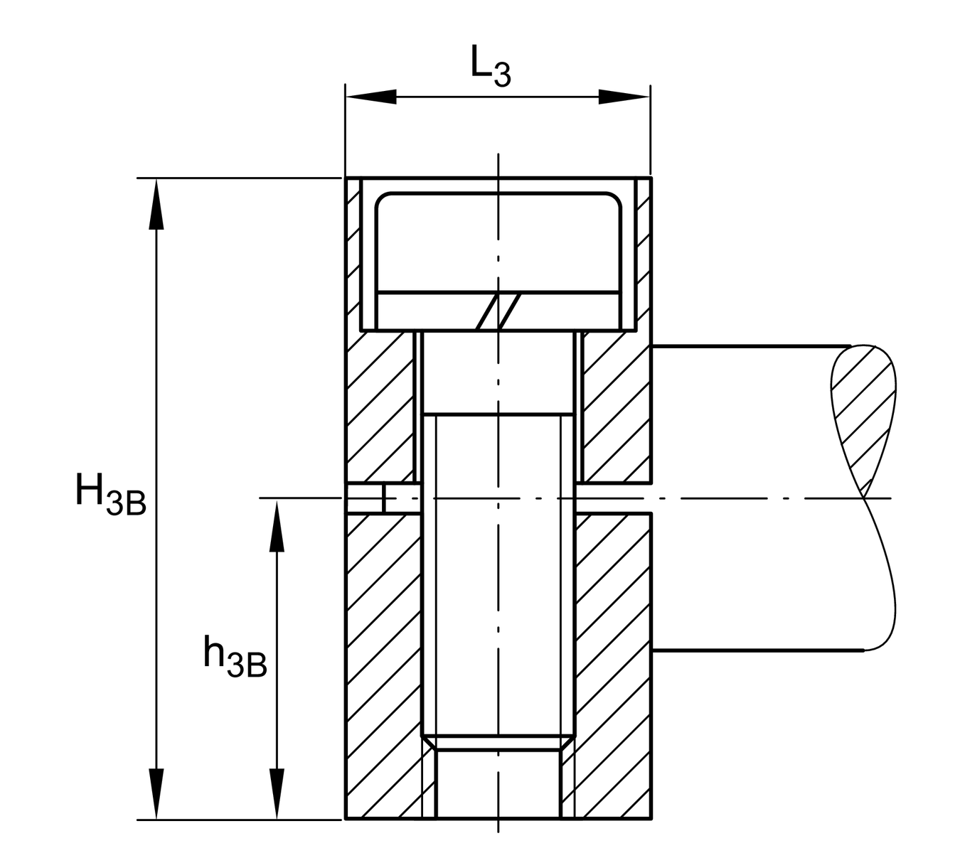
| H3B | 58 mm | Height of Shaft Support Blocks |
| h1 | 32 mm | |
| h3B | 29 mm | |
| L3 | 25 mm | Length of Shaft Support Blocks |
| D7 | 30 mm | ø Shaft, Tolerance h7 |
| RX | 98.6 mm | |
| RZ | 96 mm | |
| mLAW | 5.1 kg | Mass of Carriage |
| vmax | 5 m/s | Maximum Speed |
| amax | 50 m/s2 | Maximum Acceleration |
| CI | 9,500 N | Load direction I: compressive load |
| C0I | 11,400 N | Load direction I: compressive load |
| CII | 9,500 N | Load direction II: tensile load |
| C0II | 11,400 N | Load direction II: tensile load |
| CIII | 9,500 N | Load direction III: lateral load |
| C0III | 11,400 N | Load direction III: lateral load |
| M0x per | 540 Nm | Max. permissible static moment per Carriage 1 |
| M0y per | 503 Nm | Max. permissible static moment per Carriage 1 |
| M0z per | 393 Nm | Max. permissible static moment per Carriage 1 |
KB0-P | Linear Ball Bearings 2 |
0 °C | Minimum operating Temperatur | |
80 °C | Maximum operating Temperatur |
| Size code | 30 | |
| Length of carriage | 180 | 180 mm |
| Version | B | |
| Drive type | OA | Without drive |
| Bellow | 1 | Yes |