PRODUCTS
- Home
- Giới thiệu sản phẩm
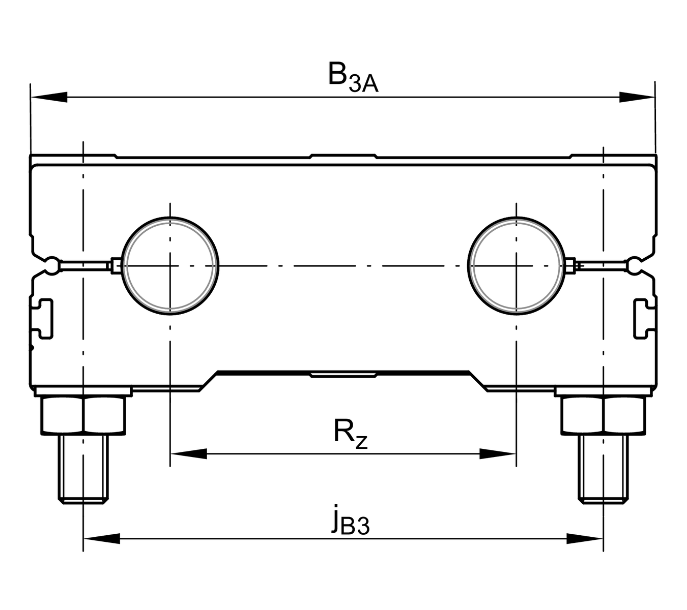
| B1 | 130 mm | Total Width |
| H | 48 mm | Total Height |
| L | 130 mm | Length of Carriage |
| B3A | 130 mm | Width of Shaft Support Blocks |
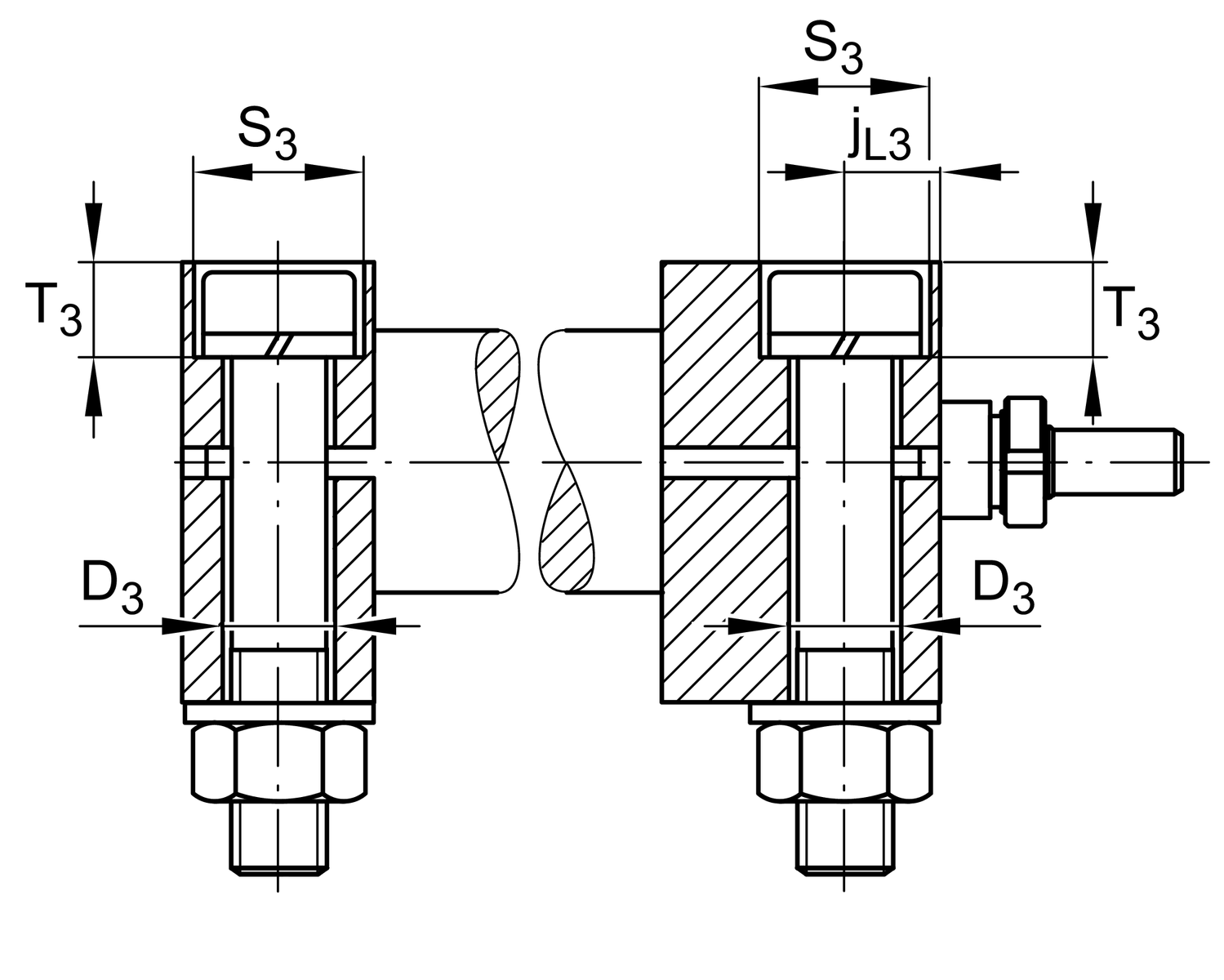
| D3 | 11 mm | |
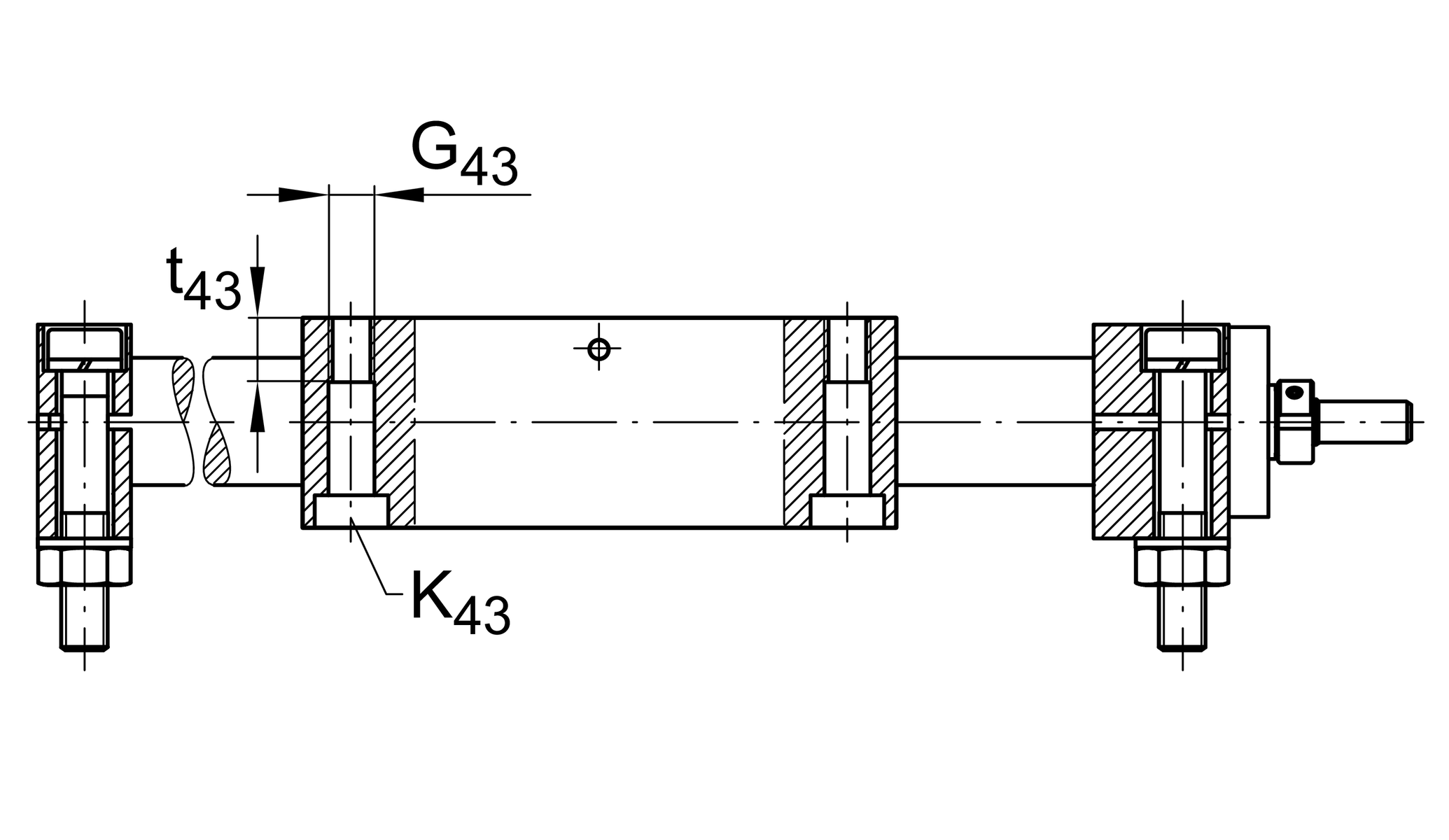
| G43 | M8 | Thread |
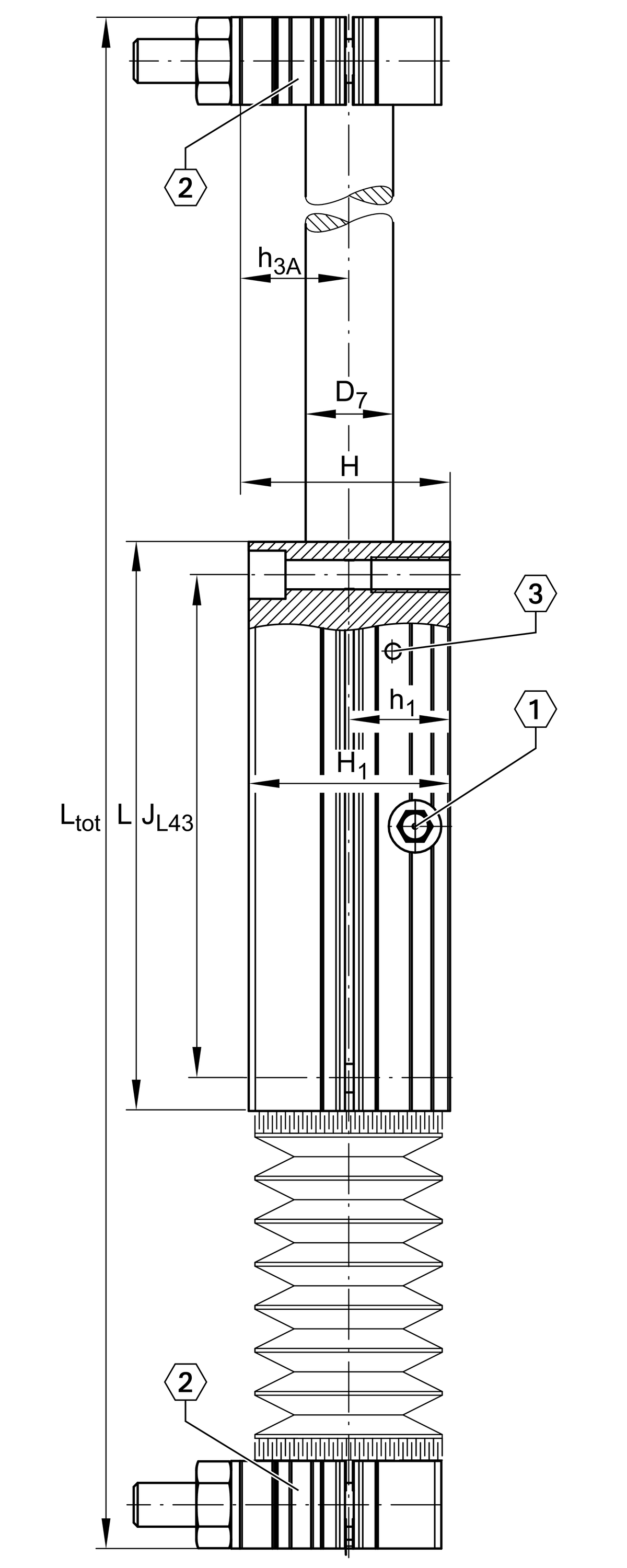
| JB43 | 115 mm | |
| JL43 | 115 mm | |
| jB3 | 108 mm | |
| jL3 | 10 mm | |
| K43 | M6 | Thread |
| S3 | 18 mm | |
| T3 | 10 mm | |
| t43 | 18 mm | Depth of Thread |
| H1 | 46 mm | Height of Carriage |
| H3A | 46 mm | Height of Shaft Support Blocks |
| h1 | 23 mm | |
| h3A | 25 mm | |
| L3 | 20 mm | Length of Shaft Support Blocks |
| D7 | 20 mm | ø Shaft, Tolerance h7 |
| RX | 74.6 mm | |
| RZ | 72 mm | |
| S | 0 mm | Safety Distance |
| mLAW | 1.8 kg | Mass of Carriage |
| vmax | 5 m/s | Maximum Speed |
| amax | 50 m/s2 | Maximum Acceleration |
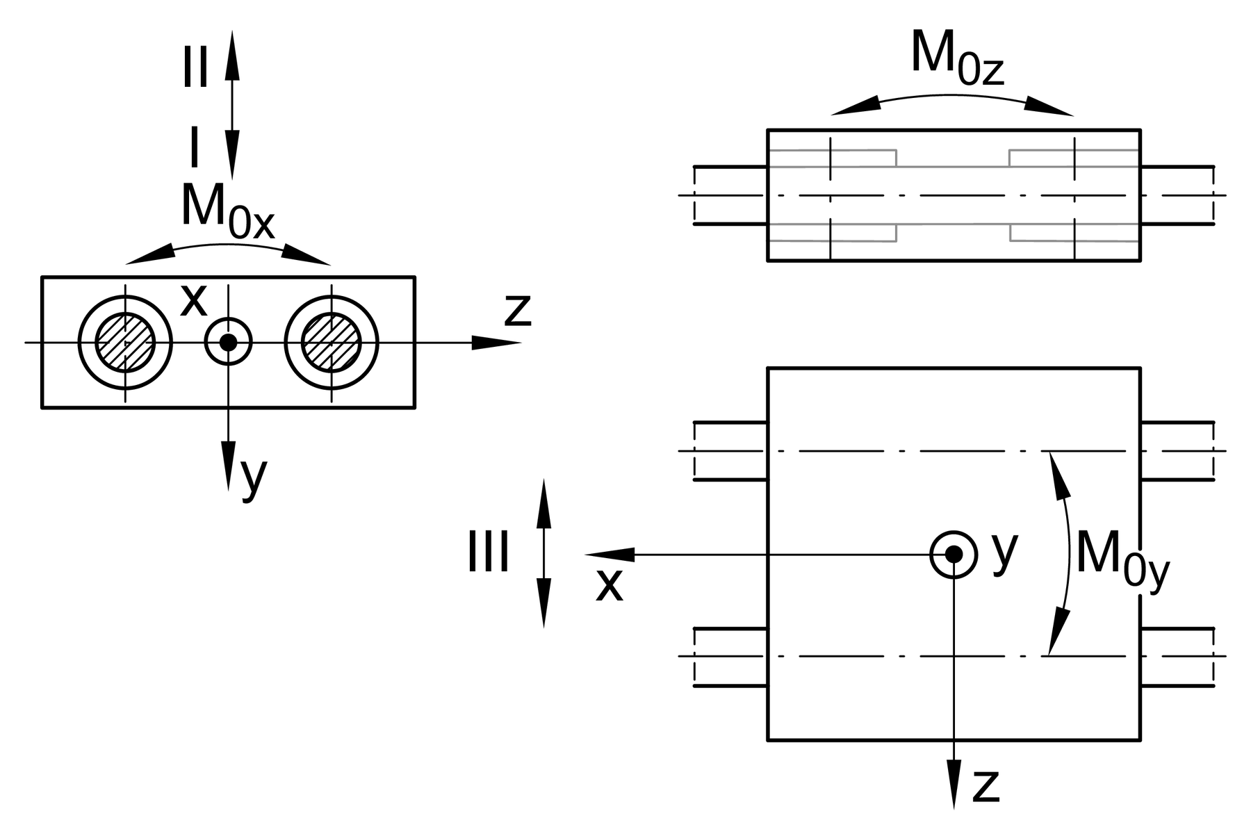
| CI | 4,140 N | Load direction I: compressive load |
| C0I | 4,920 N | Load direction I: compressive load |
| CII | 4,140 N | Load direction II: tensile load |
| C0II | 4,920 N | Load direction II: tensile load |
| CIII | 4,140 N | Load direction III: lateral load |
| C0III | 4,920 N | Load direction III: lateral load |
| M0x per | 178 Nm | Max. permissible static moment per Carriage 1 |
| M0y per | 155 Nm | Max. permissible static moment per Carriage 1 |
| M0z per | 138 Nm | Max. permissible static moment per Carriage 1 |
KB20-P | Linear Ball Bearings 2 |
0 °C | Minimum operating Temperatur | |
80 °C | Maximum operating Temperatur |
| Size code | 20 | |
| Length of carriage | 130 | 130 mm |
| Version | A | |
| Drive type | OA | Without drive |
| Bellow | 0 | No |