PRODUCTS
- Home
- Giới thiệu sản phẩm
| B1 | 100 mm | Total Width |
| L | 100 mm | Length of Carriage |
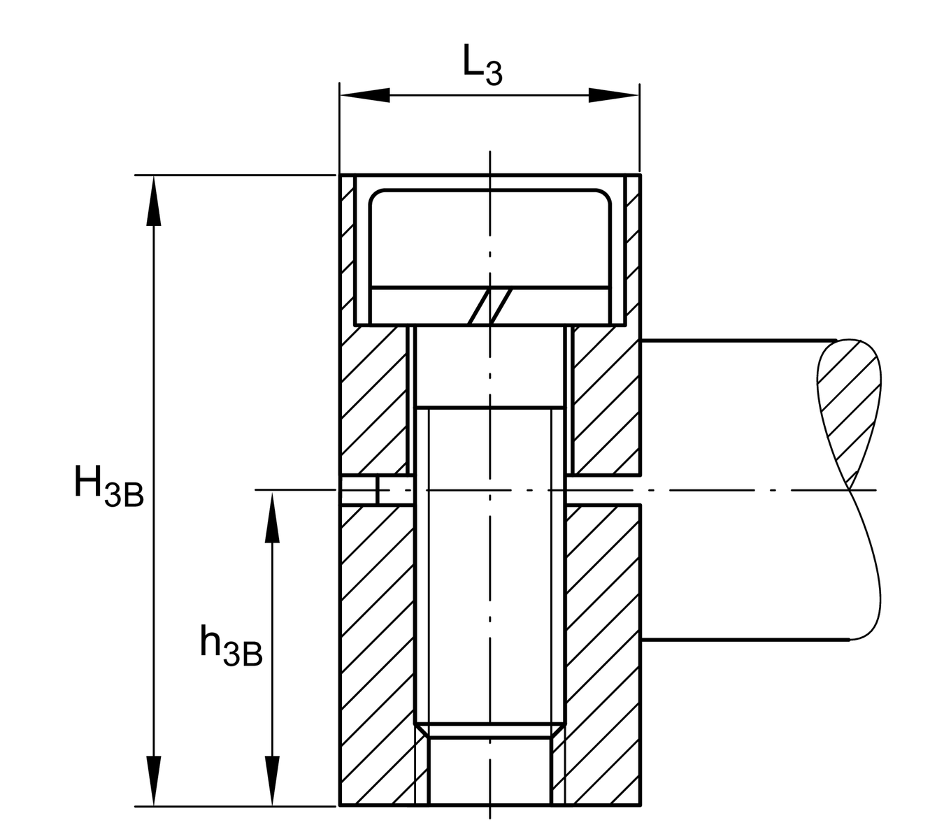
| B3B | 100 mm | Width of Shaft Support Blocks |
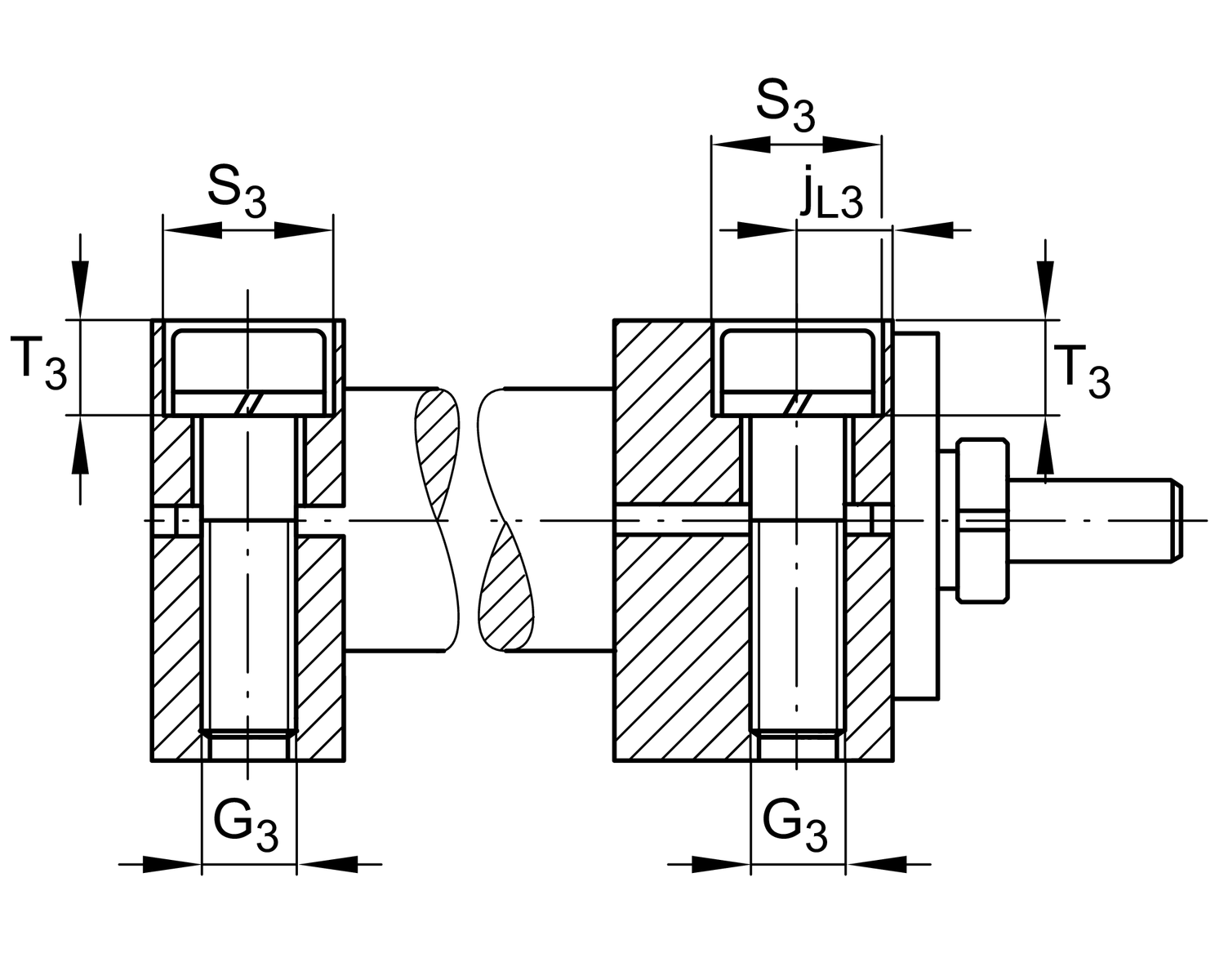
| G3 | M8 | Thread |
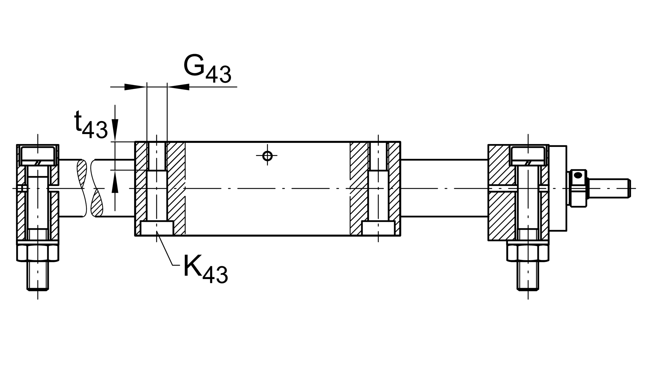
| G43 | M6 | Thread |
| JB43 | 88 mm | |
| JL43 | 88 mm | |
| jB3 | 82 mm | |
| jL3 | 9 mm | |
| K43 | M5 | Thread |
| S3 | 15 mm | |
| T3 | 8 mm | |
| t43 | 13 mm | Depth of Thread |
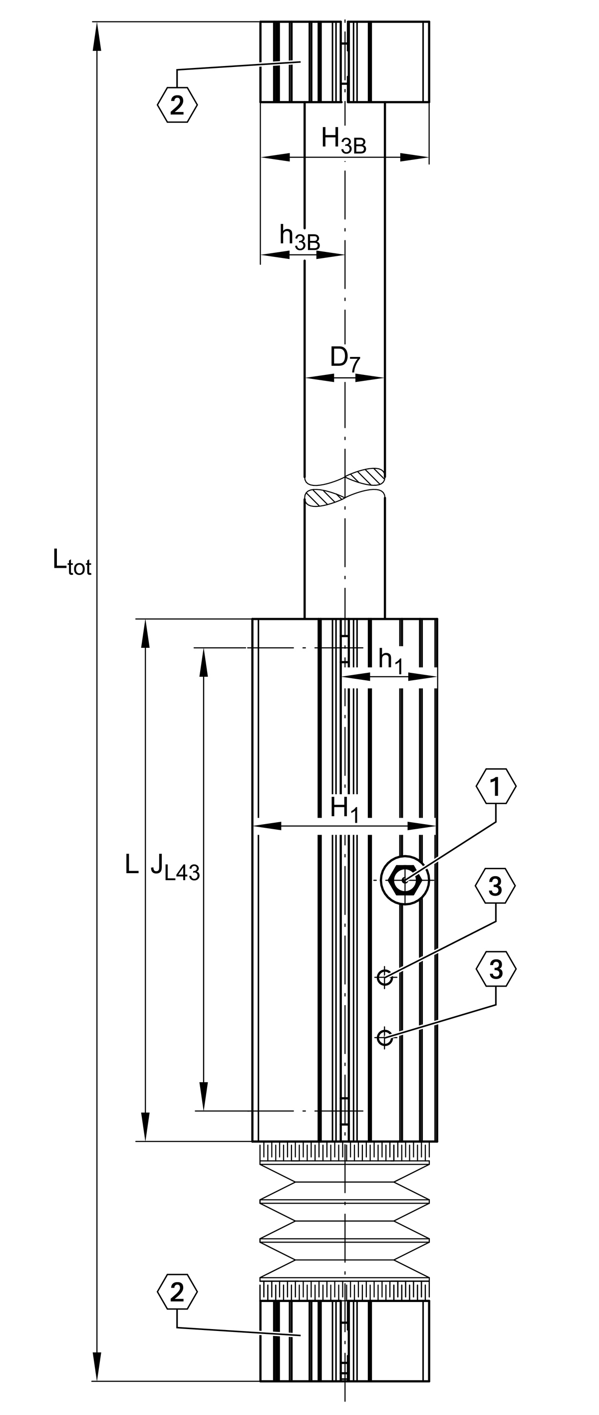
| BB | 20 mm | Length of Bellows Fastener |
| FBL | 1.5 | Effective length factor of bellow |
| H1 | 36 mm | Height of Carriage |
| H3B | 32 mm | Height of Shaft Support Blocks |
| h1 | 18 mm | |
| h3B | 16 mm | |
| L3 | 18 mm | Length of Shaft Support Blocks |
| D7 | 16 mm | ø Shaft, Tolerance h7 |
| RX | 55.6 mm | |
| RZ | 54 mm | |
| mLAW | 0.9 kg | Mass of Carriage |
| vmax | 5 m/s | Maximum Speed |
| amax | 50 m/s2 | Maximum Acceleration |
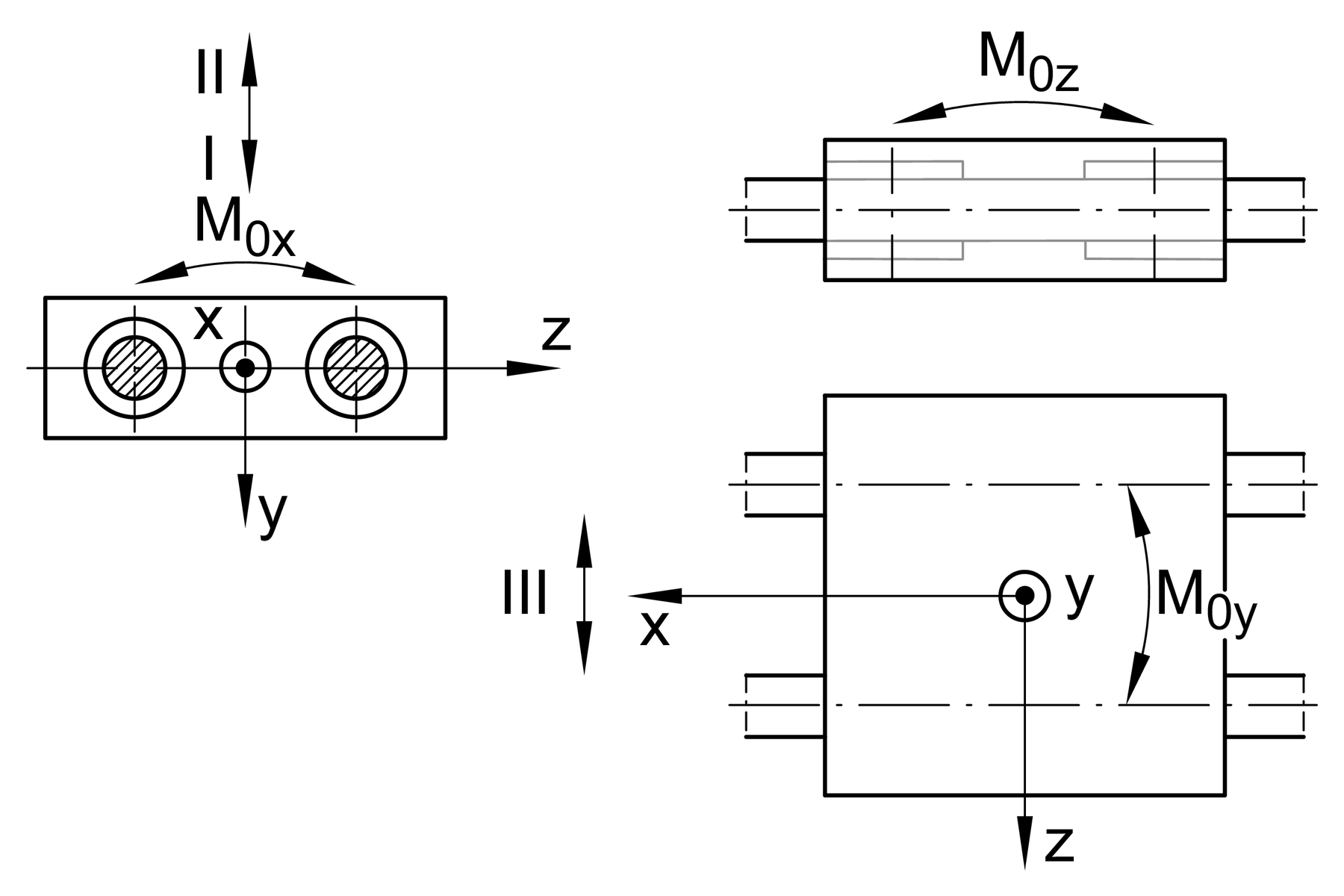
| CI | 1,870 N | Load direction I: compressive load |
| C0I | 2,120 N | Load direction I: compressive load |
| CII | 1,870 N | Load direction II: tensile load |
| C0II | 2,120 N | Load direction II: tensile load |
| CIII | 1,870 N | Load direction III: lateral load |
| C0III | 2,120 N | Load direction III: lateral load |
| M0x per | 57 Nm | Max. permissible static moment per Carriage 1 |
| M0y per | 48 Nm | Max. permissible static moment per Carriage 1 |
| M0z per | 45 Nm | Max. permissible static moment per Carriage 1 |
KB16-P | Linear Ball Bearings 2 |
0 °C | Minimum operating Temperatur | |
80 °C | Maximum operating Temperatur |
| Size code | 16 | |
| Length of carriage | 100 | 100 mm |
| Version | B | |
| Drive type | OA | Without drive |
| Bellow | 1 | Yes |