PRODUCTS


FAG
BND2218-Z-T-BL-D
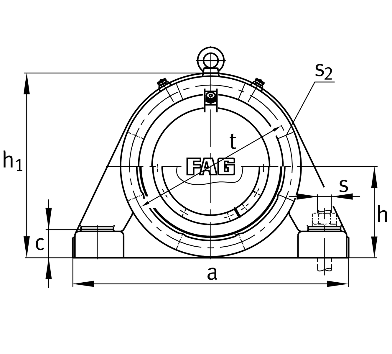
Housing body BND2218-Z-T-BL-D
加入詢價
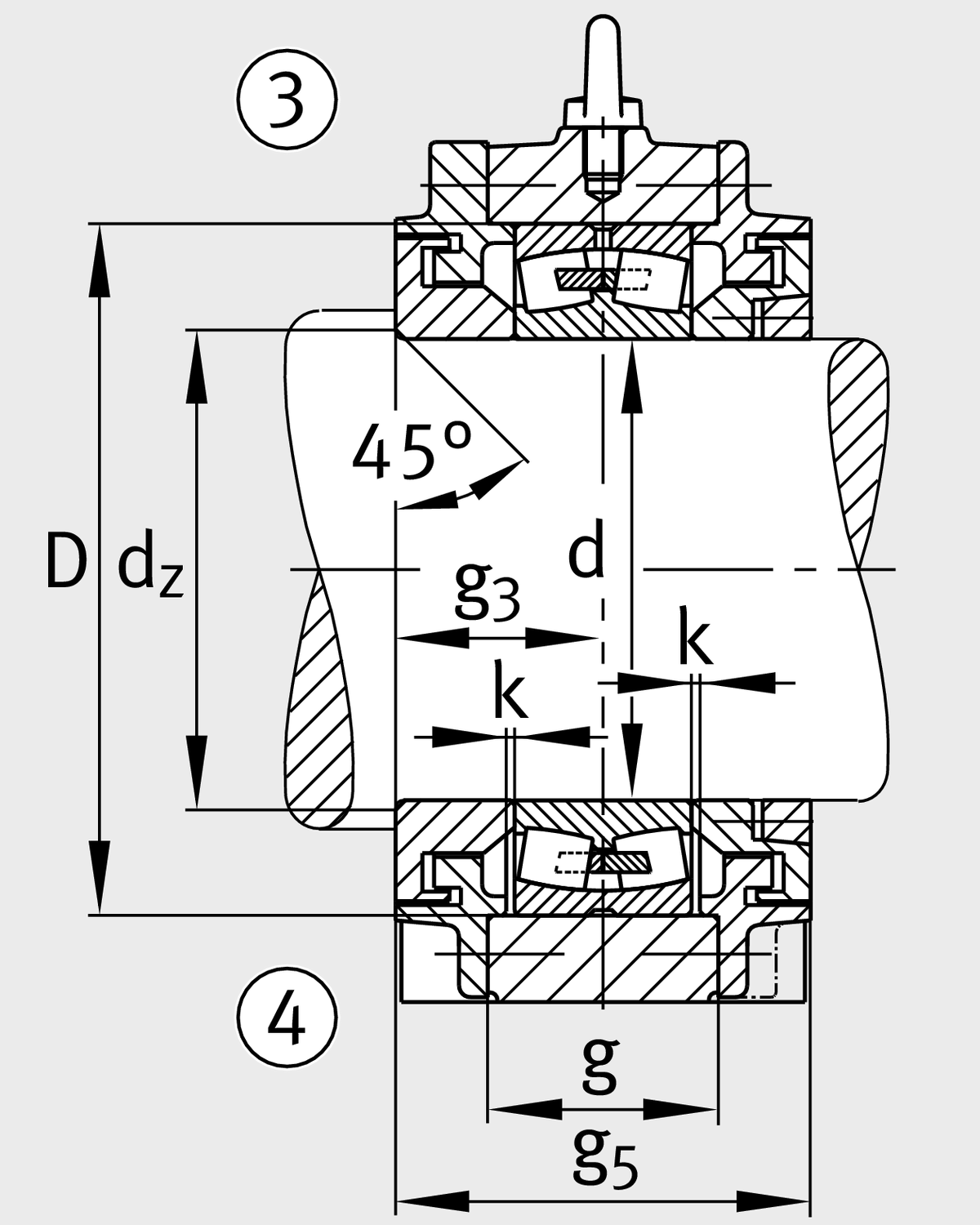
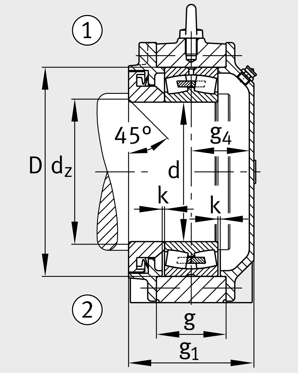
主要尺寸與性能資料
d1
90 mm
Shaft diameter
a
370 mm
Length base
h1
220 mm
Total height
g1
104 mm
Total width with lid g1
g5
106 mm
Total width with lid g5
≈m
26.7 kg
重量

尺寸
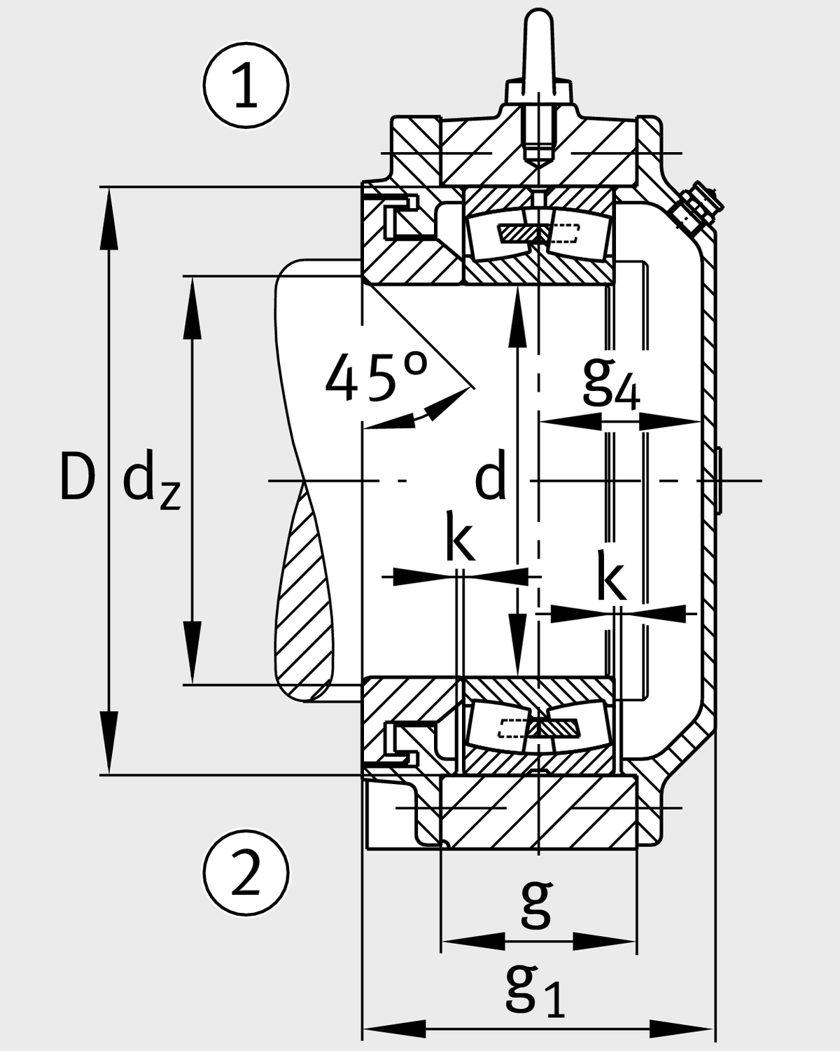
45 °
Champfer angle
b
110 mm
Width base
c
38 mm
Height base foot
D
160 mm
外徑
dc
98 mm
Champfer diameter c
g
55 mm
Width 軸承座 body
g3
53 mm
Locking collar width g3
g4
45 mm
Locking collar width g4
h
110 mm
Distance shaft axis
k
2 mm
軸向位移
m
290 mm
固定內孔距離
n
60 mm
Bore distance width
s
M20
Size of fixing screws
s2
M8
Thread 固定內徑
s2
6
螺絲孔數
t
185 mm
Pitch circle dia fixing holes
u
23 mm
Width oblong holes
v
32 mm
Lenght oblong hole

附加資訊
22218
軸承型號

溫度範圍
Tmin
-20 °C
最低工作溫度
Tmax
100 °C
最高操作溫度
加入詢價