PRODUCTS


FAG
BND2215-H-W-Y-AF-D
Housing body BND2215-H-W-Y-AF-D
加入詢價
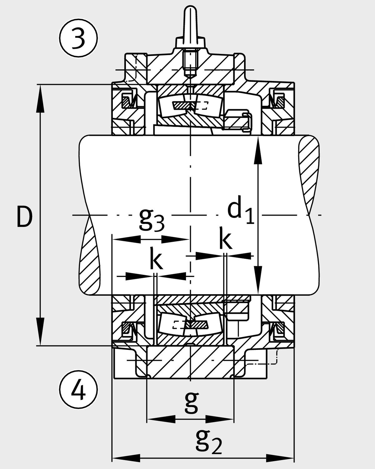
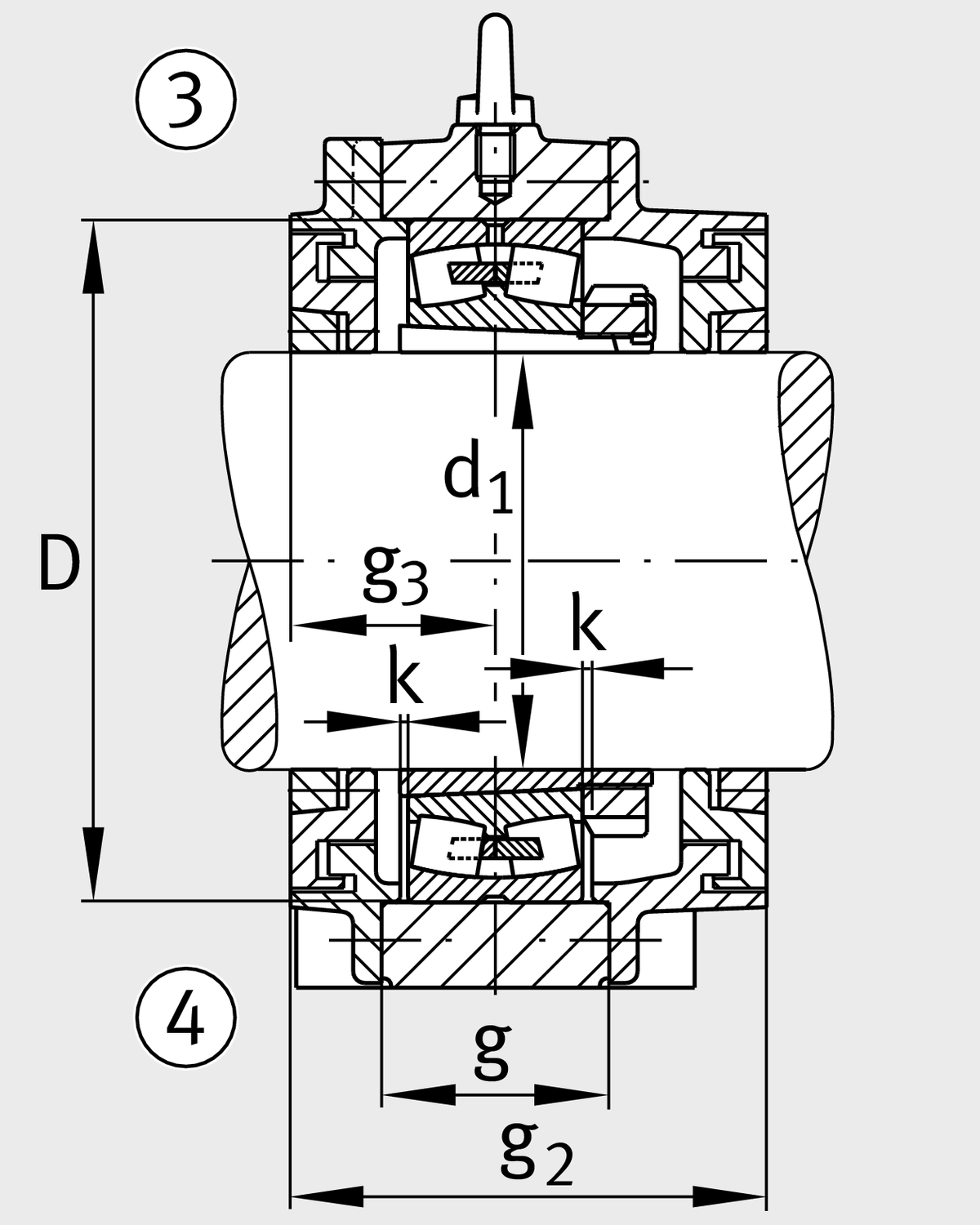
主要尺寸與性能資料
d1
65 mm
Shaft diameter
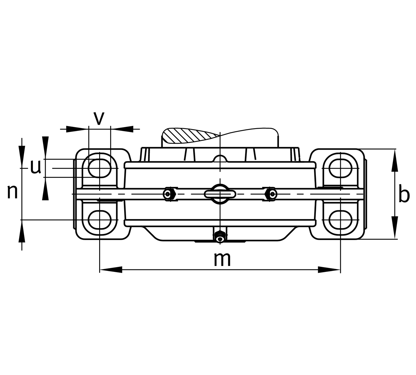
a
285 mm
Length base
h1
180 mm
Total height
g1
105 mm
Total width with lid g1
g2
125 mm
Total width with lid g2
≈m
14.5 kg
重量

尺寸
b
85 mm
Width base
c
35 mm
Height base foot
D
130 mm
外徑
g
45 mm
Width 軸承座 body
g3
55 mm
Locking collar width g3
g4
44 mm
Locking collar width g4
h
90 mm
Distance shaft axis
k
2 mm
軸向位移
m
225 mm
固定內孔距離
n
45 mm
Bore distance width
s
M16
Size of fixing screws
s2
M6
Thread 固定內徑
s2
6
螺絲孔數
t
155 mm
Pitch circle dia fixing holes
u
20 mm
Width oblong holes
v
28 mm
Lenght oblong hole

附加資訊
H315
Adaptive Sleeve
22215..-K
軸承型號

溫度範圍
Tmin
-20 °C
最低工作溫度
Tmax
100 °C
最高操作溫度
加入詢價