PRODUCTS


FAG
BND2213-Z-T-AF-D
Housing body BND2213-Z-T-AF-D
加入詢價
主要尺寸與性能資料
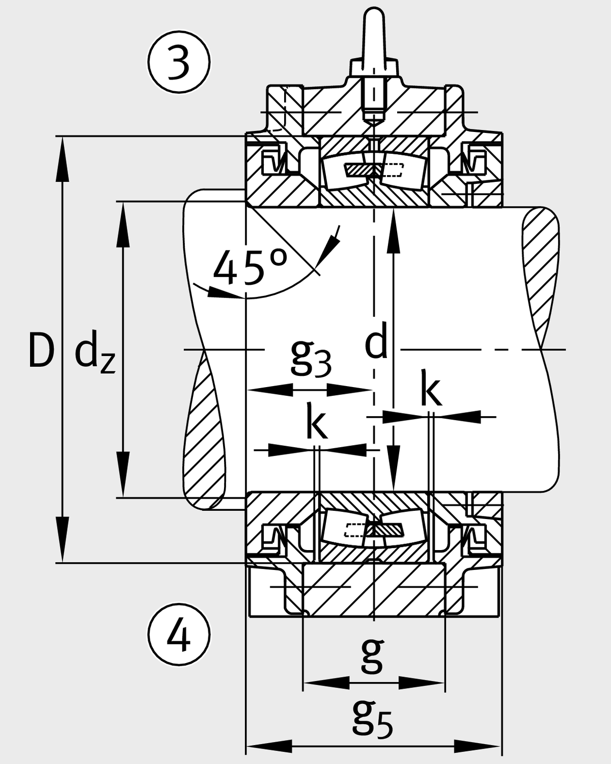
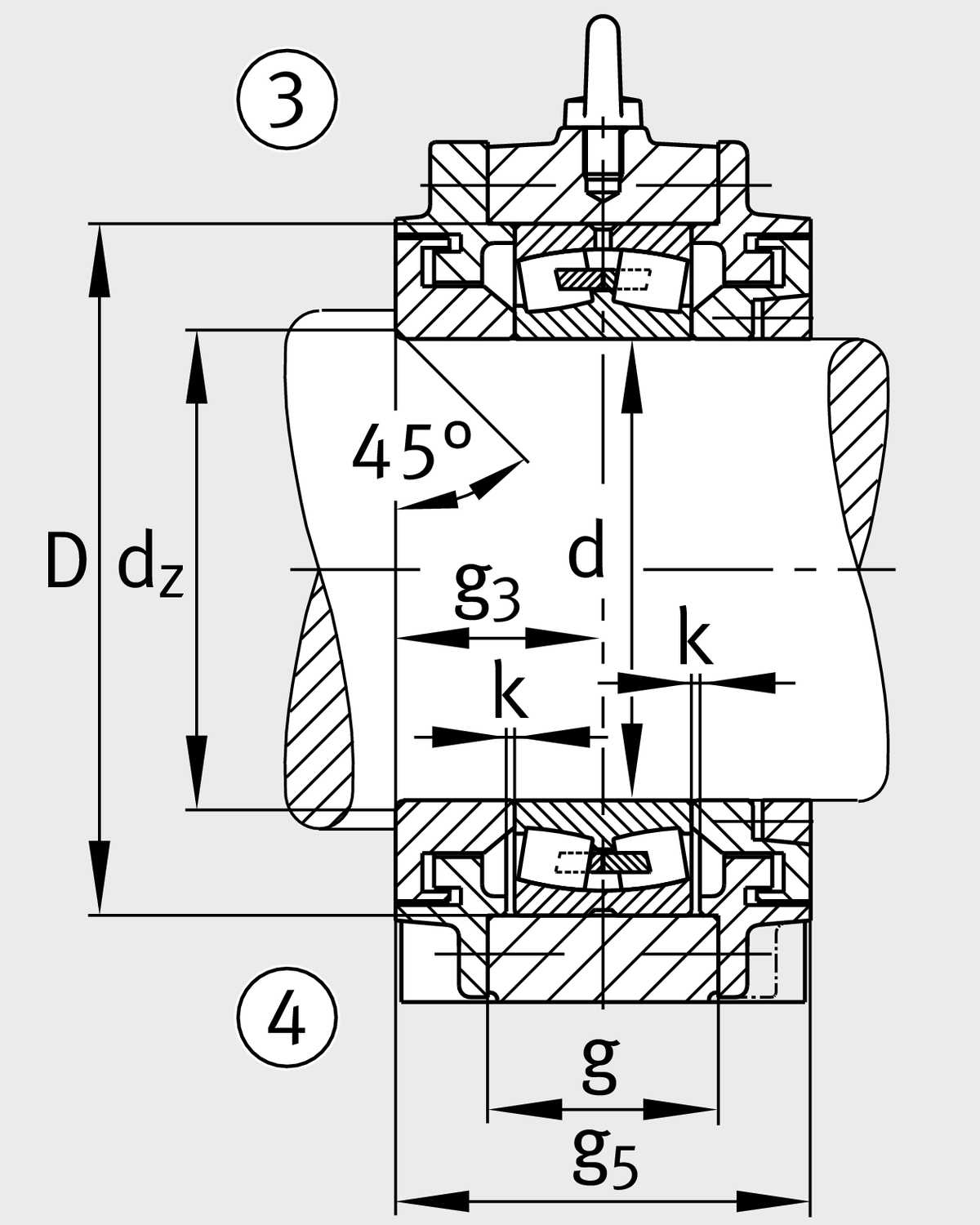
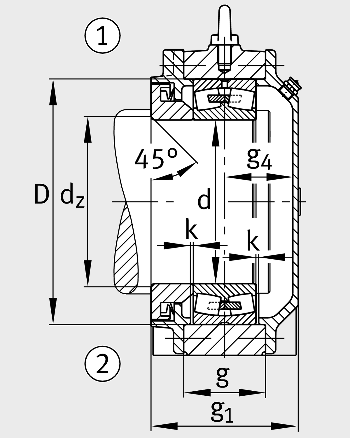
d1
65 mm
Shaft diameter
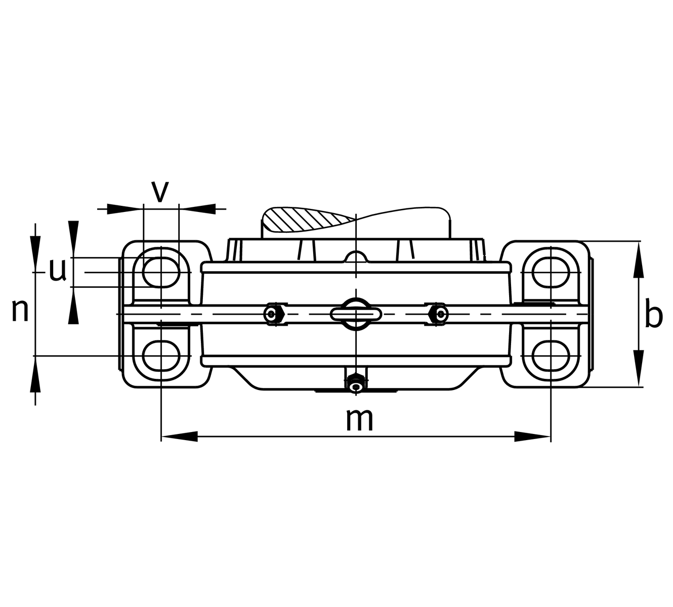
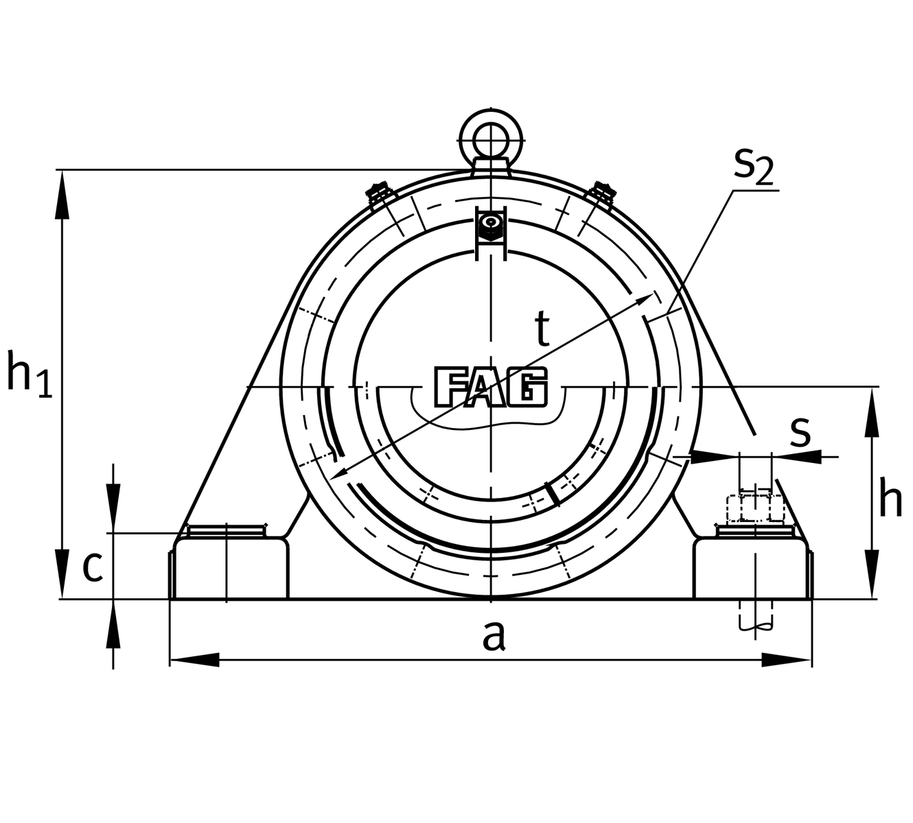
a
235 mm
Length base
h1
155 mm
Total height
g1
100 mm
Total width with lid g1
g5
110 mm
Total width with lid g5
≈m
9.4 kg
重量

尺寸
45 °
Champfer angle
b
70 mm
Width base
c
22 mm
Height base foot
D
120 mm
外徑
dc
71 mm
Champfer diameter c
g
44 mm
Width 軸承座 body
g3
55 mm
Locking collar width g3
g4
39 mm
Locking collar width g4
h
80 mm
Distance shaft axis
k
2 mm
軸向位移
m
185 mm
固定內孔距離
n
40 mm
Bore distance width
s
M10
Size of fixing screws
s2
M6
Thread 固定內徑
s2
6
螺絲孔數
t
135 mm
Pitch circle dia fixing holes
u
15 mm
Width oblong holes
v
20 mm
Lenght oblong hole

附加資訊
22213
軸承型號

溫度範圍
Tmin
-20 °C
最低工作溫度
Tmax
100 °C
最高操作溫度
加入詢價