PRODUCTS
- 首頁
- 產品介紹
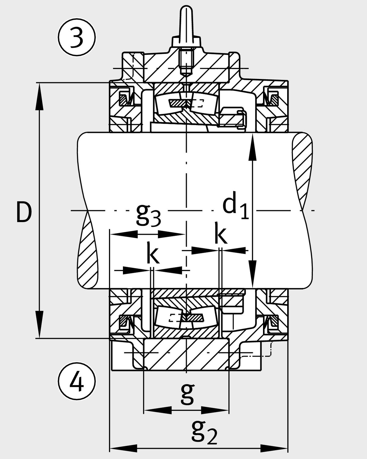
| d1 | 80 mm | Shaft diameter |
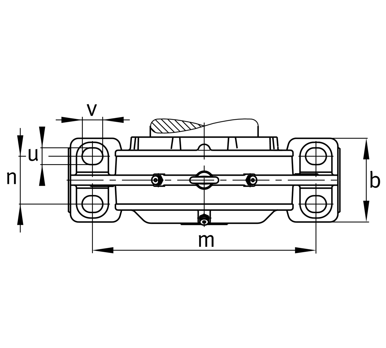
| a | 370 mm | Length base |
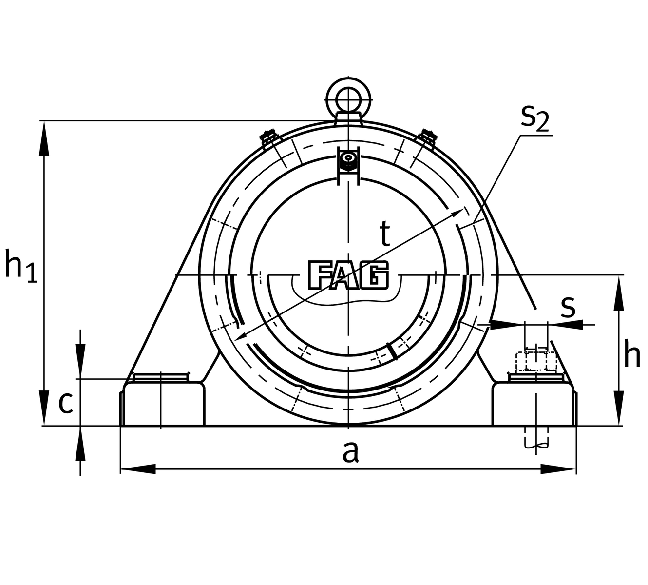
| h1 | 220 mm | Total height |
| g1 | 104 mm | Total width with lid g1 |
| g2 | 123 mm | Total width with lid g2 |
| ≈m | 17.5 kg | 重量 |
| b | 110 mm | Width base |
| c | 38 mm | Height base foot |
| D | 160 mm | 外徑 |
| g | 55 mm | Width 軸承座 body |
| g3 | 53 mm | Locking collar width g3 |
| g4 | 45 mm | Locking collar width g4 |
| h | 110 mm | Distance shaft axis |
| k | 2 mm | 軸向位移 |
| m | 290 mm | 固定內孔距離 |
| n | 60 mm | Bore distance width |
| s | M20 | Size of fixing screws |
| s2 | M8 | Thread 固定內徑 |
| s2 | 6 | 螺絲孔數 |
| t | 185 mm | Pitch circle dia fixing holes |
| u | 23 mm | Width oblong holes |
| v | 32 mm | Lenght oblong hole |
H318 | Adaptive Sleeve | |
22218..-K | 軸承型號 |
| Tmin | -20 °C | 最低工作溫度 |
| Tmax | 100 °C | 最高操作溫度 |