PRODUCTS
- 首頁
- 產品介紹
| B2 | 40 mm | Total Width |
| H | 45 mm | Total Height |
| L | 250 mm | Length of carriage |
| D86 | 34 mm | |
| Tol D86 | H7 | Tolerance |
| d85 | 10 mm | |
| d86 | 25 mm | ø Inner Fit |
| L88 | 7.8 mm | Length of Drive Pin |
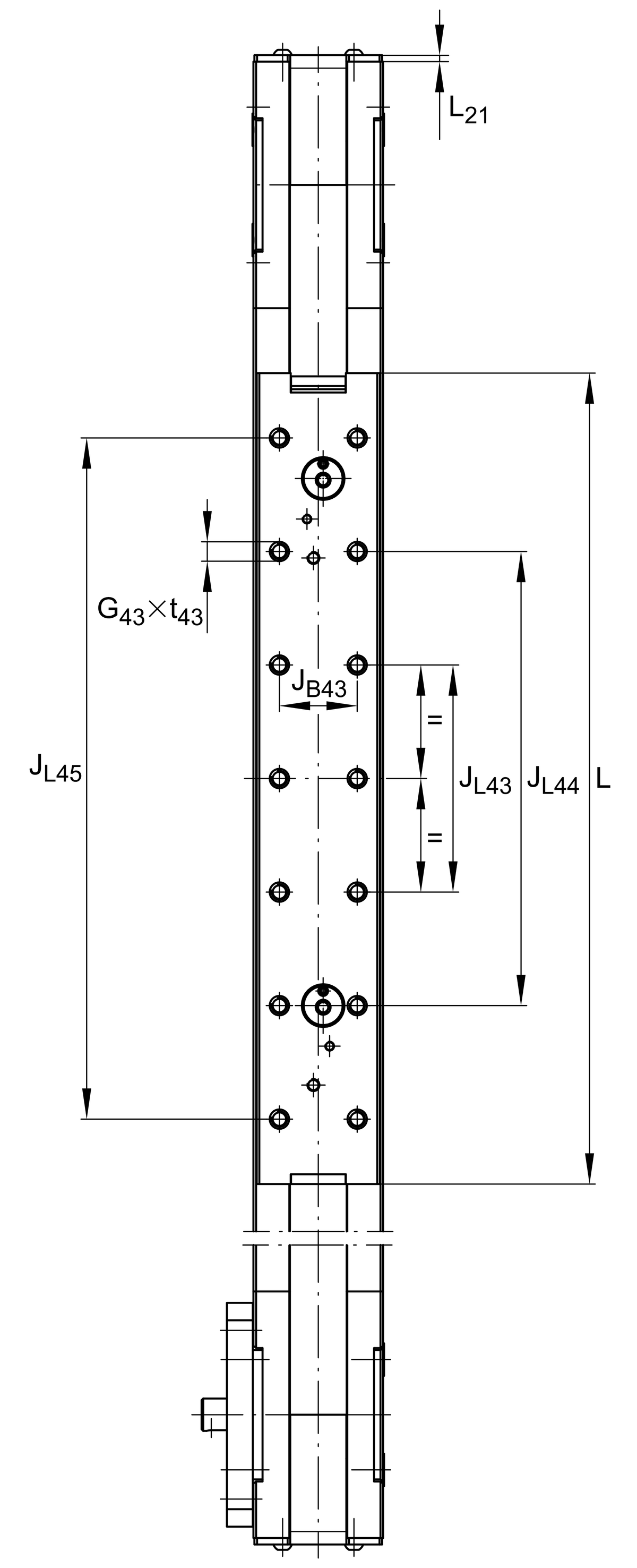
| G43 | M5 | 線 |
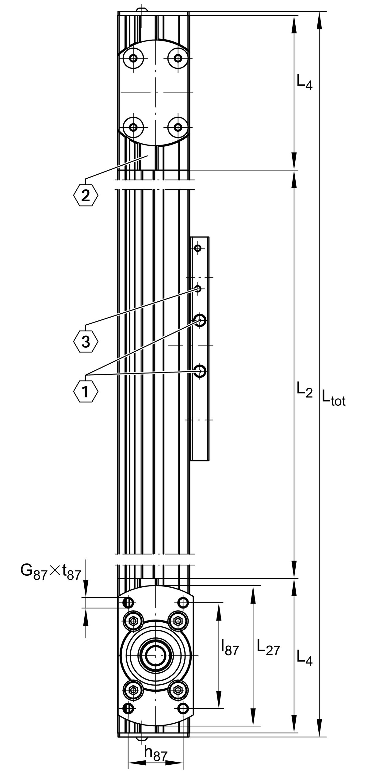
| G87 | M5 | 線 |
| h85 | 18.8 mm | |
| h87 | 27 mm | |
| JB43 | 24 mm | |
| JL43 | 70 mm | |
| Tol JL43 up | 0,2 | 公差上限 |
| Tol JL43 low | 0 | 較低的公差 |
| JL44 | 140 mm | |
| JL45 | 210 mm | |
| l87 | 52 mm | |
| NB85 | 3 mm | Width of Keyway |
| NL85 | 10 mm | Length of Keyway |
| NT85 | 1.8 mm | Depth of Keyway, Tolerance P9 |
| T86 | 3 mm | Depth Fit |
| t43 max | 8 mm | Depth of Thread |
| t87 max | 8 mm |
| B1 | 38 mm | Width of Carriage |
| B27 | 8 mm | |
| H2 | 35.5 mm | Height of Support Rail |
| H27 | 37.3 mm | |
| h13 | 15 mm | |
| h17 | 4 mm | 1 |
| L2 max | 2,000 mm | Maximum length of Support Rail |
| L4 | 76 mm | Length of Return Unit |
| L21 | 2 mm | |
| L27 | 69 mm | |
| S | 40 mm | Safety Distance |
| mLAW | 0.38 kg | Mass of Carriage |
| vmax | 4 m/s | Maximum Speed |
| amax | 20 m/s2 | Maximum Acceleration |
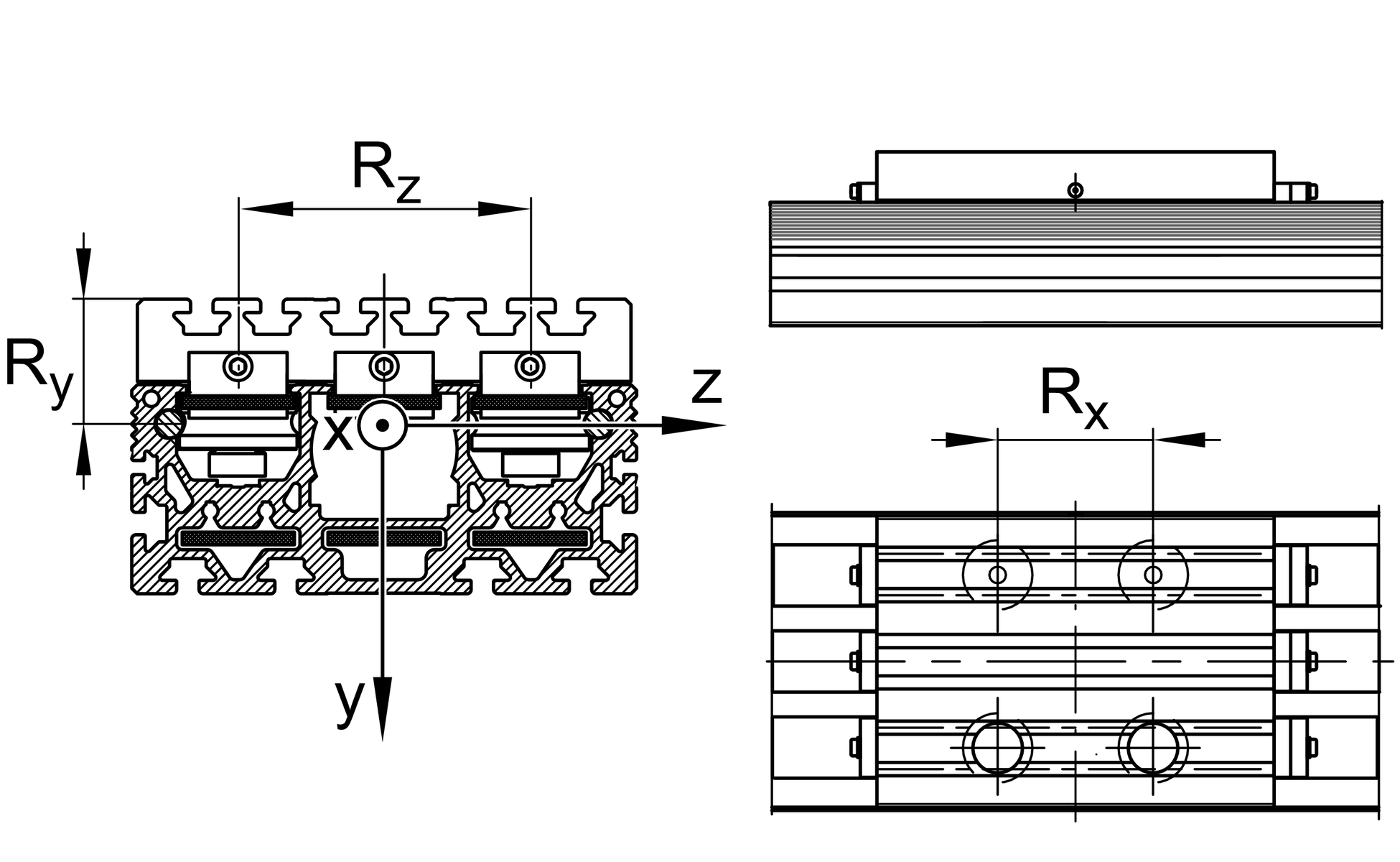
| Rx | 162.5 mm | |
| Ry | 19 mm | |
| Rz | 3 mm | |
| I C | 1,100 N | Load direction I: compressive load |
| I C0 | 560 N | Load direction I: compressive load |
| II C | 1,100 N | Load direction II: tensile load |
| II C0 | 560 N | Load direction II: tensile load |
| III C | 2,000 N | Load direction III: lateral load |
| III C0 | 1,400 N | Load direction III: lateral load |
| M0x per | 4.7 Nm | Max. permissible static moment per Carriage 2 |
| M0y per | 114 Nm | Max. permissible static moment per Carriage 2 |
| M0z per | 48 Nm | Max. permissible static moment per Carriage 2 |
| Iy | 11.96 cm4 | Geometrical moments of inertia of Support Rail |
| Iz | 7.7 cm4 | Geometrical moments of inertia of Support Rail |
2.3 Nm | Max. permissible drive torque | |
4 x LFR50/5-6-2Z | Track Rollers | |
0.1 mm | Repeat Accurancy ± | |
81 mm | Feed (mm/rotation) | |
20AT3 | Toothed Belt | |
0.044 kg/m | Mass of Toothed Belt | |
175 N | Permissible Toothed Belt operating force | |
0.024 kg*cm2 | 質量慣性矩 of Gears and Gearboxes |
| Tmin | 0 °C | Minimum operating Temperatur |
| Tmax | 80 °C | Maximum operating Temperatur |
| Size code | 20 | |
| Length of carriage | 250 | 250 mm |
| Version | / | Standard |
| Design | / | Basis |
| Drive type | (3)ZR | Toothed belt drive |
| Additional carriage | / | No additional carriage |
| Attachment to the carriage | / | Threaded holes |
| Support rail design | / | One-piece |