PRODUCTS
- 首頁
- 產品介紹
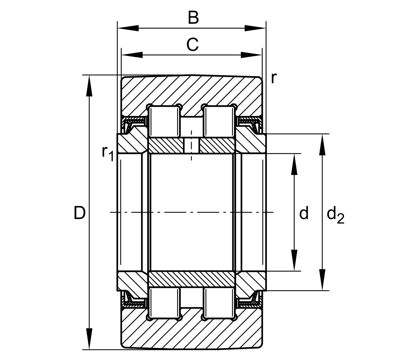
| d | 40 mm | 內徑 |
| D | 80 mm | 外徑 |
| B | 32 mm | 內圈寬度 |
| Cr w | 45,000 N | 基本額定動載荷,徑向 |
| C0r w | 60,000 N | 基本額定靜態負荷,徑向 |
| Cur w | 8,100 N | 疲勞負載極限,徑向 |
| nD G | 1,500 1/min | 永久脂潤滑速度 |
| F0r per | 60,000 N | 允許靜態載重,徑向 |
| Fr per | 39,000 N | 外圈允許徑向動態載重 |
| ≈m | 0.785 kg | 重量 |
| C | 30 mm | 外圈寬度 |
| d2 | 50.5 mm | 止推墊圈止動直徑 |
| rmin | 1.1 mm | 最小倒角尺寸 |
| r1 min | 0.6 mm | 最小倒角尺寸 |
| Sealing | 2RS | Protected 兩側唇形密封 |
| Outer Ring profile | IOP | 優化的 INA 輪廓 |
| Relubrication feature | IR | 透過內環 |