PRODUCTS
- 首頁
- 產品介紹
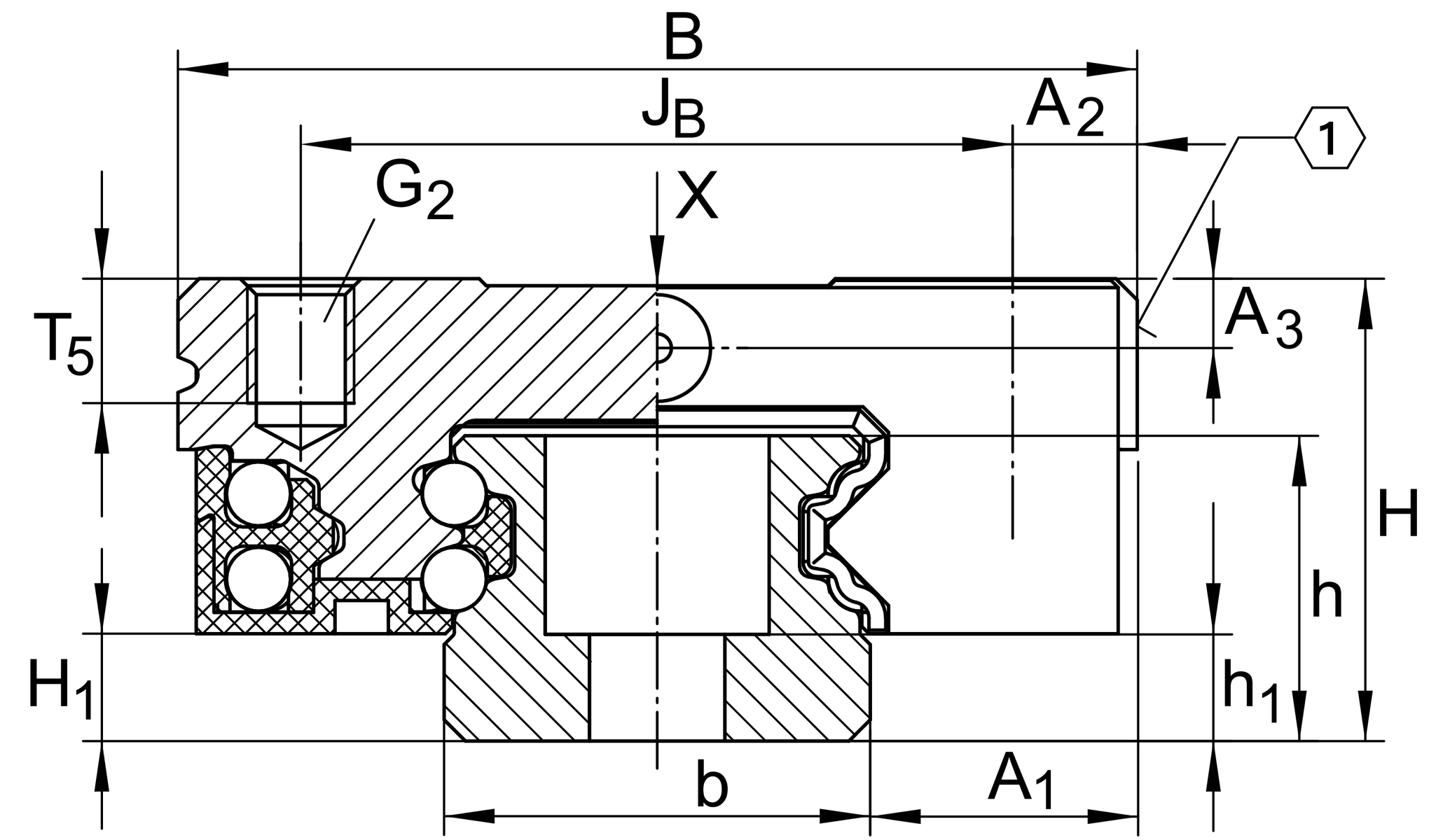
| H | 13 mm | Height system |
| B | 27 mm | Width carriage |
| L | 35.8 mm | Overall length carriage |
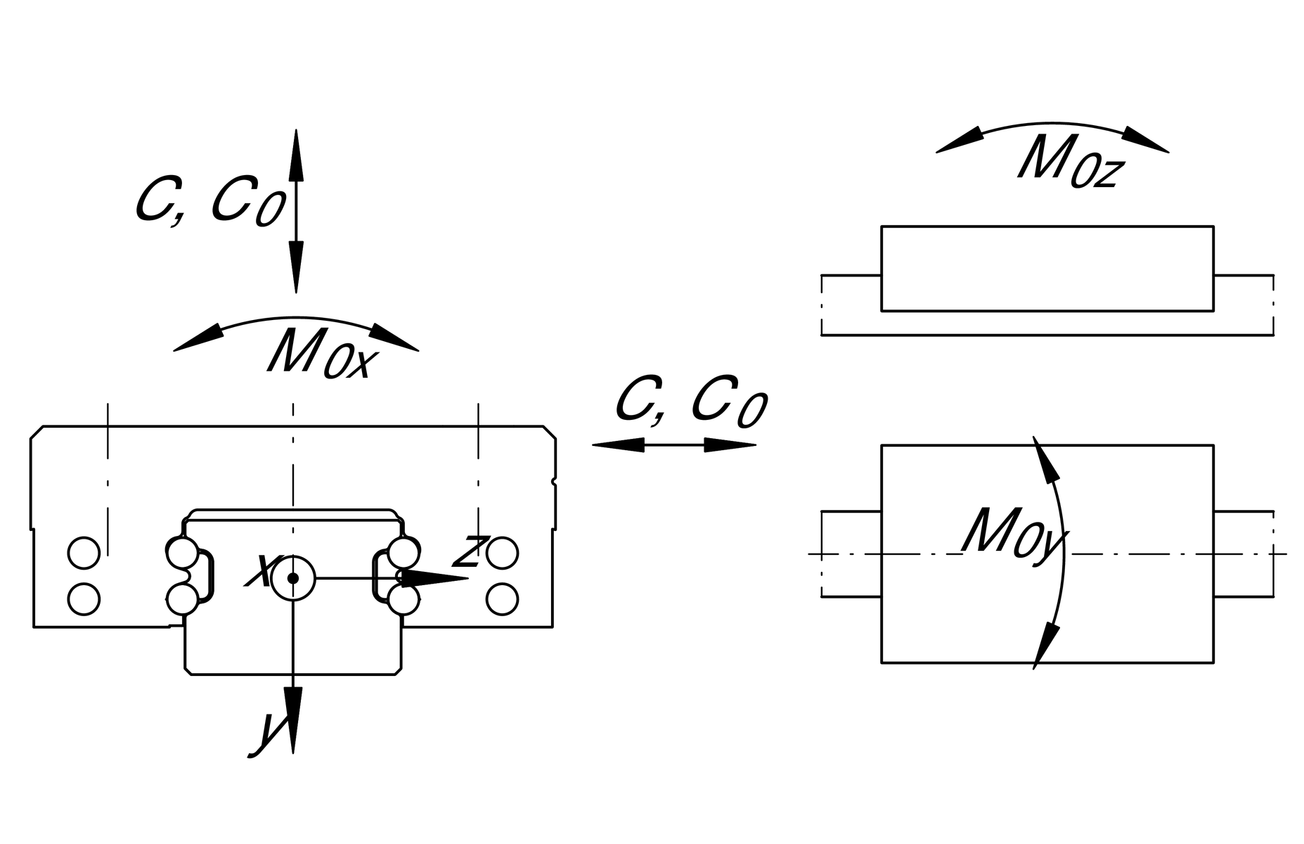
| C | 2,900 N | Dynamic load rating |
| C0 | 5,200 N | Static load rating |
| M0x | 33 Nm | Static moment rating about X axis |
| M0y | 17 Nm | Static moment rating about Y axis |
| M0z | 17 Nm | Static moment rating about Z axis |
| G2 | M3 | Fixing screws 1 |
| G2 MA | 2.2 Nm | Maximum tightening torque |
| K1 | M3 | Fixing screws 1 |
| K1 MA | 2.2 Nm | Tightening torque |
| A1 | 7.5 mm | Distance |
| A2 | 3.5 mm | Distance |
| A3 | 1.95 mm | Position lubrication connector |
| aL max | 20 mm | Distance 2 |
| aL min | 5 mm | Distance 2 |
| aR max | 20 mm | Distance 2 |
| aR min | 5 mm | Distance 2 |
| b | 12 mm | Width rail |
| H1 | 3 mm | Distance |
| h | 8.6 mm | 高度 |
| h1 | 3 mm | 長度 |
| JB | 20 mm | Mounting dimension |
| JL | 15 mm | Mounting dimension |
| jL | 25 mm | 增量 |
| L1 | 23.2 mm | Carrier length |
| lmax | 1,000 mm | Length maximum 3 |
| T5 | 3.5 mm | 螺紋長度 |
| Size code | 12 | |
| Version | C |