INA
NA4910-2RSR-XL
Needle roller bearing NA4910-2RSR-XL
加入詢價
主要尺寸與性能資料
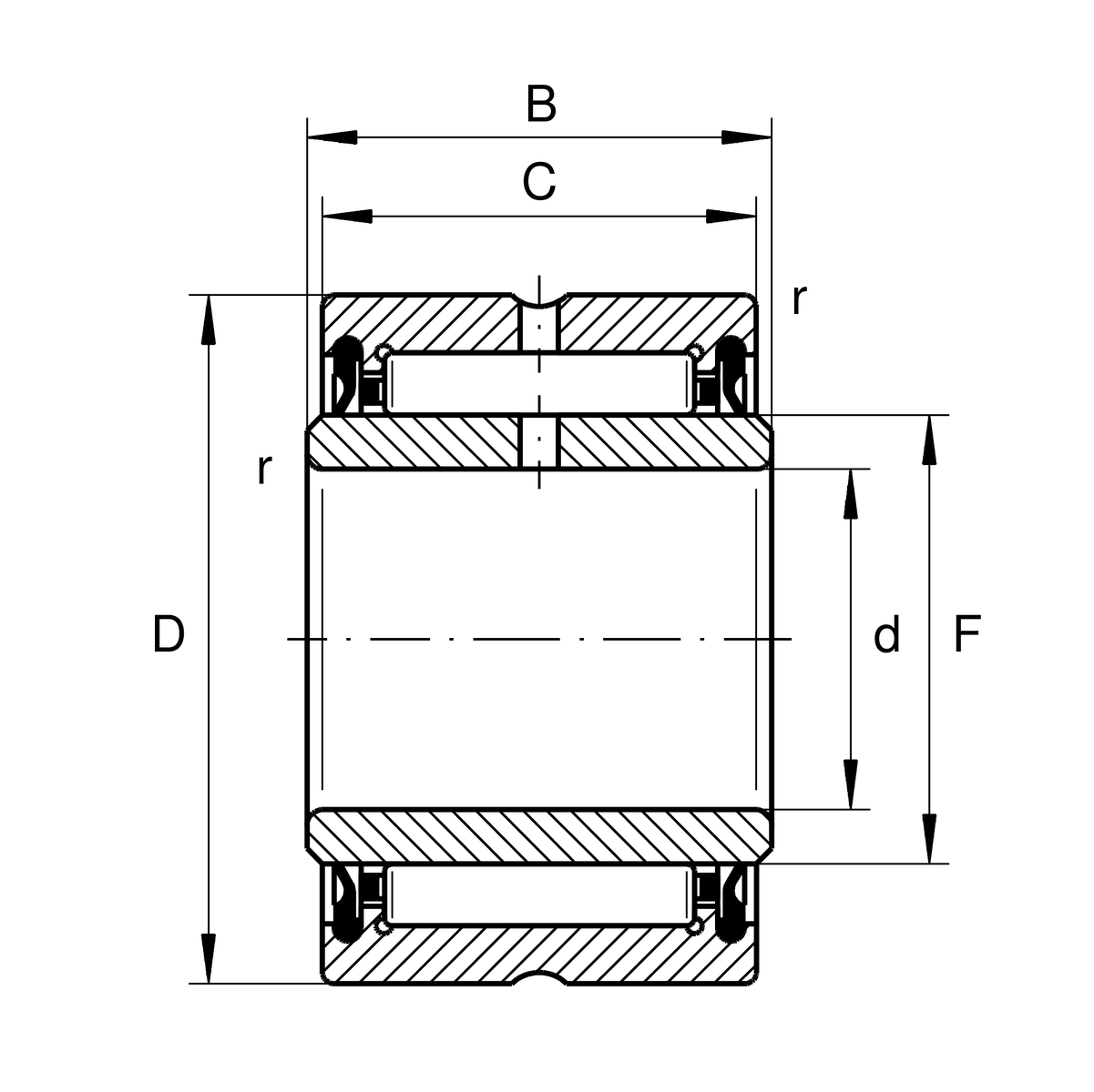
| d | 50 mm | 內徑 |
| D | 72 mm | 外徑 |
| B | 23 mm | 內圈寬度 |
| Cr | 45,000 N | 基本額定動載荷,徑向 |
| C0r | 64,000 N | 基本額定靜態負荷,徑向 |
| Cur | 10,800 N | 疲勞負載極限,徑向 |
| nG Grease | 4,650 1/min | 脂潤滑的極限轉度 |
| ≈m | 286.1 g | 重量 |
尺寸
| F | 58 mm | 內圈滾道直徑 |
| C | 22 mm | 外圈寬度 |
| rmin | 0.6 mm | 最小倒角尺寸 |
溫度範圍
| Tmin | -20 °C | 最低工作溫度 |
| Tmax | 100 °C | 最高操作溫度 |
您目前的產品型號
| Sealing | 2RSR | 接觸式密封s on both sides |
| Coating | 沒有 | |
加入詢價
Needle roller bearing NA4910-2RSR-XL
已將您選擇的品項
加入詢價清單
非常感謝您!
選擇更多商品
瀏覽詢價清單