PRODUCTS
- 首頁
- 產品介紹
| h1 | 675 mm | 軸承座 height |
| g | 400 mm | 軸承座 width |
| a | 950 mm | length base |
| ≈m | 446.1 kg | 重量 |
| c | 120 mm | Base height |
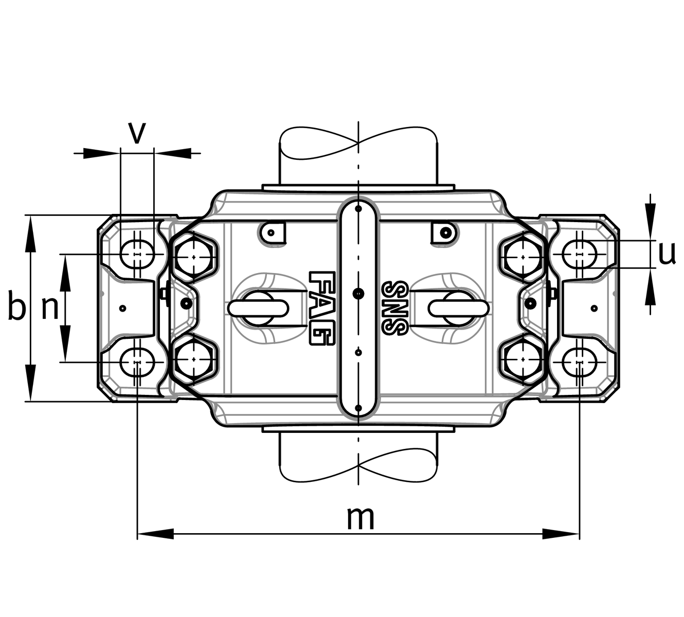
| b | 360 mm | Base width |
| n2 | 220 mm | Base hole distance 2 |
| D | 580 mm | Bearing seat |
| e | 24 mm | Center offset |
| h | 340 mm | Center height |
| k | 210 mm | Bearing seat width |
| m | 810 mm | Base hole distance 1 |
| s | M36 | Screw size base hole fixing |
| u | 42 mm | Base hole width |
| v | 50 mm | Base hole length |
| Material | D | Spheroidal graphite cast iron |