INA
KSR16-L0-12-10-15-08
Roller chain idler sprocket unit KSR16-L0-12-10-15-08
加入詢價
主要尺寸與性能資料
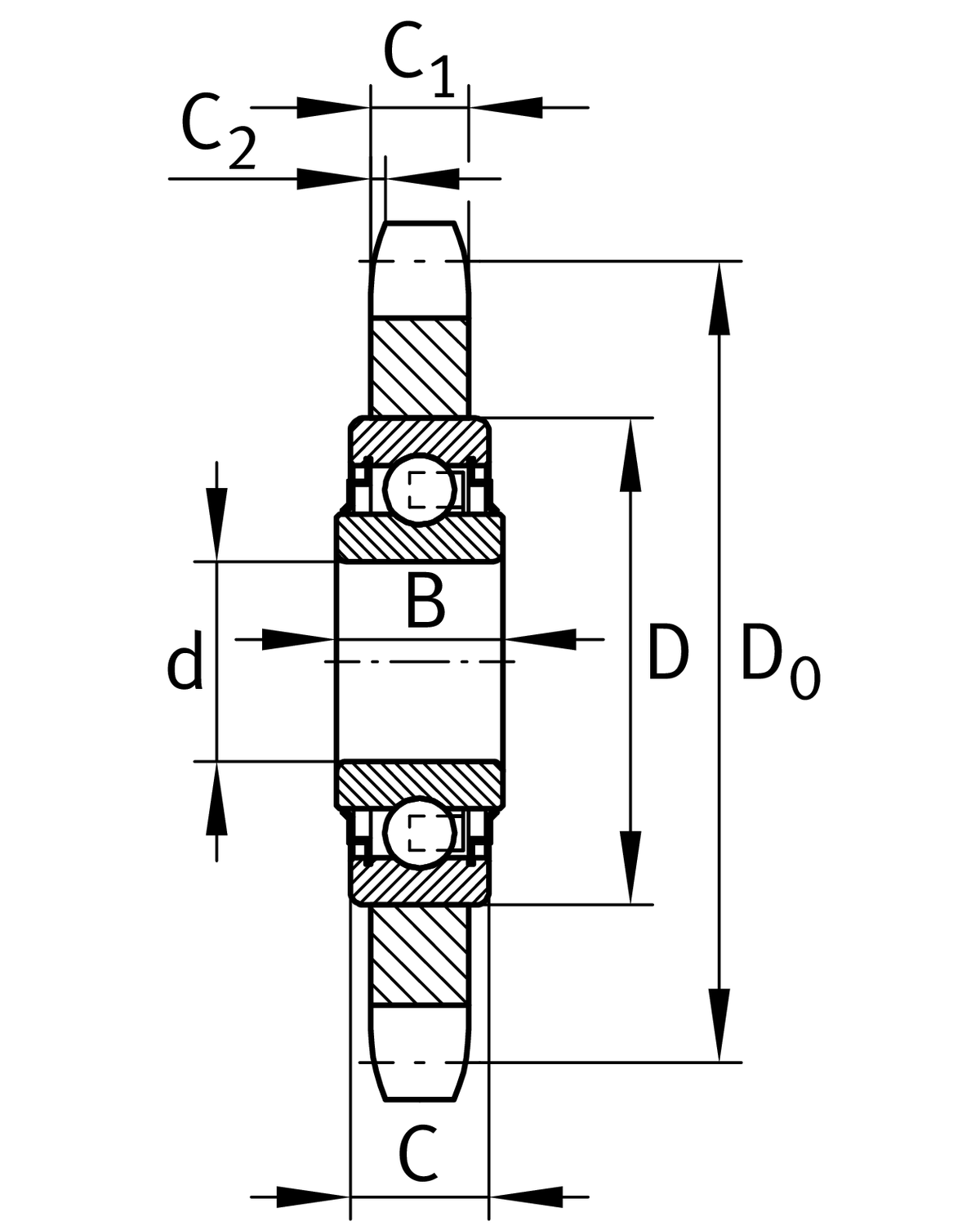
| d | 16.2 mm | 內徑 |
| d | 0.1 mm | 公差上限 |
| d | 0 mm | 較低的公差 |
| C1 | 10.5 mm | 厚度 of sprocket |
| D0 | 91.6 mm | Pitch circle diameter (gearing) |
| Dk | 99.2 mm | Tip diameter (gearing) |
| ≈m | 0.43 kg | 重量 |
安裝尺寸
| p | 19.05 mm | Tooth set |
| z | 15 | Number of teeth |
| x | ISO chain |
| x | ANSI chain |
尺寸
| C2 | 1.5 mm | 倒角寬度 |
| D | 40 mm | 外徑 |
| C | 12 mm | 外圈寬度 |
| B | 18.3 mm | 內圈寬度 |
加入詢價
Roller chain idler sprocket unit KSR16-L0-12-10-15-08
已將您選擇的品項
加入詢價清單
非常感謝您!
選擇更多商品
瀏覽詢價清單