PRODUCTS


FAG
22309-E1-XL-C3>A
Spherical Roller Bearing 22309-E1-XL-C3>A
加入詢價
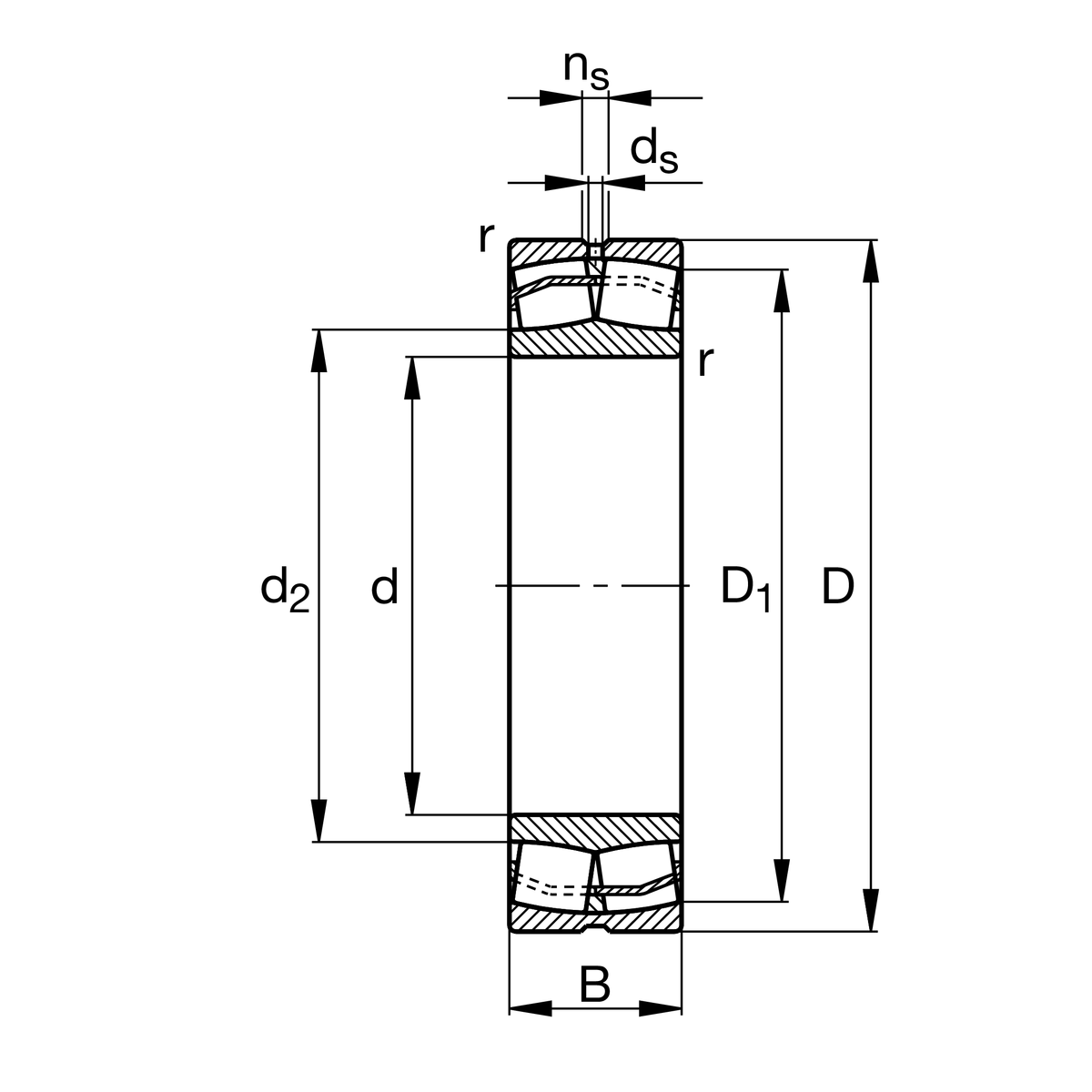
主要尺寸與性能資料
d
45 mm
內徑
D
100 mm
外徑
B
36 mm
寬度
Cr
187,000 N
基本額定動載荷,徑向
C0r
183,000 N
基本額定靜態負荷,徑向
Cur
16,500 N
疲勞負載極限,徑向
nG
6,800 1/min
極限轉速
nϑr
5,000 1/min
參考轉速
≈m
1.368 kg
重量

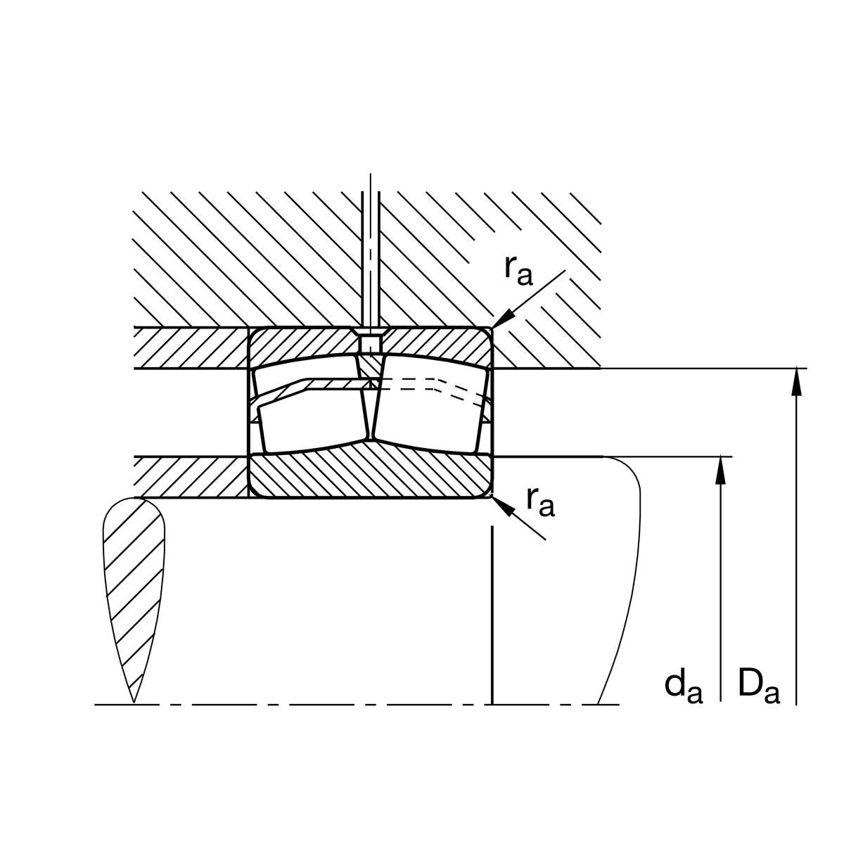
安裝尺寸
da min
54 mm
軸肩最小直徑
Da max
91 mm
殼肩最大直徑
ra max
1.5 mm
最大凹槽半徑

尺寸
rmin
1.5 mm
最小倒角尺寸
D1
84.7 mm
外圈內徑
d2
58.9 mm
內圈的滾道直徑
ds
3.2 mm
潤滑孔直徑
ns
6.5 mm
潤滑溝寬度

溫度範圍
Tmin
-30 °C
最低工作溫度
Tmax
200 °C
最高操作溫度

計算參數s
e
0.36
Fa/Fr對於差分的適用性的限制值。 X 和 Y 參數
Y1
1.9
動態軸向負載係數
Y2
2.83
動態軸向負載係數
Y0
1.86
靜態軸向負荷係數

您目前的產品型號
DesignE1無中心肋
Bore typeZ圓柱
CageJPA金屬板保持架
Radial internal clearanceC3 (Group 3)內部間隙大於CN
Relubrication featureStandard
加入詢價