中軸事業
關於我們
最新消息
技術專欄
產品介紹
型號搜尋
聯絡我們
繁體中文
English
Tiếng Việt
繁體中文
English
Tiếng Việt
PRODUCTS
首頁
產品介紹
FAG
INA
Schaeffler
INA
PAH32
Stop PAH32
加入詢價
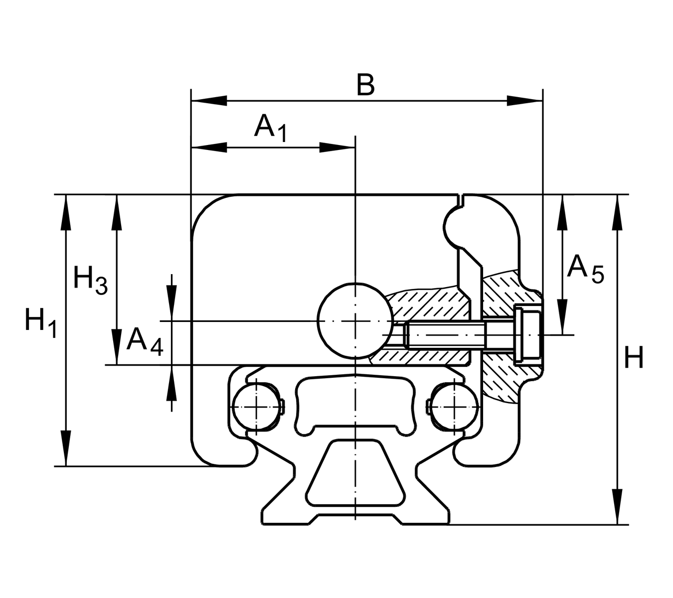
主要尺寸與性能資料
A
1
21
mm
A
4
7
mm
A
5
14
mm
A
6
15
mm
B
46
mm
D
10
mm
H
39
mm
H
1
32
mm
H
3
19
mm
S
30
mm
W
5
mm
≈m
40
g
重量
Related products
LFS
LFS32-C
Compatible with the following guid rail
您目前的產品型號
Size code
20
加入詢價
上一項產品
回到列表
下一項產品
Stop PAH32
已將您選擇的品項
加入詢價清單
非常感謝您!
選擇更多商品
瀏覽詢價清單