PRODUCTS
- 首頁
- 產品介紹
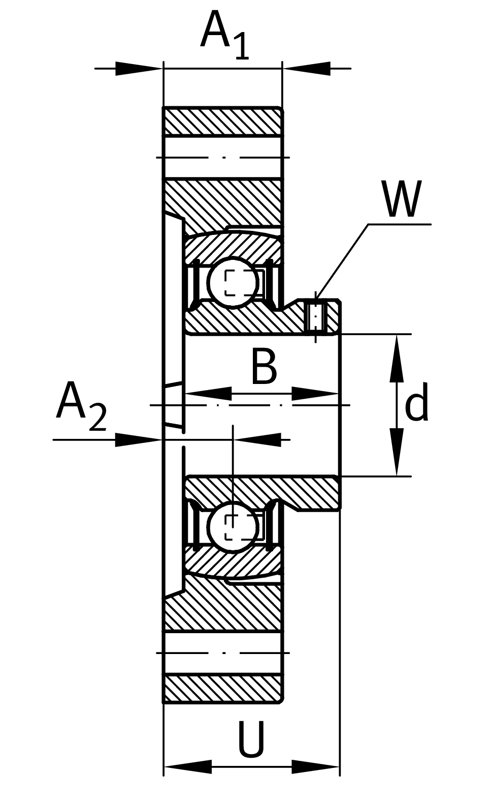
| d | 40 mm | 內徑 |
| L | 100 mm | 法蘭寬度 |
| H | 150 mm | Height flange |
| U | 42.5 mm | 總高度單位 |
| Cr | 32,500 N | 基本額定動載荷,徑向 |
| C0r | 19,800 N | 基本額定靜態負荷,徑向 |
| Cur | 910 N | 疲勞負載極限,徑向 |
| ≈m | 1.28 kg | 重量 |
| J | 119 mm | 固定內孔距離 |
| N | 14 mm | 固定內徑 |
| n | 2 | 螺絲孔數 |
| A1 | 26 mm | 厚度 of flange |
| A2 | 13.5 mm | 滾道距離 |
| B | 39.5 mm | 寬度 |
GEHLCTE08-GG-N | 軸承座 | |
GAY40-XL-NPP-B | 軸承型號 |
| Tmin | -20 °C | 最低工作溫度 |
| Tmax | 100 °C | 最高操作溫度 |
| Groove | N | Cast iron 軸承座 with undercut slot for end caps |
| Material | GG | 灰鑄鐵 |