PRODUCTS
- 首頁
- 產品介紹
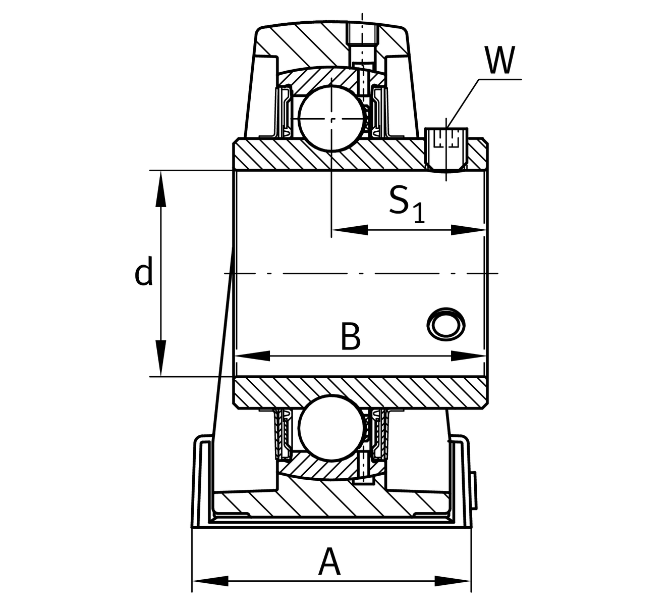
| d | 30 mm | 內徑 |
| L | 165 mm | Length total |
| H2 | 83 mm | 高度 |
| ≈m | 1.349 kg | 重量 |
| J | 121 mm | 固定內孔距離 |
| N | 17 mm | Width (slot) |
| N1 | 21 mm | Length (slot) |
| H | 42.9 mm | Distance shaft axis |
| A | 48 mm | Width (base) |
| H1 | 17 mm | Heigth (base) |
| B | 38.1 mm | 寬度 |
| S1 | 22.2 mm | Distance of raceway to locking collar |
| Q | M6 | 用於潤滑的連接螺紋 |
P206 | 軸承座 | |
UC206 | 軸承型號 |
| Tmin | -20 °C | 最低工作溫度 |
| Tmax | 120 °C | 最高操作溫度 |
| Material | GG | 灰鑄鐵 |
| 軸承座 clearance | J7 | Normal swivel torque |