PRODUCTS
- 首頁
- 產品介紹
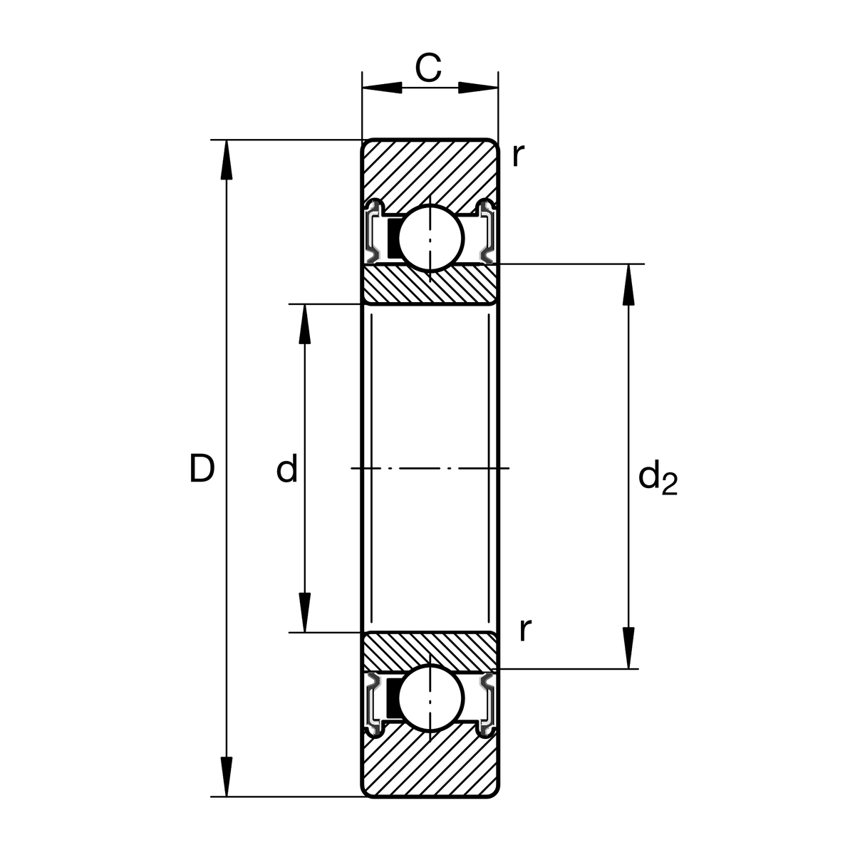
| D | 72 mm | 外徑 |
| d | 30 mm | 內徑 |
| C | 16 mm | 高度 |
| Cr w | 17,600 N | 基本額定動載荷,徑向 |
| C0r w | 9,900 N | 基本額定靜態負荷,徑向 |
| Cur w | 510 N | 疲勞負載極限,徑向 |
| nD G | 5,500 1/min | 永久脂潤滑速度 |
| ≈m | 0.33 kg | 重量 |
| d2 | 37.4 mm | 止推墊圈直徑 |
| rmin | 1 mm | 最小倒角尺寸 |
| R | 500 mm | 外圈外輪廓半徑 |
| Sealing | 2RS | 兩側唇形密封, with axial sealing action |
| Outer Ring profile | X | 圓柱 profile |
| Relubrication feature | 沒有 | 沒有 |