PRODUCTS
- 首頁
- 產品介紹
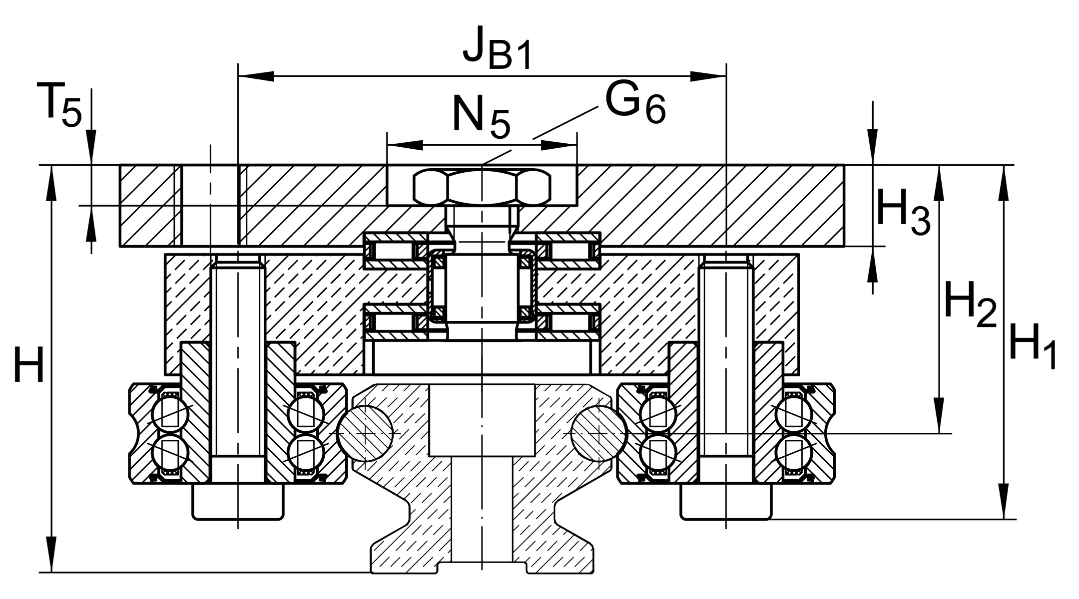
| H1 | 55 mm | |
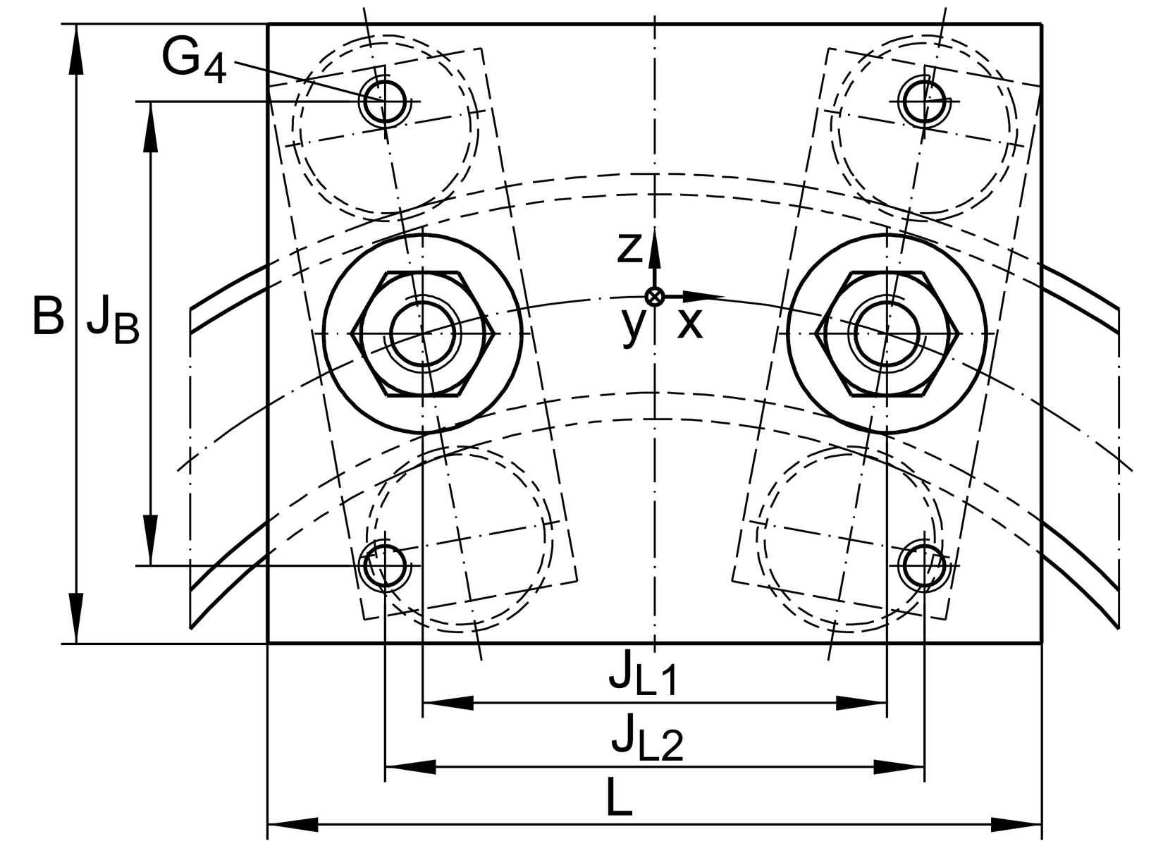
| B | 120 mm | |
| L | 150 mm | |
| ≈m | 3.2 kg | 重量 |
| G4 | M10 | |
| G6 | M10 | |
| H | 66.1 mm | Total height of carriage and rail at LFS, -C, -CE, -CEE, -E, -EE, -N, -NZZ |
| H2 | 41 mm | |
| H2 Tol | 0.3 | |
| H2 Tol | 0 | |
| H3 | 11 mm | |
| JB | 90 mm | |
| JB1 | 83 mm | |
| JL1 | 76 mm | |
| JL2 | 90 mm | |
| N5 | 26 mm | |
| T5 | 6 mm |
| MA | 40 Nm | Tightening torque (standard version) 1 |
| Cy | 10,000 N | 基本額定動載重 in y-direction 2 |
| C0y | 5,200 N | 基本額定靜載重 in y-direction 2 |
| Cz | 16,800 N | 基本額定動載重 in z-direction 2 |
| C0z | 10,000 N | 基本額定靜載重 in z-direction 2 |
| M0x | 110 Nm | static moment about X-axis |
| M0y | 380 Nm | Static moment about Y-axis |
| M0z | 200 Nm | Static moment about Z-axis |
| LFR | LFR5201-10-2Z | Used track roller 3 |
| LFS | LFS52 | Guide rail |
| Size code | 52 | |
| Setting | SF |