PRODUCTS
- 首頁
- 產品介紹
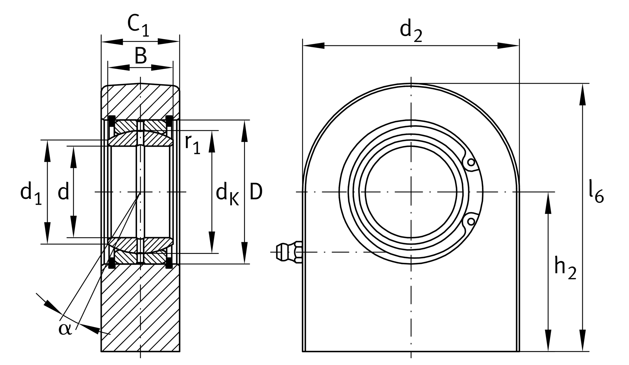
| Cr | 655,000 N | 基本額定動載荷,徑向 |
| C0r | 2,340,000 N | 基本額定靜態負荷,徑向 |
| d | 110 mm | 內徑 bearing |
| d2 | 295 mm | 外眼徑 |
| l6 | 332.5 mm | 總長度 welding head |
| D | 160 mm | 外徑 bearing |
| B | 70 mm | 內圈寬度 |
| ≈m | 49 kg | 重量 |
| dK | 140 mm | 球直徑 |
| α | 6 ° | 傾斜角度 |
| C1 | 80 mm | 桿端寬度 |
| C1 max | 85 mm | 桿端寬度, max. |
| h2 | 185 mm | Shank Length Welding Head |
| dUT | -0.02 mm | 內徑 bearing, 較低的公差 |
| dOT | 0 mm | 內徑 bearing, 公差上限 |
| BUT | -0.2 mm | 內圈寬度, 較低的公差 |
| BOT | 0 mm | 內圈寬度, 公差上限 |
| Gr | 0,065 - 0,165 | 徑向間隙 |
| Grmax | 0.165 mm | 最大徑向間隙 |
| Grmin | 0.065 mm | 徑向間隙,最小 |
| r1smin | 1 mm | 邊緣間距 |
| d1 | 121.2 mm | 外法蘭直徑 內圈 |
| Tmin | -60 °C | 最低工作溫度 |
| Tmax | 200 °C | 最高操作溫度 |
| Sealing | 沒有 |