PRODUCTS
- 首頁
- 產品介紹
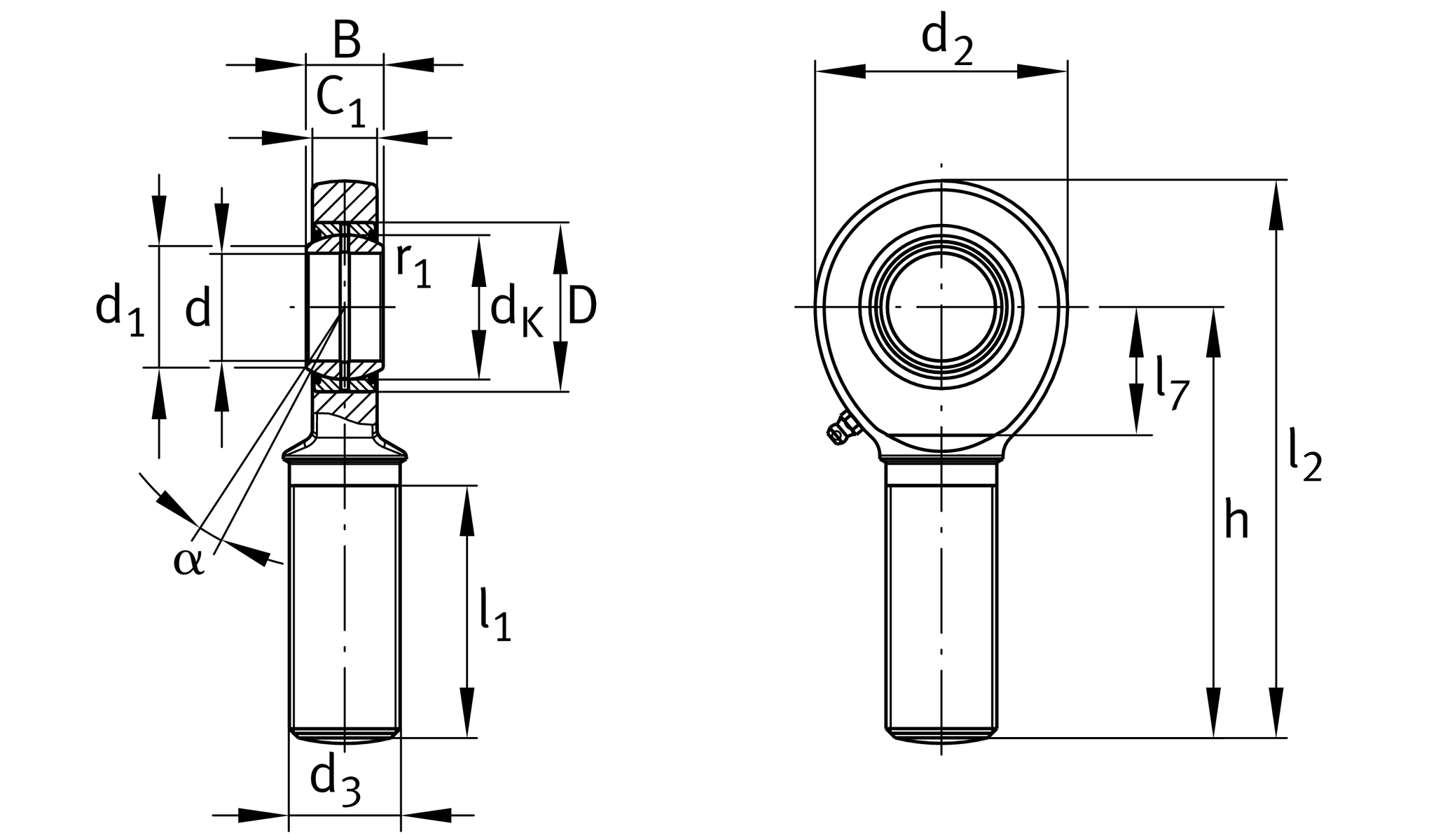
| Cr | 48,300 N | 基本額定動載荷,徑向 |
| C0r | 88,300 N | 基本額定靜態負荷,徑向 |
| d | 25 mm | 內徑 bearing |
| D | 42 mm | 外徑 bearing |
| l2 | 126 mm | 總長度 external thread head |
| B | 20 mm | 內圈寬度 |
| d2 | 64 mm | 外眼徑 |
| ≈m | 0.6 kg | 重量 |
| d1 | 29.3 mm | 外法蘭直徑 內圈 |
| r1smin | 0.6 mm | 邊緣間距 |
| dK | 35.5 mm | 球直徑 |
| d3 | M24x2 | 螺紋尺寸 |
| h | 94 mm | Shank Length External thread rod |
| C1 | 17 mm | 桿端寬度 |
| α | 7 ° | 傾斜角度 |
| l1 | 53 mm | Shank Length External thread head |
| l7 | 32 mm | 軸心鑽孔起始距離 |
| dOT | 0 mm | 內徑 bearing, 公差上限 |
| dUT | -0.01 mm | 內徑 bearing, 較低的公差 |
| BOT | 0 mm | 內圈寬度, 公差上限 |
| BUT | -0.12 mm | 內圈寬度, 較低的公差 |
| Gr | 0,037 - 0,1 | 徑向間隙 |
| Grmax | 0.1 mm | 最大徑向間隙 |
| Grmin | 0.037 mm | 徑向間隙,最小 |
| Tmin | -30 °C | 最低工作溫度 |
| Tmax | 130 °C | 最高操作溫度 |
| Sealing | 2RS | 兩側唇形密封 |
| Radial internal clearance | CN (Group N) | 正常內部間隙 |