PRODUCTS
- 首頁
- 產品介紹
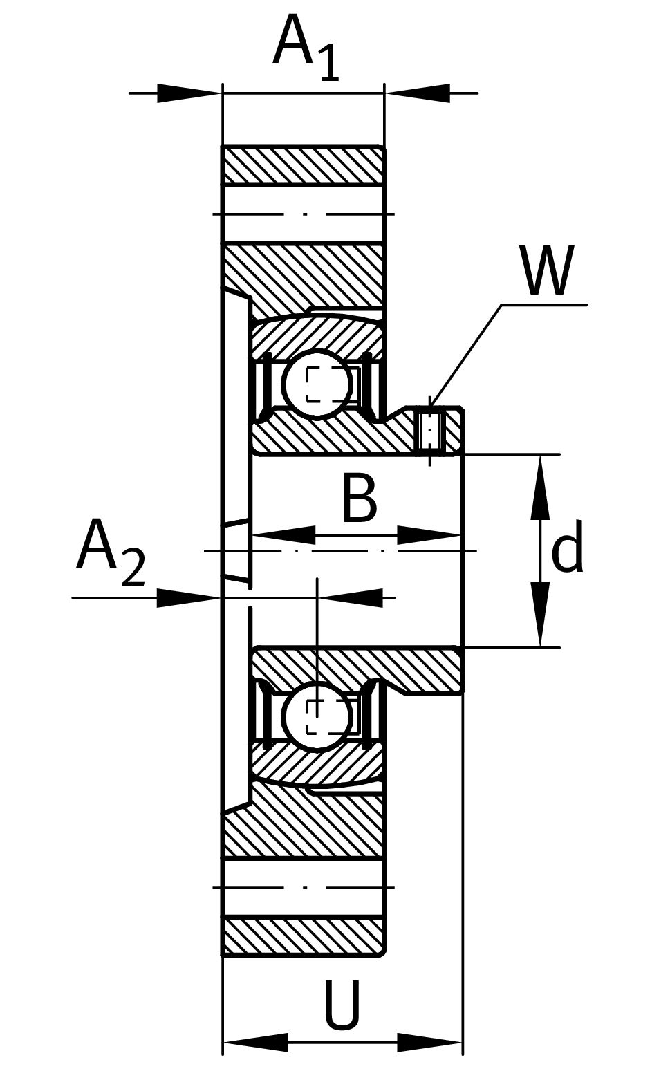
| d | 25 mm | 內徑 |
| L | 71 mm | 法蘭寬度 |
| H | 97 mm | Height flange |
| U | 29.4 mm | 總高度單位 |
| Cr | 14,000 N | 基本額定動載荷,徑向 |
| C0r | 7,800 N | 基本額定靜態負荷,徑向 |
| Cur | 335 N | 疲勞負載極限,徑向 |
| ≈m | 0.43 kg | 重量 |
| J | 76.2 mm | 固定內孔距離 |
| N | 9 mm | 固定內徑 |
| W | 2.5 mm | 平面寬度 |
| n | 2 | 螺絲孔數 |
| A1 | 19.5 mm | 厚度 of flange |
| A2 | 9.9 mm | 滾道距離 |
| B | 27 mm | 寬度 |
LCTE05 | 軸承座 | |
AY25-XL-NPP-B | 軸承型號 |
| Tmin | -20 °C | 最低工作溫度 |
| Tmax | 120 °C | 最高操作溫度 |
| Material | GG | 灰鑄鐵 |