PRODUCTS
- 首頁
- 產品介紹
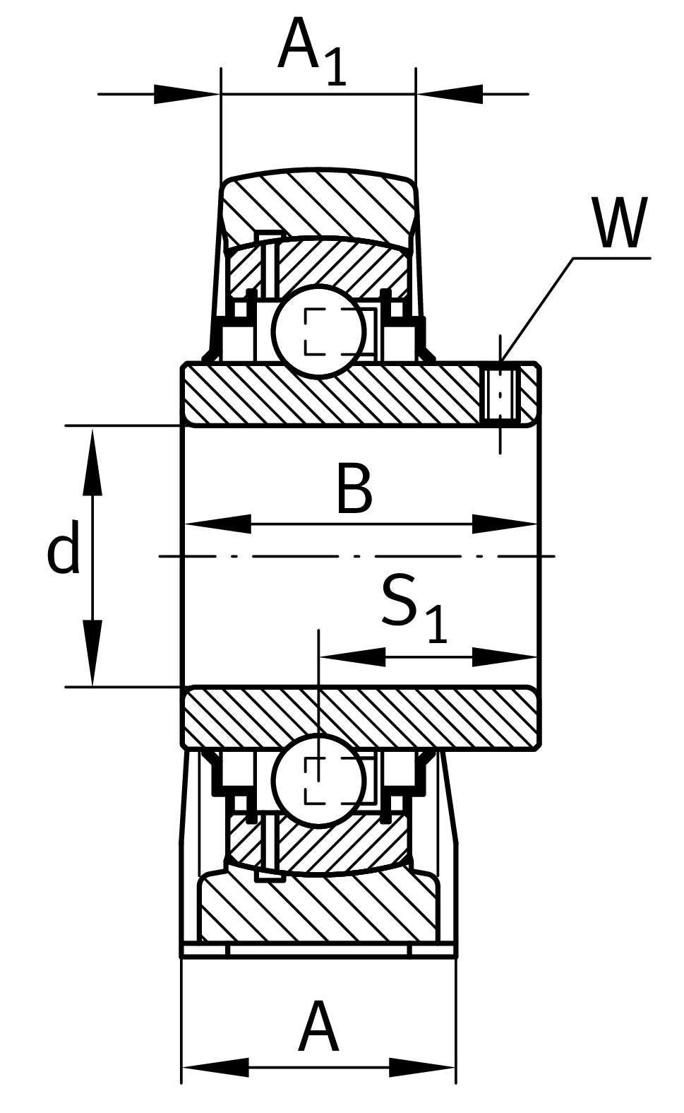
| d | 90 mm | 內徑 |
| L | 330 mm | Length total |
| H2 | 200 mm | 高度 |
| ≈m | 12.39 kg | 重量 |
| J | 268 mm | 固定內孔距離 |
| N | 27 mm | Width (slot) |
| N1 | 35 mm | Length (slot) |
| H | 101.6 mm | Distance shaft axis |
| A | 85 mm | Width (base) |
| A1 | 55 mm | Width (head) |
| H1 | 35 mm | Heigth (base) |
| B | 96 mm | 寬度 |
| S1 | 56.3 mm | Distance of raceway to locking collar |
| Q | M6 | 用於潤滑的連接螺紋 |
ASE18 | 軸承座 | |
GYE90-XL-KRR-B | 軸承型號 |
| Tmin | -20 °C | 最低工作溫度 |
| Tmax | 100 °C | 最高操作溫度 |
| Material | GG | 灰鑄鐵 |