INA
RG.GE560-DF-0611
ring RG.GE560-DF-0611
加入詢價
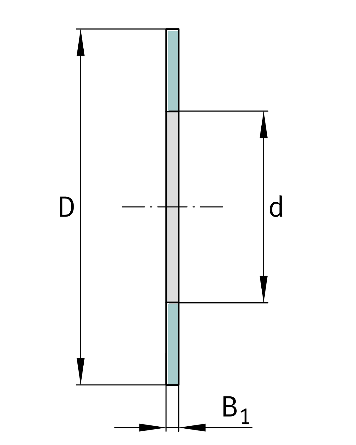
主要尺寸與性能資料
| d | 561 mm | 內徑 |
| D | 740 mm | 外徑 |
| B1 | 52 mm | 高度 |
| ≈m | 57 kg | 重量 |
尺寸
| dUT | -0.8 mm | 內徑, 較低的公差 |
| dOT | 0.8 mm | 內徑, 公差上限 |
| DUT | -0.8 mm | 外徑, 較低的公差 |
| DOT | 0.8 mm | Outer dismeter, 公差上限 |
| B1UT | 0 mm | Height, 較低的公差 |
| B1OT | 1 mm | Height, 公差上限 |
加入詢價