PRODUCTS
- 首頁
- 產品介紹
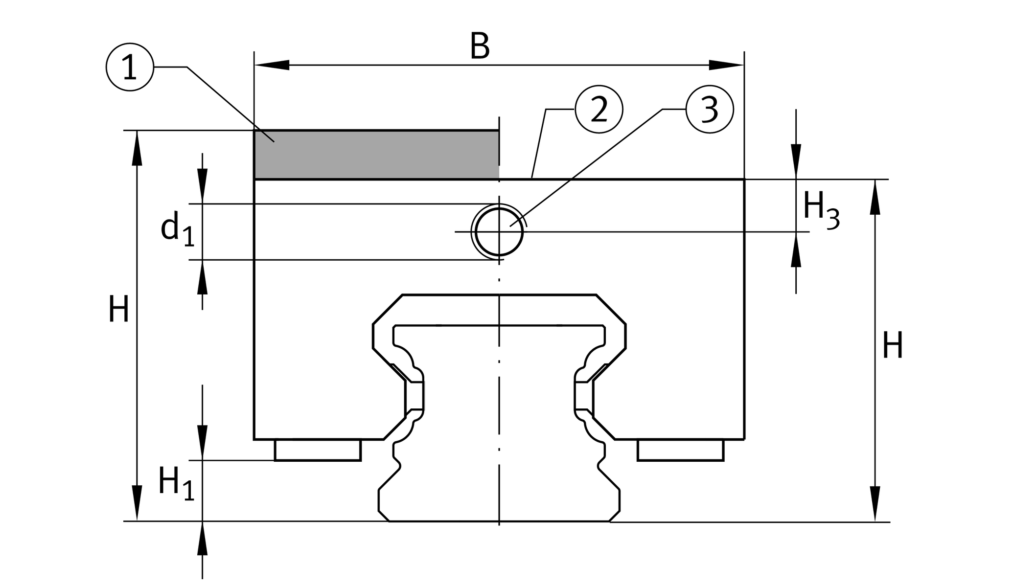
| H | 70 mm | height sytem |
with | adapter plate | |
| B | 85 mm | width of braking and clamping element |
| L | 141 mm | length braking and clamping element |
4,300 N | clamping force 1 | |
| ≈m | 5.2 kg | 重量 |
| JB | 70 mm | hole pattern |
| JC | 60 mm | hole pattern |
| A1 | 15 mm | distance |
| JL | 113 mm | hole pattern |
| C7 | 0 mm | distance |
| H1 | 13 mm | space (system) |
| H3 | 10 mm | mounting dimension |
| AL2 | 5 mm | distance |
| d1 | M8x1 | size thread |
| SO | 7x1,5 | O-ring 2 |
6 mm | max. diameter of the oil feed hole | |
| G2 | M10 | size thread above for DIN ISO 4762-12.9 |
| MA | 83 Nm | tightening torque above 3 |
| Size code | 45 | |
| Design | H | |
| Oil connector | SO | Oil feed from above |