PRODUCTS
- 首頁
- 產品介紹
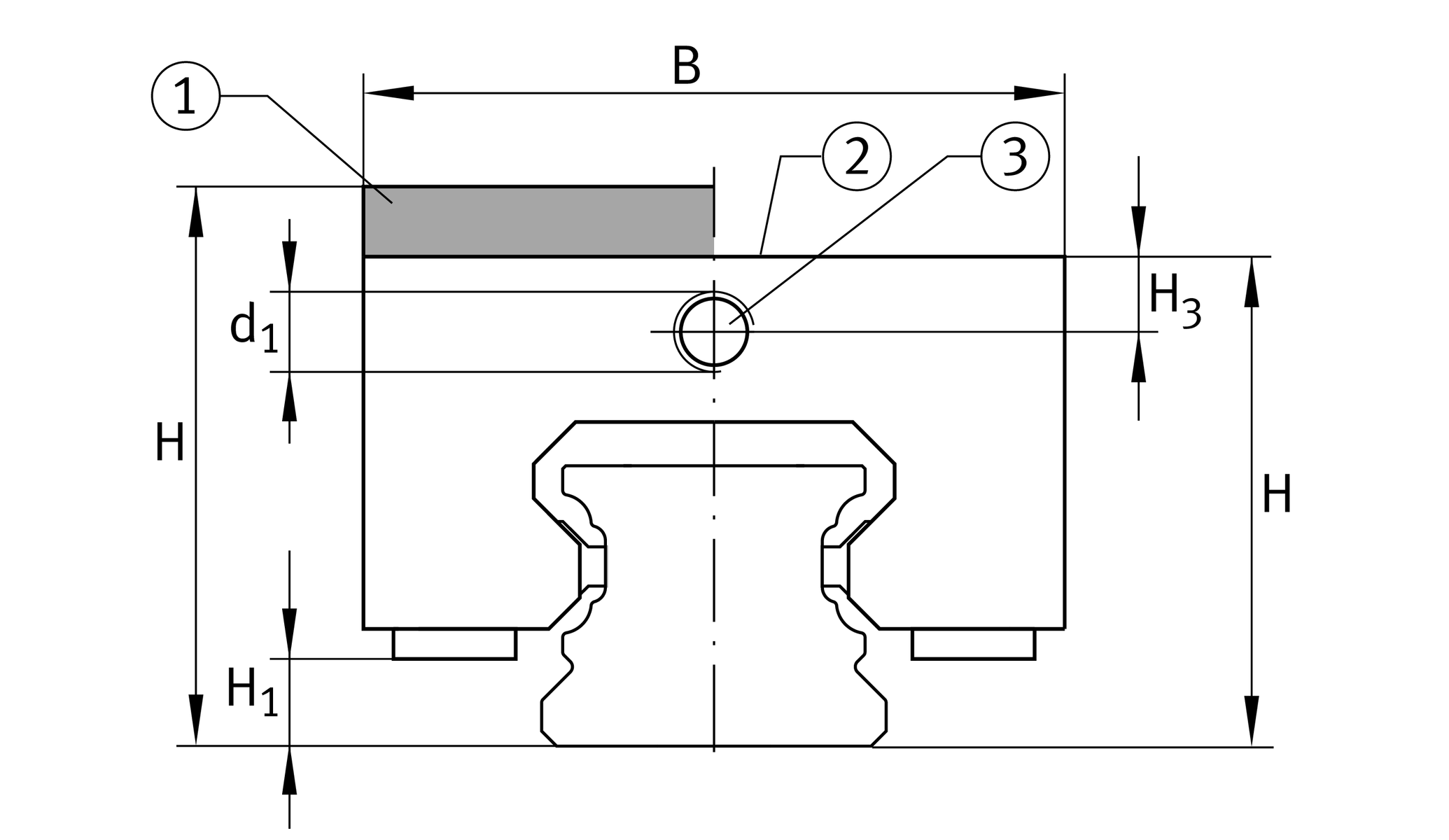
| H | 40 mm | height sytem |
with | adapter plate | |
| B | 47 mm | width of braking and clamping element |
| L | 91 mm | length braking and clamping element |
1,000 N | clamping force 1 | |
| ≈m | 0.78 kg | 重量 |
| JB | 38 mm | hole pattern |
| JC | 34 mm | hole pattern |
| A1 | 10 mm | distance |
| JL | 75 mm | hole pattern |
| H1 | 6.5 mm | space (system) |
| H3 | 6 mm | mounting dimension |
| AL2 | 5 mm | distance |
| d1 | M6x1 | size thread |
| G2 | M6 | size thread above for DIN ISO 4762-12.9 |
| MA | 17.4 Nm | tightening torque above 2 |
| Size code | 25 | |
| Design | H |