PRODUCTS
- 首頁
- 產品介紹
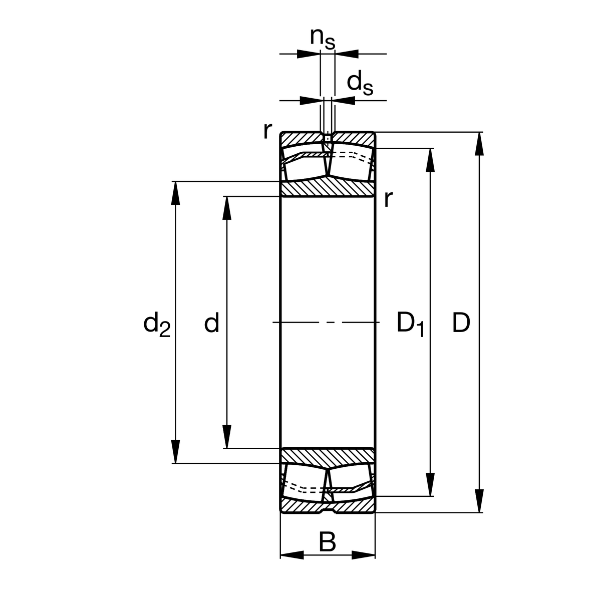
| d | 110 mm | 內徑 |
| D | 240 mm | 外徑 |
| B | 80 mm | 寬度 |
| Cr | 950,000 N | 基本額定動載荷,徑向 |
| C0r | 1,070,000 N | 基本額定靜態負荷,徑向 |
| Cur | 93,000 N | 疲勞負載極限,徑向 |
| nG | 3,000 1/min | 極限轉速 |
| nϑr | 2,130 1/min | 參考轉速 |
| ≈m | 17.714 kg | 重量 |
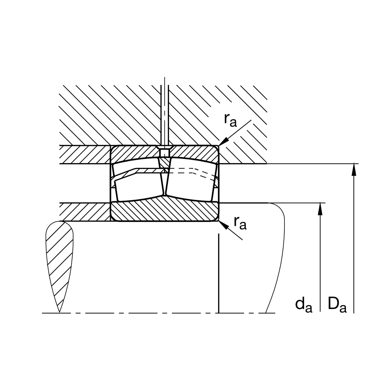
| da min | 124 mm | 軸肩最小直徑 |
| Da max | 226 mm | 殼肩最大直徑 |
| ra max | 2.5 mm | 最大凹槽半徑 |
| rmin | 3 mm | 最小倒角尺寸 |
| D1 | 204.9 mm | 外圈內徑 |
| d2 | 143.1 mm | 內圈的滾道直徑 |
| ds | 8 mm | 潤滑孔直徑 |
| ns | 15 mm | 潤滑溝寬度 |
| Tmin | -30 °C | 最低工作溫度 |
| Tmax | 200 °C | 最高操作溫度 |
| e | 0.33 | Fa/Fr對於差分的適用性的限制值。 X 和 Y 參數 |
| Y1 | 2.07 | 動態軸向負載係數 |
| Y2 | 3.09 | 動態軸向負載係數 |
| Y0 | 2.03 | 靜態軸向負荷係數 |
| Design | E1 | 無中心肋 |
| Bore type | Z | 圓柱 |
| Cage | JPA | 金屬板保持架 |
| Radial internal clearance | C3 (Group 3) | 內部間隙大於CN |
| Relubrication feature | Standard |