PRODUCTS
- 首頁
- 產品介紹
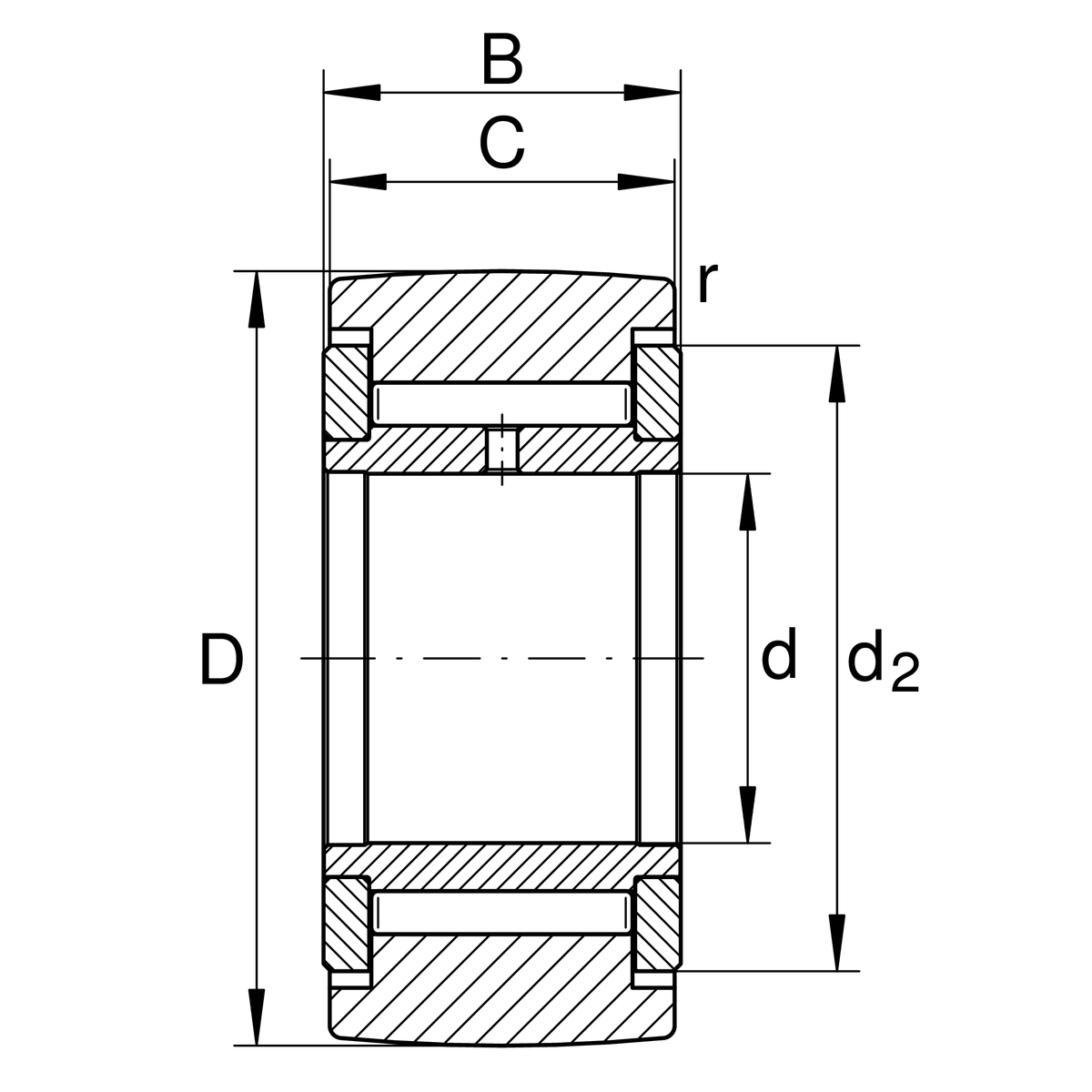
| d | 15 mm | 內徑 |
| D | 35 mm | 外徑 |
| B | 19 mm | Width of the bearing |
| Cr w | 12,700 N | 基本額定動載荷,徑向 |
| C0r w | 23,400 N | 基本額定靜態負荷,徑向 |
| Cur w | 3,250 N | 疲勞負載極限,徑向 |
| nD G | 1,600 1/min | 永久脂潤滑速度 |
| F0r per | 23,400 N | 允許靜態載重,徑向 |
| Fr per | 21,500 N | 外圈允許徑向動態載重 |
| ≈m | 0.105 kg | 重量 |
| C | 18 mm | 外圈寬度 |
| d2 | 27.6 mm | 止推墊圈外徑 |
| rmin | 0.6 mm | 最小倒角尺寸 |
| R | 500 mm | 外圈外輪廓半徑 |
| Sealing | SPSP | 兩側間隙密封 |
| Outer Ring profile | R500 | R500 |