PRODUCTS


FAG
22319-E1-XL-C3
Spherical Roller Bearing 22319-E1-XL-C3
加入詢價
主要尺寸與性能資料
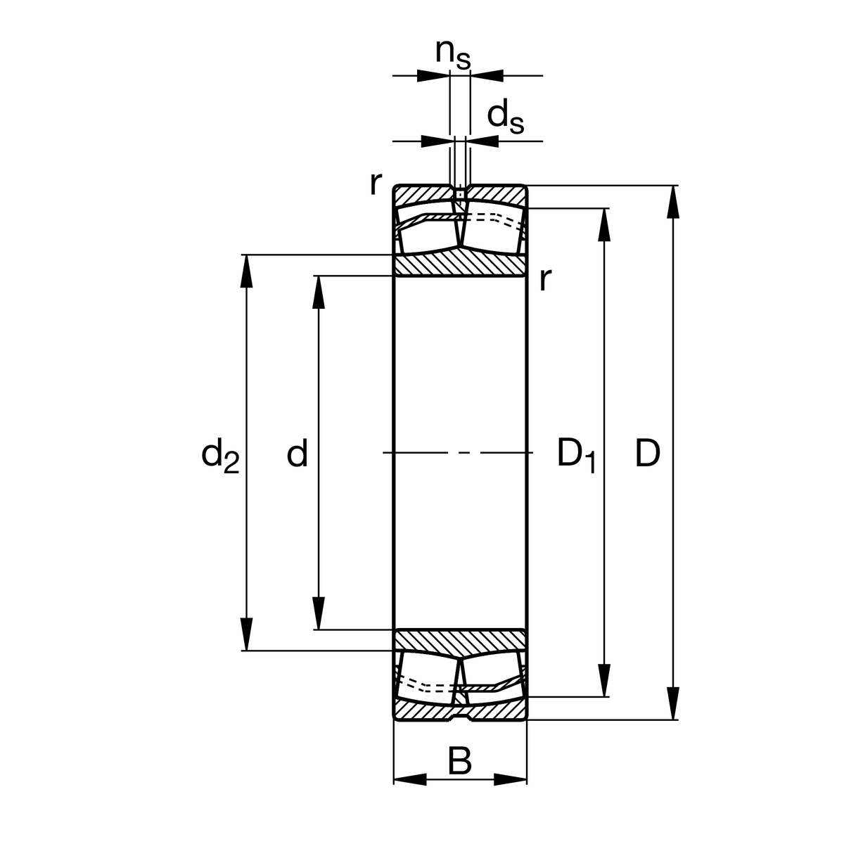
d
95 mm
內徑
D
200 mm
外徑
B
67 mm
寬度
Cr
670,000 N
基本額定動載荷,徑向
C0r
700,000 N
基本額定靜態負荷,徑向
Cur
61,000 N
疲勞負載極限,徑向
nG
3,700 1/min
極限轉速
nϑr
2,800 1/min
參考轉速
≈m
9.912 kg
重量

安裝尺寸
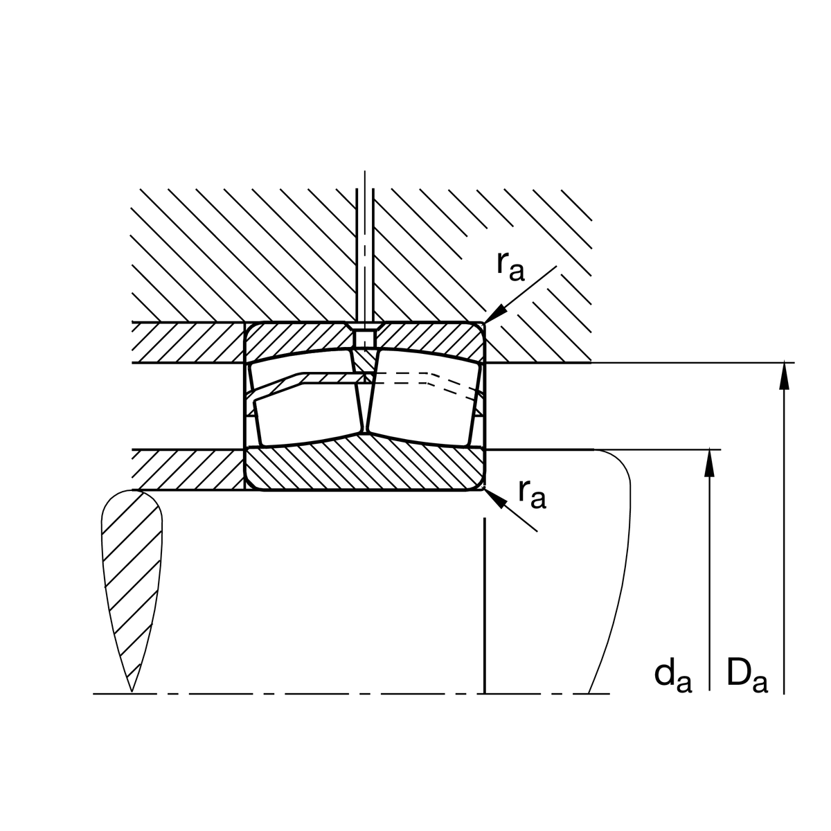
da min
109 mm
軸肩最小直徑
Da max
186 mm
殼肩最大直徑
ra max
2.5 mm
最大凹槽半徑

尺寸
rmin
3 mm
最小倒角尺寸
D1
171.2 mm
外圈內徑
d2
116 mm
內圈的滾道直徑
ds
6.3 mm
潤滑孔直徑
ns
12.2 mm
潤滑溝寬度

溫度範圍
Tmin
-30 °C
最低工作溫度
Tmax
200 °C
最高操作溫度

計算參數s
e
0.33
Fa/Fr對於差分的適用性的限制值。 X 和 Y 參數
Y1
2.03
動態軸向負載係數
Y2
3.02
動態軸向負載係數
Y0
1.98
靜態軸向負荷係數

您目前的產品型號
DesignE1無中心肋
Bore typeZ圓柱
CageJPA金屬板保持架
Radial internal clearanceC3 (Group 3)內部間隙大於CN
Relubrication featureStandard
加入詢價