PRODUCTS
- 首頁
- 產品介紹
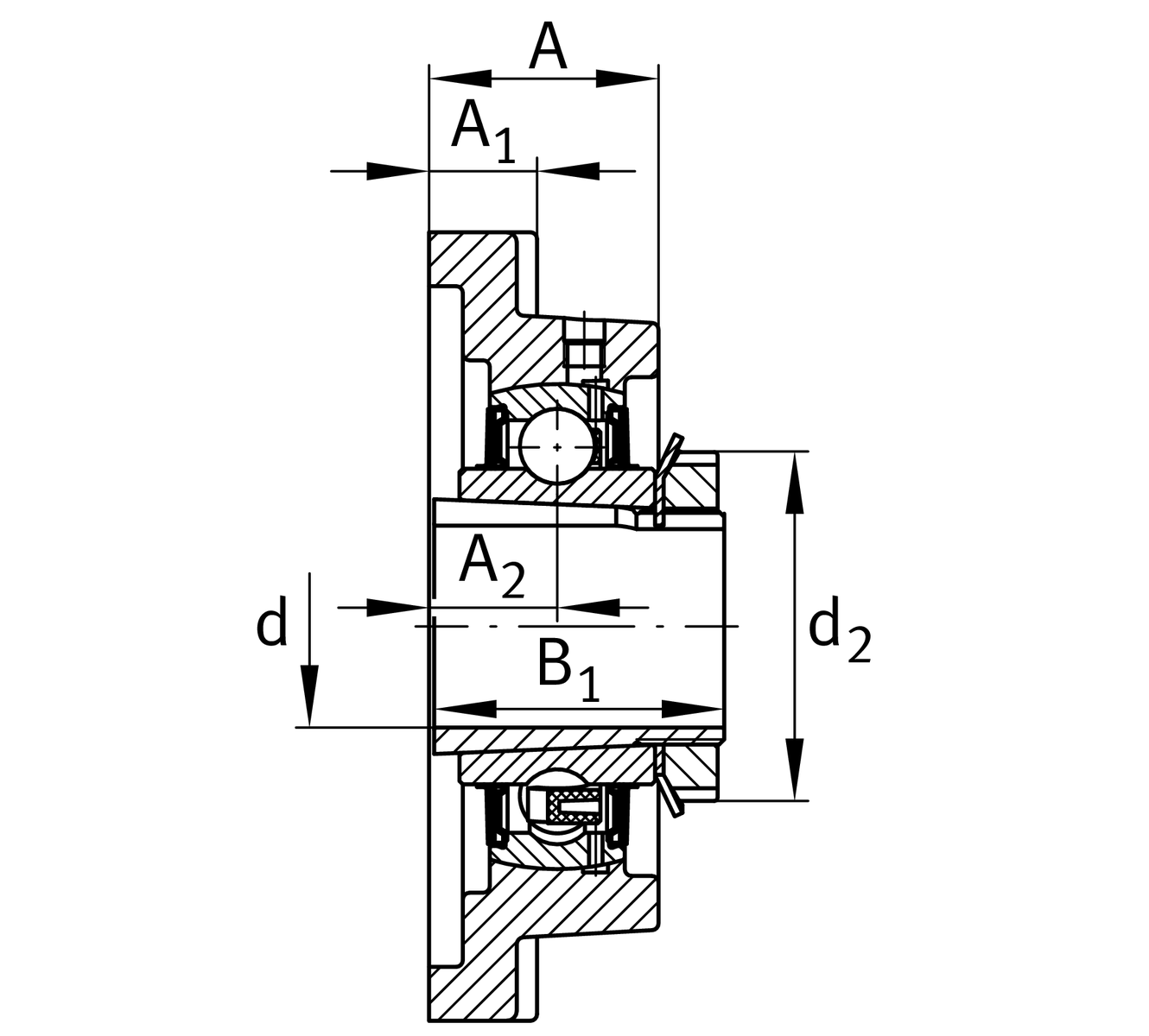
| d | 70 mm | 內徑 |
| L | 208 mm | 法蘭寬度 |
| Cr | 76,000 N | 基本額定動載荷,徑向 |
| C0r | 54,000 N | 基本額定靜態負荷,徑向 |
| Cur | 2,700 N | 疲勞負載極限,徑向 |
| ≈m | 7.93 kg | 重量 |
| J | 165 mm | 固定內孔距離 |
| N | 23 mm | 固定內徑 |
| n | 4 | 螺絲孔數 |
| A | 58 mm | 外殼高度 |
| A1 | 24 mm | 厚度 of flange |
| A2 | 34 mm | 滾道距離 |
| B | 46 mm | 寬度 |
| B1 | 78 mm | 鎖環總寬度 |
| d3 | 105 mm | 外徑 eccentric locking collar |
1 | 外殼數量 | |
F216 | 軸承座 | |
UK216 | 軸承型號 |
| Tmin | -20 °C | 最低工作溫度 |
| Tmax | 120 °C | 最高操作溫度 |
| Material | GG | 灰鑄鐵 |