PRODUCTS
- 首頁
- 產品介紹
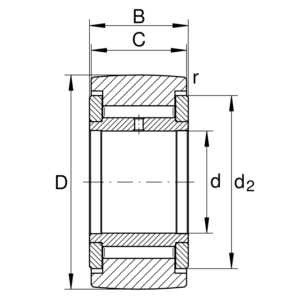
| d | 12 mm | 內徑 |
| D | 32 mm | 外徑 |
| B | 15 mm | Width of the bearing |
| Cr w | 9,600 N | 基本額定動載荷,徑向 |
| C0r w | 15,900 N | 基本額定靜態負荷,徑向 |
| Cur w | 2,210 N | 疲勞負載極限,徑向 |
| nD G | 1,800 1/min | 永久脂潤滑速度 |
| F0r per | 15,900 N | 允許靜態載重,徑向 |
| Fr per | 14,900 N | 外圈允許徑向動態載重 |
| ≈m | 72.997 g | 重量 |
| C | 14 mm | 外圈寬度 |
| d2 | 25 mm | 止推墊圈外徑 |
| rmin | 0.6 mm | 最小倒角尺寸 |
| R | 500 mm | 外圈外輪廓半徑 |
| Sealing | SPSP | 兩側間隙密封 |
| Outer Ring profile | R500 | R500 |