PRODUCTS


FAG
22218-E1-XL-C3>A
Spherical Roller Bearing 22218-E1-XL-C3>A
加入詢價
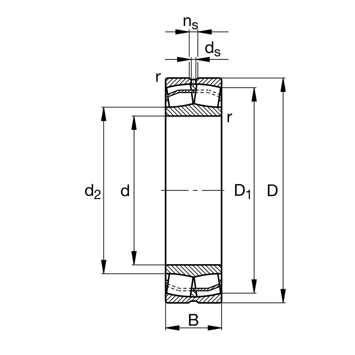
主要尺寸與性能資料
d
90 mm
內徑
D
160 mm
外徑
B
40 mm
寬度
Cr
345,000 N
基本額定動載荷,徑向
C0r
375,000 N
基本額定靜態負荷,徑向
Cur
43,500 N
疲勞負載極限,徑向
nG
5,200 1/min
極限轉速
nϑr
3,400 1/min
參考轉速
≈m
3.36 kg
重量

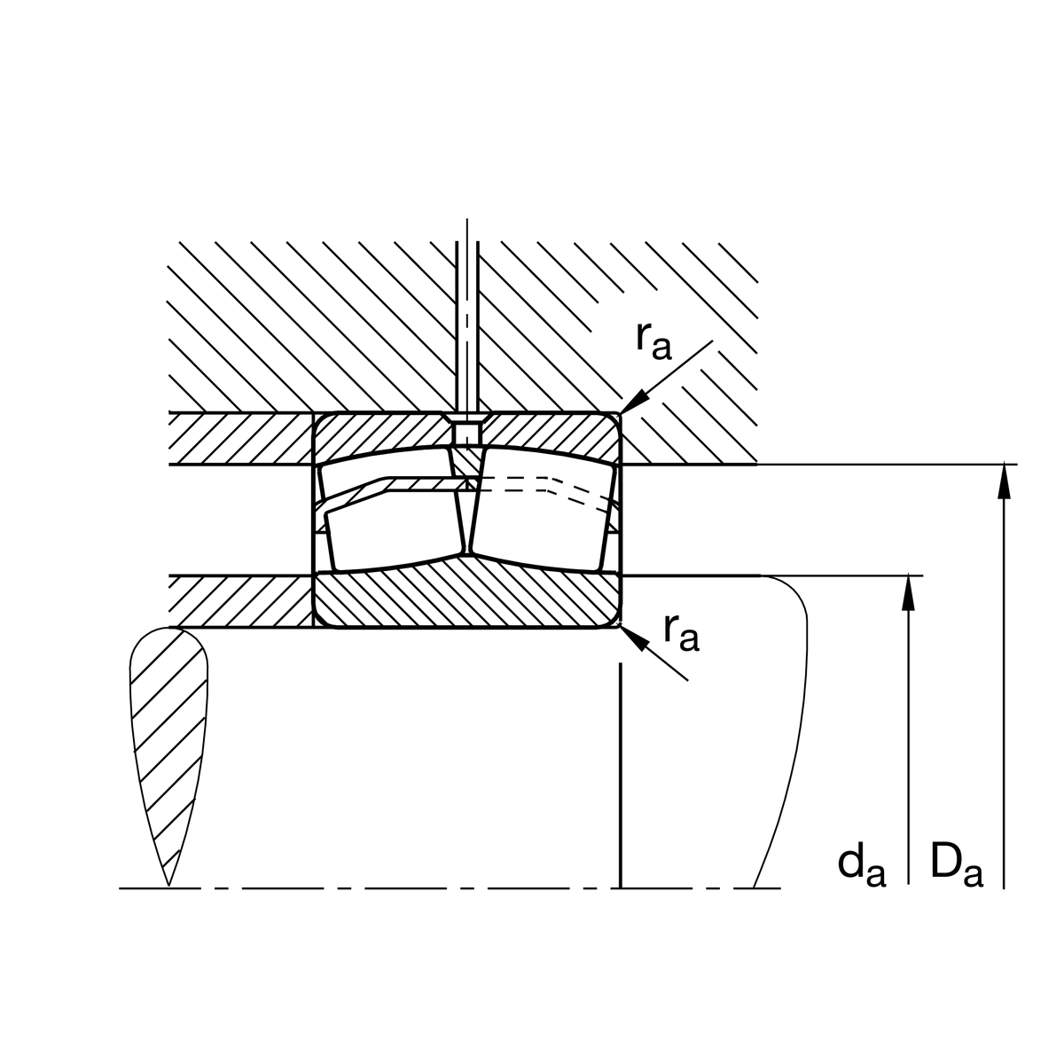
安裝尺寸
da min
101 mm
軸肩最小直徑
Da max
149 mm
殼肩最大直徑
ra max
2 mm
最大凹槽半徑

尺寸
rmin
2 mm
最小倒角尺寸
D1
143.9 mm
外圈內徑
d2
106.1 mm
內圈的滾道直徑
ds
3.2 mm
潤滑孔直徑
ns
6.5 mm
潤滑溝寬度

溫度範圍
Tmin
-30 °C
最低工作溫度
Tmax
200 °C
最高操作溫度

計算參數s
e
0.23
Fa/Fr對於差分的適用性的限制值。 X 和 Y 參數
Y1
2.9
動態軸向負載係數
Y2
4.31
動態軸向負載係數
Y0
2.83
靜態軸向負荷係數

您目前的產品型號
DesignE1無中心肋
Bore typeZ圓柱
CageJPA金屬板保持架
Radial internal clearanceC3 (Group 3)內部間隙大於CN
Relubrication featureStandard
加入詢價