INA
LR6000-2RSR
Track roller LR6000-2RSR
加入詢價
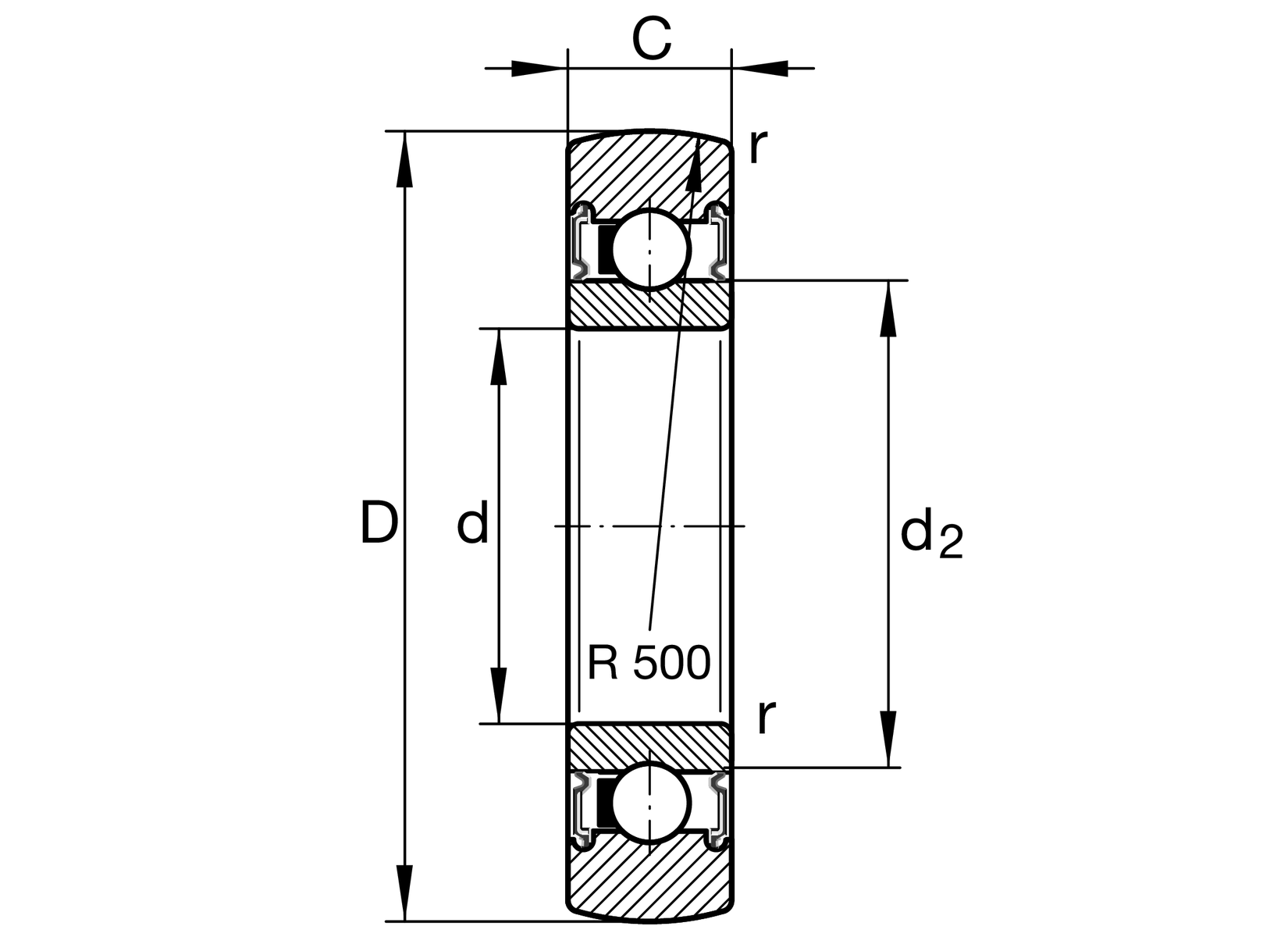
主要尺寸與性能資料
| D | 28 mm | 外徑 |
| d | 10 mm | 內徑 |
| C | 8 mm | 高度 |
| Cr w | 5,000 N | 基本額定動載荷,徑向 |
| C0r w | 2,550 N | 基本額定靜態負荷,徑向 |
| Cur w | 130 N | 疲勞負載極限,徑向 |
| nD G | 16,000 1/min | 永久脂潤滑速度 |
| ≈m | 24 g | 重量 |
尺寸
| d2 | 14.6 mm | 止推墊圈直徑 |
| rmin | 0.3 mm | 最小倒角尺寸 |
| R | 500 mm | 外圈外輪廓半徑 |
您目前的產品型號
| Sealing | 2RSR | 兩側唇形密封,具有徑向密封作用 |
| Outer Ring profile | R500 | R500 |
| Relubrication feature | 沒有 | 沒有 |
加入詢價
Track roller LR6000-2RSR
已將您選擇的品項
加入詢價清單
非常感謝您!
選擇更多商品
瀏覽詢價清單