PRODUCTS
- 首頁
- 產品介紹
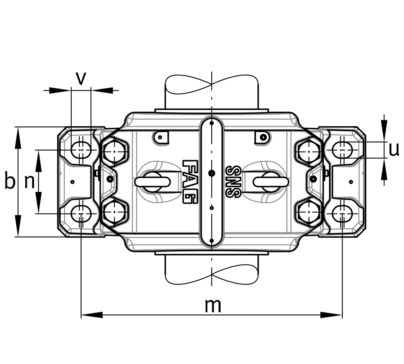
| h1 | 880 mm | 軸承座 height |
| g | 470 mm | 軸承座 width |
| a | 1,280 mm | length base |
| ≈m | 983.4 kg | 重量 |
| c | 145 mm | Base height |
| b | 440 mm | Base width |
| n2 | 260 mm | Base hole distance 2 |
| D | 760 mm | Bearing seat |
| e | 35 mm | Center offset |
| h | 440 mm | Center height |
| k | 284 mm | Bearing seat width |
| m | 1,070 mm | Base hole distance 1 |
| s | M42 | Screw size base hole fixing |
| u | 48 mm | Base hole width |
| v | 60 mm | Base hole length |
| Material | D | Spheroidal graphite cast iron |