PRODUCTS
- 首頁
- 產品介紹
| h1 | 755 mm | 軸承座 height |
| g | 430 mm | 軸承座 width |
| a | 1,120 mm | length base |
| ≈m | 674.2 kg | 重量 |
| c | 125 mm | Base height |
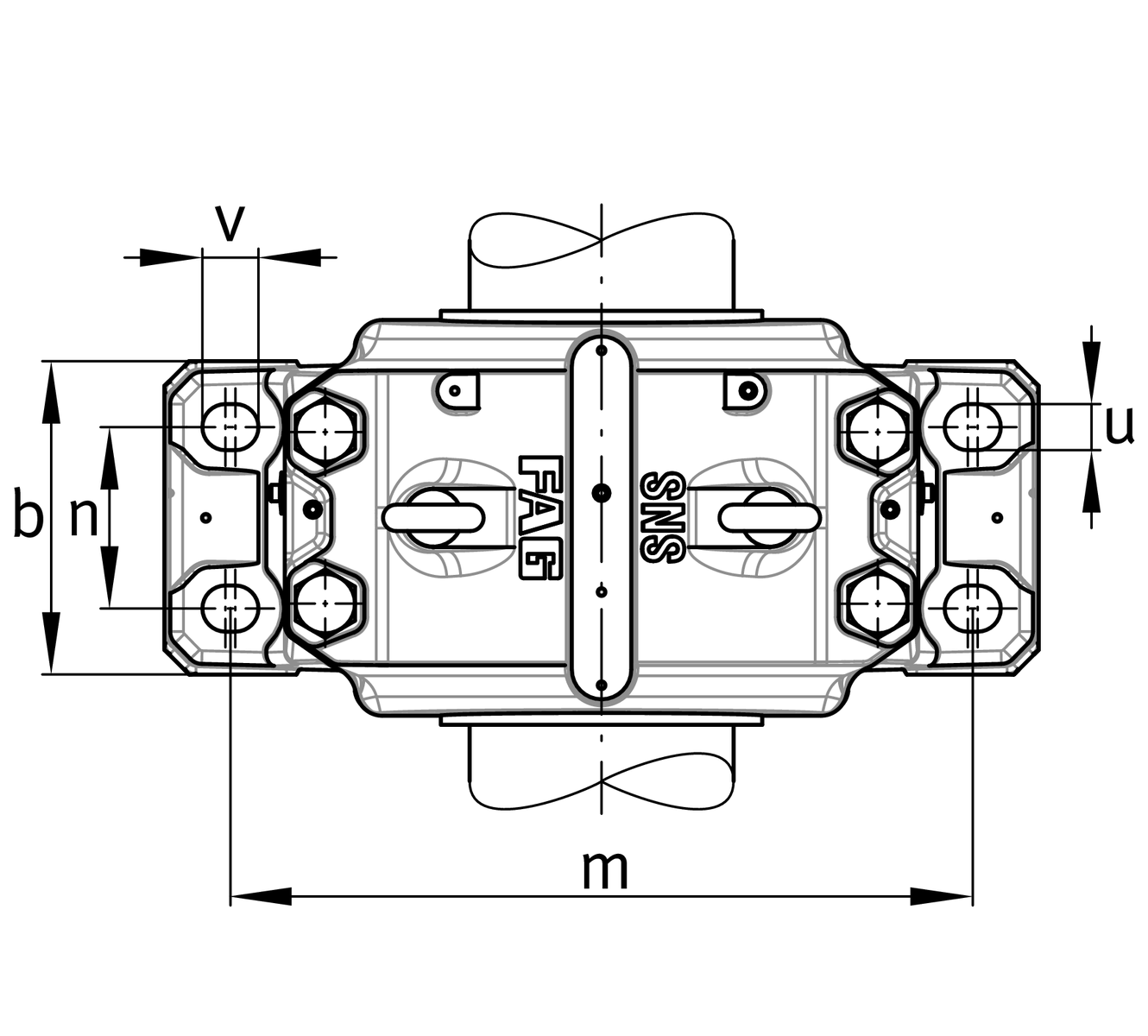
| b | 390 mm | Base width |
| n2 | 240 mm | Base hole distance 2 |
| D | 650 mm | Bearing seat |
| e | 30 mm | Center offset |
| h | 380 mm | Center height |
| k | 252 mm | Bearing seat width |
| m | 950 mm | Base hole distance 1 |
| s | M42 | Screw size base hole fixing |
| u | 48 mm | Base hole width |
| v | 60 mm | Base hole length |
| Material | D | Spheroidal graphite cast iron |