PRODUCTS
- 首頁
- 產品介紹
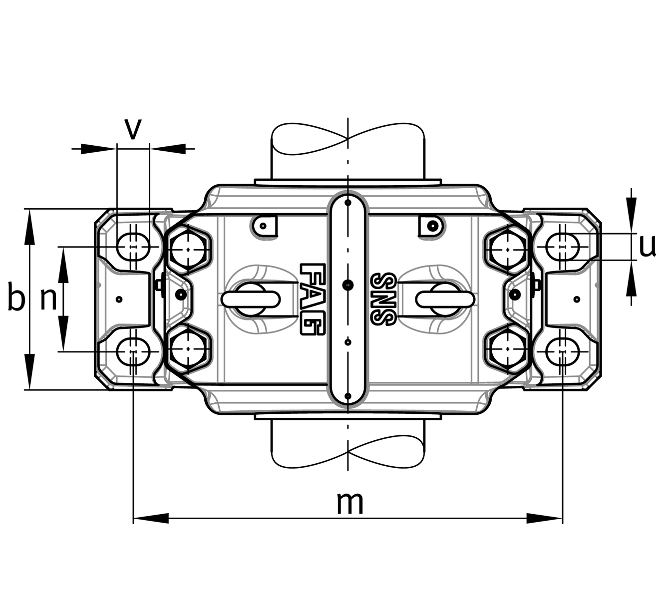
| h1 | 516 mm | 軸承座 height |
| g | 320 mm | 軸承座 width |
| a | 770 mm | length base |
| ≈m | 226.3 kg | 重量 |
| c | 100 mm | Base height |
| b | 280 mm | Base width |
| n2 | 160 mm | Base hole distance 2 |
| D | 440 mm | Bearing seat |
| e | 13 mm | Center offset |
| h | 260 mm | Center height |
| k | 180 mm | Bearing seat width |
| m | 650 mm | Base hole distance 1 |
| s | M36 | Screw size base hole fixing |
| u | 42 mm | Base hole width |
| v | 50 mm | Base hole length |
| Material | D | Spheroidal graphite cast iron |