PRODUCTS
- 首頁
- 產品介紹
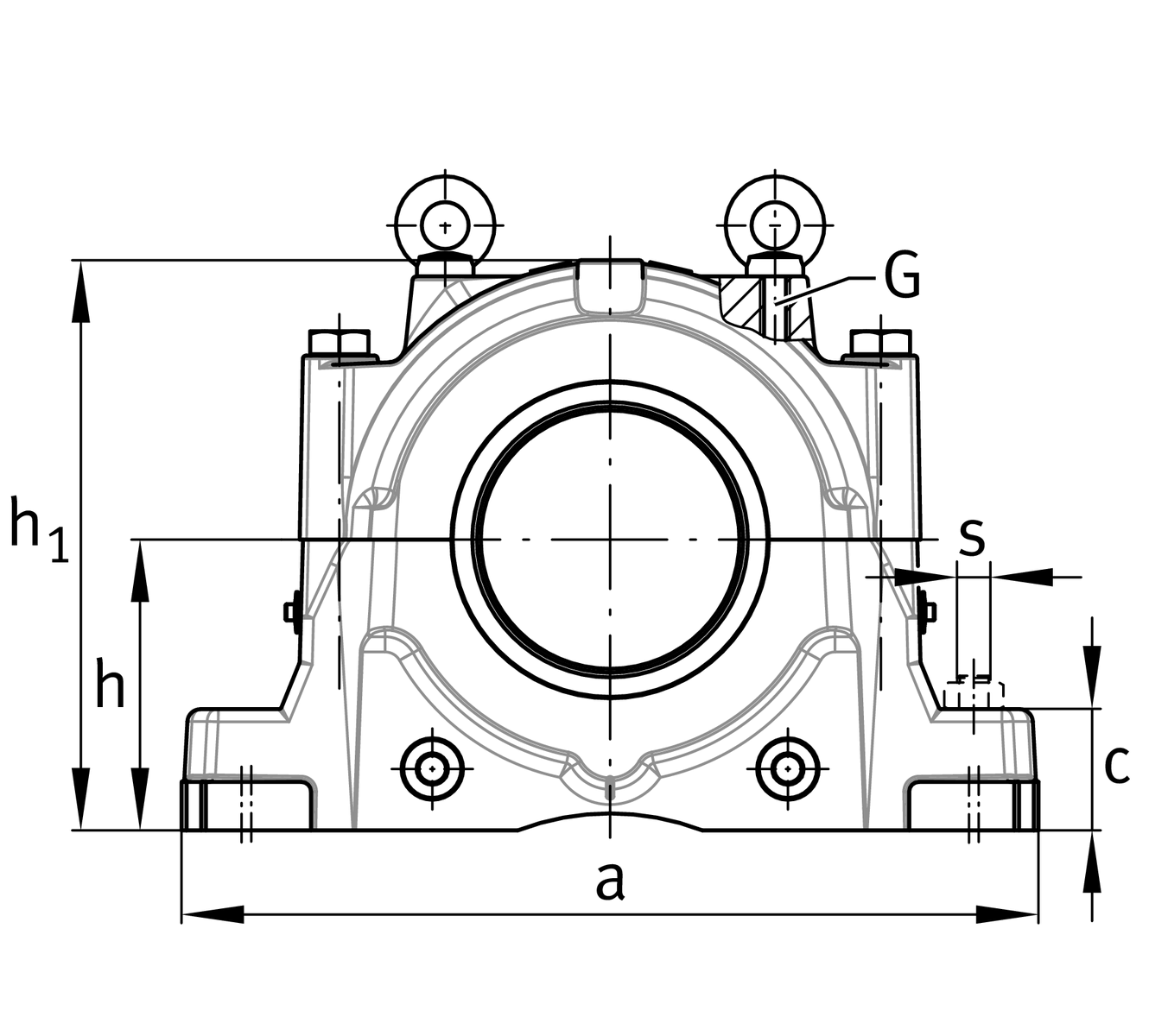
| h1 | 353 mm | 軸承座 height |
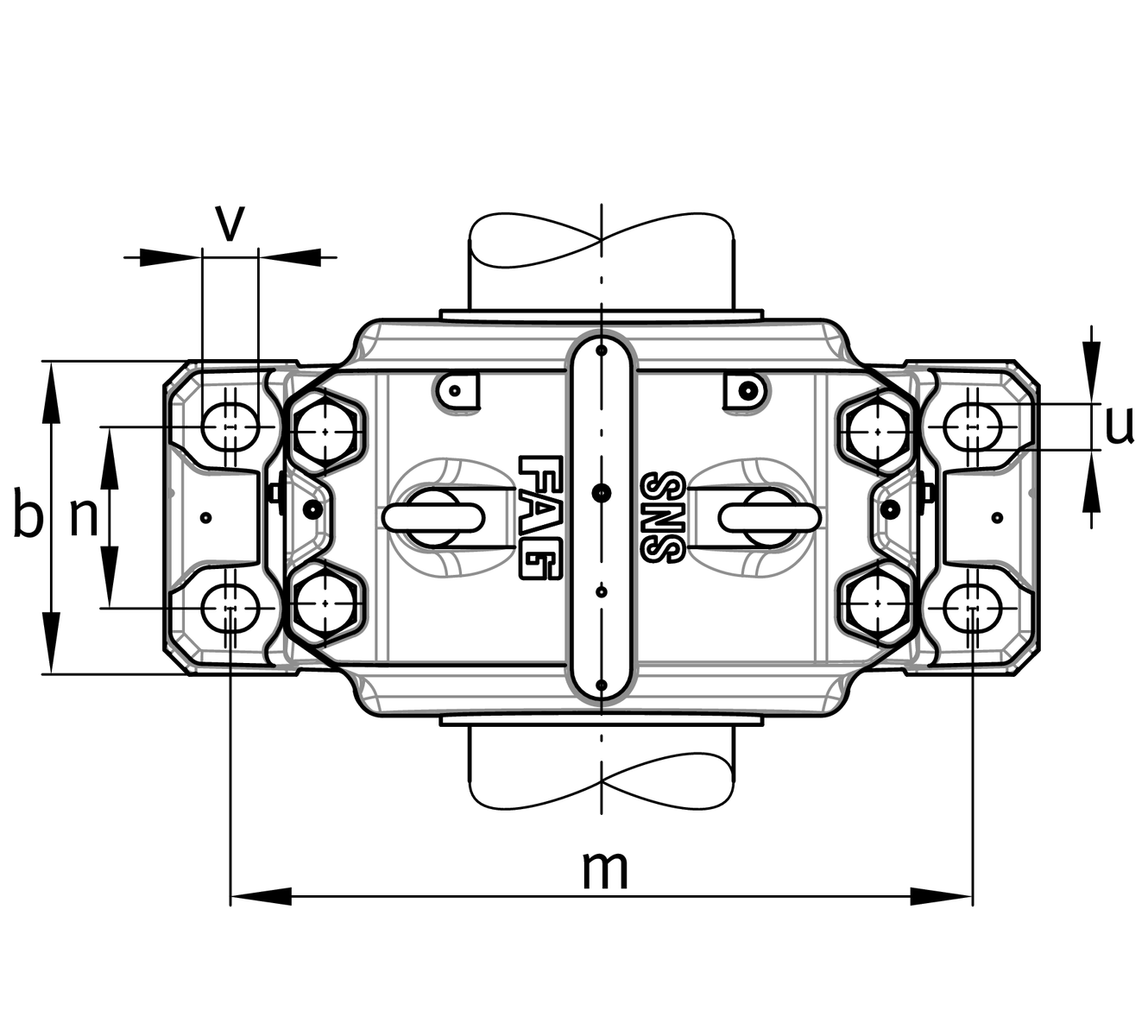
| g | 240 mm | 軸承座 width |
| a | 530 mm | length base |
| ≈m | 82.1 kg | 重量 |
| c | 75 mm | Base height |
| b | 190 mm | Base width |
| n2 | 110 mm | Base hole distance 2 |
| D | 300 mm | Bearing seat |
| e | 15 mm | Center offset |
| h | 180 mm | Center height |
| k | 116 mm | Bearing seat width |
| m | 450 mm | Base hole distance 1 |
| s | M24 | Screw size base hole fixing |
| u | 28 mm | Base hole width |
| v | 34 mm | Base hole length |
| Material | D | Spheroidal graphite cast iron |