PRODUCTS
- 首頁
- 產品介紹
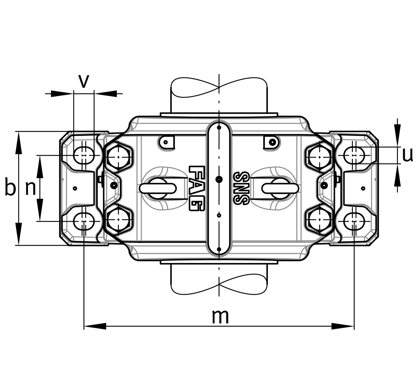
| h1 | 810 mm | 軸承座 height |
| g | 460 mm | 軸承座 width |
| a | 1,170 mm | length base |
| ≈m | 820.2 kg | 重量 |
| c | 130 mm | Base height |
| b | 420 mm | Base width |
| n2 | 260 mm | Base hole distance 2 |
| D | 680 mm | Bearing seat |
| e | 35 mm | Center offset |
| h | 410 mm | Center height |
| k | 224 mm | Bearing seat width |
| m | 1,000 mm | Base hole distance 1 |
| s | M42 | Screw size base hole fixing |
| u | 48 mm | Base hole width |
| v | 60 mm | Base hole length |
| Material | D | Spheroidal graphite cast iron |