PRODUCTS
- 首頁
- 產品介紹
| h1 | 920 mm | 軸承座 height |
| g | 470 mm | 軸承座 width |
| a | 1,330 mm | length base |
| ≈m | 1,079.6 kg | 重量 |
| c | 155 mm | Base height |
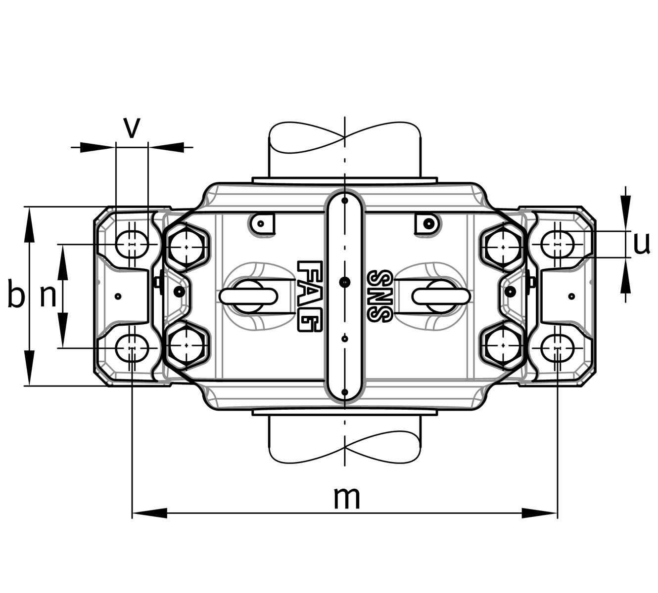
| b | 440 mm | Base width |
| n2 | 260 mm | Base hole distance 2 |
| D | 780 mm | Bearing seat |
| e | 35 mm | Center offset |
| h | 460 mm | Center height |
| k | 248 mm | Bearing seat width |
| m | 1,110 mm | Base hole distance 1 |
| s | M48 | Screw size base hole fixing |
| u | 56 mm | Base hole width |
| v | 70 mm | Base hole length |
| Material | D | Spheroidal graphite cast iron |