PRODUCTS
- 首頁
- 產品介紹
| h1 | 835 mm | 軸承座 height |
| g | 460 mm | 軸承座 width |
| a | 1,220 mm | length base |
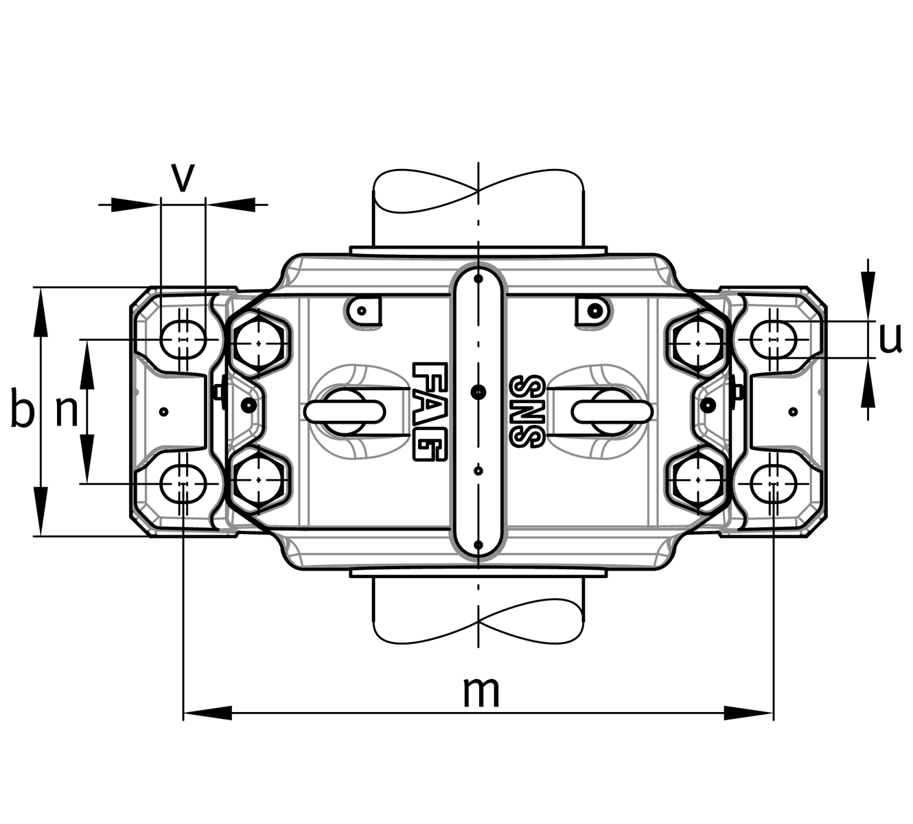
| ≈m | 895 kg | 重量 |
| c | 135 mm | Base height |
| b | 430 mm | Base width |
| n2 | 260 mm | Base hole distance 2 |
| D | 720 mm | Bearing seat |
| e | 35 mm | Center offset |
| h | 420 mm | Center height |
| k | 226 mm | Bearing seat width |
| m | 1,030 mm | Base hole distance 1 |
| s | M42 | Screw size base hole fixing |
| u | 48 mm | Base hole width |
| v | 60 mm | Base hole length |