PRODUCTS
- 首頁
- 產品介紹
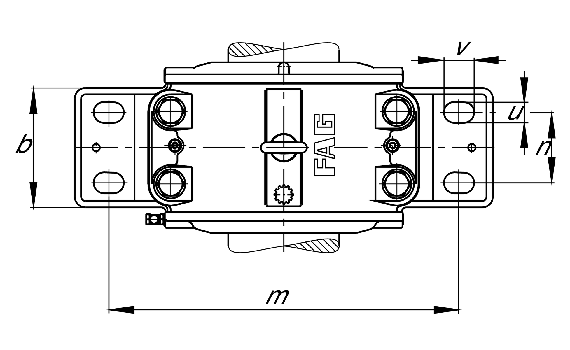
| d | 125 mm | Shaft diameter |
| a | 570 mm | Length base |
| h1 | 355 mm | 高度 |
| g1 | 260 mm | Total width |
| ≈m | 100 kg | 重量 |
| b | 175 mm | width base |
| c | 65 mm | heigth base |
| D | 250 mm | 外徑 bearing |
| g | 180 mm | width 軸承座 body |
| h | 190 mm | center heigth |
| m | 460 mm | 固定內孔距離 |
| n | 100 mm | bore distance width |
| s | M30 | size of fixing screws |
| u | 36 mm | width slot |
| v | 50 mm | length slot |
3.7 l | oil quantity first filling | |
70 mm | maximum heigth oil level | |
55 mm | minimum heigth oil level |
| Tmin | -20 °C | 最低工作溫度 |
| Tmax | 100 °C | 最高操作溫度 |